| № функции | 1 сигнал | 2 сигнала | Фабричная установка |
|---|---|---|---|
| 1 | Пассивная постановка на охрану включена | Пассивная постановка на охрану выключена | Пассивная постановка на охрану включена |
| 2 | Пассивная постановка на охрану с запиранием дверей | Пассивная постановка на охрану без запирания дверей | Пассивная постановка на охрану без запирания дверей |
| 3 | Подтверждающие сигналы сирены включены а) | Подтверждающие сигналы сирены выключены | Подтверждающие сигналы сирены включены |
| 4 | Автоматическое запирание дверей при включении зажигания включено | Автоматическое запирание дверей при включении зажигания выключено | Автоматическое запирание дверей при включении зажигания выключено |
| 5 | Автоматическое отпирание дверей при выключении зажигания включено | Автоматическое отпирание дверей при выключении зажигания выключено | Автоматическое отпирание дверей при выключении зажигания включено |
| 6 | Режим "Паника" с только включением сирены | "Стандартный" режим "Паника" | Режим "Паника" с только включением сирены |
| 7 | При снятии системы с охраны габаритные огни включатся 2 раза | При снятии системы с охраны габаритные огни включатся на 30 секунд | При снятии системы с охраны габаритные огни включатся 2 раза |
| 8 | Включение функции Anti-Hi Jack с помощью 3 канала передатчика b) | Функция Anti- HiJack отключена | Функция Anti-HiJack включена |
| 9 | Постановка системы на охрану через 3 секунды после подтверждающих сигналов сирены с) | Постановка системы на охрану через 45 секунд после подтверждающих сигналов сирены | Постановка системы на охрану через 3 секунды после подтверждающих сигналов сирены. |
| 10 | Длительность импульса, подаваемого на замки дверей - 1 сек. | Длительность импульса, подаваемого на замки дверей - 3,5 сек. | 1 секунда |
| 11 | Функция Фиолетового провода "(+) триггер двери" | Функция Фиолетового провода "Отрицательный вход для подключения 5-проводного электропривода" d) | Функция Фиолетового провода "(+) триггер двери" |
| 12 | Функция Зеленого/Белого провода "Отрицательный выход для дополнительной блокировки Н.З. реле" | Функция Зеленого/Белого провода "Отрицательный выход для управления внутрисалонным освещением" | Функция Зеленого/Белого провода "Отрицательный выход для дополнительной блокировки Н.З. реле" |
Функции №9, № 10, № 11 и № 12 должны программироваться ТОЛЬКО квалифицированным мастером-установщиком при установке системы. Случайное изменение состояние этих функций может привести к неправильной работе или повреждению системы.
Каждый раз, когда Вы входите в режим программирование той или иной функции (даже если Вы при этом хотите сразу же перейти к следующей функции), СИД начнет мигать сериями вспышек в соответствии с номером функции и Вы услышите один или два сигнала сирены, показывающих состояние этой функции. После сигналов сирены Вы можете либо:
Примечание: Не допускайте, чтобы между Вашими действиями прошло больше 15 секунд, иначе система автоматически выйдет из режима программирования, и Вы услышите один длинный сигнал сирены.
Система выйдет из режима программирования, если:
При выходе из режима программирования Вы услышите один длинный сигналы сирены и СИД системы погаснет.
Пример программирования: Включите функцию № 4 (автоматическое запирание дверей при выключении зажигания) и Выключите функцию № 7 (габаритные огни будут включаться на 30 секунд при снятии системы с охраны)
Выберите место для установки центрального блока управления в салоне (например, за или под приборной панелью) и закрепите его при помощи двух прилагаемых шурупов. Центральный блок управления можно также закрепить при помощи пластиковых перетяжек.
Не устанавливайте центральный блок управления в моторном отсеке, так как он не герметичен. Избегайте устанавливать блок непосредственно на имеющиеся в автомобиле электронные блоки. Они могут быть источником радиопомех, уменьшающих радиус действия передатчика или вызывающих перебои в работе.
Выберите место для установки сирены в моторном отсеке, которое хорошо защищено от доступа из-под днища автомобиля. Не размещайте сирену рядом с сильно нагревающимися узлами или движущимися частями в моторном отсеке. Для предотвращения скопления влаги раструб сирены должен быть направлен вниз.
Установите сирену в выбранном месте при помощи входящих в комплект винтов и кронштейна.
В комплект системы входит концевой выключатель для подсоединения для обеспечения охраны капота автомобиля. Выключатель должен всегда устанавливаться на служащую массой металлическую поверхность автомобиля. Важно выбрать такое место, где исключается скопление или протекание воды, избегайте мест стока влаги на стенках крыльев капота или багажника. Выбирайте места, защищенные резиновыми прокладками, когда капот закрыт.
Концевой выключатель может быть установлен с помощью прилагаемой скобы или в монтажном отверстии на 1/4 дюйма (6мм). Помните, что при правильной установке концевой выключатель должен иметь ход как минимум 1/4 дюйма (6 мм) при закрывании капота. Вы можете также установить дополнительный концевой выключатель для обеспечения охраны багажника или задней двери автомобиля.
В комплект входит красный светодиодный индикатор (СИД), который показывает состояние охранной системы. Он должен устанавливаться на приборной панели и быть хорошо виден снаружи автомобиля, но не должен отвлекать водителя. После выбора места установки проверьте возможность прокладки проводов за панелью и убедитесь, что при сверлении отверстия не будут повреждены существующие компоненты.
Просверлите отверстие диаметром 1/4 дюйма (6 мм) и пропустите в него с лицевой стороны панели Красный и Синий провода светодиода. Установите светодиод в просверленное отверстие.
Выберите место установки кнопочного выключателя Valet, которое, с одной стороны, должно быть легко доступно для водителя автомобиля, а с другой стороны, не позволит угонщику быстро найти переключатель Valet и отключить систему. Переключатель может быть установлен, например, в нижней части приборной панели в отверстии диаметром 1/4" (6 мм).
Убедитесь в достаточности места для установки корпуса переключателя под панелью и в том, что сверло не повредит имеющиеся компоненты. При любом методе крепления убедитесь в наличии свободного доступа к задней части переключателя для подсоединения проводов при установке.
Выберите твердую поверхность на переборке между салоном и моторным отсеком внутри салона и установите датчик при помощи двух прилагаемых винтов. Датчик также может быть легко установлен при помощи перетяжек под панелью приборов. При любом методе крепления датчика убедитесь в наличии свободного доступа к датчику для его регулировки.
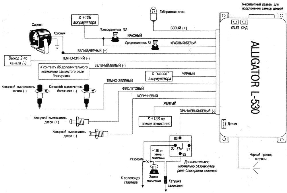
БЕЛЫЙ ПРОВОД: ИМПУЛЬСНЫЙ ВЫХОД НА ГАБАРИТНЫЕ ОГНИ +12В ПОСТ. ТОКА (15А МАКС.)
Этот провод обеспечивает мигание габаритных огней при постановке и снятии системы с охраны, а также при срабатывании системы, при включении режима "Паника" и "Anti-HiJack".
Подсоединение: Если цепь габаритных огней автомобиля положительной полярности, подсоедините БЕЛЫЙ провод к одной из цепей габаритных огней. Если цепь габаритных огней автомобиля отрицательной полярности, необходимо использовать дополнительное реле.
КРАСНЫЙ ПРОВОД С ПРЕДОХРАНИТЕЛЕМ 15А: +12В ПОСТОЯННОГО ТОКА ОТ АККУМУЛЯТОРА
Этот провод подает питание на основной блок системы и на встроенное реле управления габаритными огнями. Подсоедините КРАСНЫЙ провод к +12В постоянного тока от аккумулятора автомобиля.
КРАСНЫЙ/БЕЛЫЙ ПРОВОД С ПРЕДОХРАНИТЕЛЕМ 5А: +12В ПОСТОЯННОГО ТОКА ОТ АККУМУЛЯТОРА
Этот провод подает питание на основной блок системы. Он подсоединен через предохранитель к КРАСНОМУ проводу системы.
БЕЛЫЙ ПРОВОД С ЧЕРНОЙ ПОЛОСОЙ: ПОЛОЖИТЕЛЬНЫЙ ВЫХОД НА СИРЕНУ
Проложите этот провод через резиновую втулку в теплоизоляционной перегородке к месту установки сирены.
Подсоединение: Подсоедините БЕЛЫЙ провод с ЧЕРНОЙ полосой к Красному проводу положительного триггера сирены. Подсоедините Черный провод массы сирены к "земле".
ТЕМНО-СИНИЙ ПРОВОД: ОТРИЦАТЕЛЬНЫЙ ИМПУЛЬСНЫЙ ВЫХОД 200 мА/ КАНАЛ 2.
ТЕМНО-СИНИЙ провод замыкается на "массу" на 0.8 сек. при нажатии и удерживании Кнопки 2 передатчика в течение 3 секунд при снятой охране и выключенном зажигании и чаще всего используется для открывания крышки багажника.
Выход Канала 2 системы будет также работать при включенном зажигании, но только если в этот момент открыта одна из дверей автомобиля. Это предотвратит случайное открывание багажника при движении автомобиля.
Если же выход Канала 2 активизирован при включенном режиме охраны, то в этом случае система одновременно на некоторое время отключит датчик удара и триггер капота/багажника для того, чтобы открывание багажника не вызвало срабатывание системы. После того, как багажник будет закрыт, система опять автоматически возьмет эти цепи под охрану.

Это транзисторный слаботочный выход (200 мА) и должен использоваться только для управления катушкой дополнительного реле.
Подсоединение: Подсоедините ТЕМНО-СИНИЙ провод к клемме # 85 дополнительного 30А реле, подсоедините клемму # 86 к +12В. Подсоедините остальные контакты реле как показано на схеме или в соответствии с выбранной функцией Канала 2 системы.
Внимание! Подсоединение Темно-синего провода непосредственно к сильноточным цепям замка багажника или к некоторым устройствам дистанционного запуска двигателя приведет к повреждению основного блока системы.
ЗЕЛЕНЫЙ/БЕЛЫЙ ПРОВОД: ОТРИЦАТЕЛЬНЫЙ ВЫХОД 200 мА ПРИ ВКЛЮЧЕННОЙ ОХРАНЕ ДЛЯ БЛОКИРОВКИ СТАРТЕРА НОРМАЛЬНО ЗАМКНУТЫМ РЕЛЕ / ОТРИЦАТЕЛЬНЫЙ ВЫХОД ДЛЯ УПРАВЛЕНИЯ ВНУТРИСАЛОННЫМ ОСВЕЩЕНИЕМ (требуется установка дополнительного реле)
Подсоединение: Подсоедините ЗЕЛЕНЫЙ/БЕЛЫЙ провод к клемме # 86 дополнительного реле. Подсоедините клемму # 85 реле к проводу от замка зажигания, на который поступает напряжение +12 В, когда ключ зажигания находится в положении "ЗАПУСК" (CRANK), и присутствует напряжение 0В, когда ключ зажигания находится в любом ином положении.
Перережьте вышенайденный провод от замка зажигания, идущий к соленоиду стартера автомобиля, и подсоедините ту часть обрезанного провода, которая идет от замка зажигания, к клемме 87А реле. Подсоедините другую часть провода к клемме # 30 реле.
Примечание: Обратите внимание на то, что при использовании такого варианта подсоединения питание на реле блокировки будет подаваться только в момент попытки завести двигатель, таким образом, реле блокировки будет потреблять энергию аккумулятора только в момент попытки запуска двигателя.

Подсоединение: Подсоедините ЗЕЛЕНЫЙ/БЕЛЫЙ провод к клемме # 86 дополнительного 30А реле и подсоедините клемму # 85 реле к +12В через предохранитель. Подсоедините остальные контакты реле в соответствии с полярностью цепи внутрисалонного освещения как показано на схемах.
Внимание! Обязательно используйте диод для изолирования цепи управления внутрисалонным освещением от цепи триггера двери. В противном случае не сможет правильно работать функция пассивной постановки на охрану и функция автоматической повторной постановки системы в режим охраны.
ЧЕРНЫЙ ПРОВОД: МАССА
Черный провод подает массу на основной блок системы.
Подсоединение: Подсоедините ЧЕРНЫЙ провод системы к отрицательной клемме аккумулятора или к заземленным частям корпуса автомобиля.
Внимание! Не перепутайте этот провод с тонким Черным проводом антенны, который выходит из центрального блока управления отдельно.
ТЕМНО-ЗЕЛЕНЫЙ ПРОВОД: (-) ТРИГГЕР КАПОТА/БАГАЖНИКА
Когда система находится в режиме охраны, при замыкании ТЕМНО-ЗЕЛЕНОГО провода на "массу" произойдет немедленное срабатывание системы.
Подсоединение: Подсоедините ТЕМНО-ЗЕЛЕНЫЙ провод к предварительно установленным концевым выключателям капота и/или багажника отрицательной полярности.
ФИОЛЕТОВЫЙ ПРОВОД: (+) ТРИГГЕР ДВЕРИ / (-) ВХОД ДЛЯ ПОДКЛЮЧЕНИЯ 5-ПРОВОДНОГО ЭЛЕКТРОПРИВОДА
Подсоединение: Если выключатель внутрисалонного освещения имеет на выходе + 12В при открывании двери (большинство автомобилей Ford, ГАЗ), Вы должны подсоединить ФИОЛЕТОВЫЙ провод к одному из штатных концевых выключателей. В большинстве случаев ФИОЛЕТОВЫЙ провод достаточно подсоединить только к одному концевому выключателю независимо от количества дверей в автомобиле.
Внимание! Не используйте ФИОЛЕТОВЫЙ провод, если концевые выключатели дверей отрицательной полярности (См. Коричневый провод ниже).
Использование данной функции позволит Вам частично реализовать функцию "центрального замка" без необходимости использования дополнительного модуля, достаточно будет только установить один 5-проводный электропривод в двери водителя и 2-проводные электроприводы в остальных дверях. После этого, при запирании двери водителя система будет автоматически запирать все двери автомобиля.
Подсоединение: Подсоедините ФИОЛЕТОВЫЙ провод к проводу 5-проводного электропривода, который замыкается на "массу" при опускании электропривода.КОРИЧНЕВЫЙ ПРОВОД: (-) ТРИГГЕР ДВЕРИ
Замыкание КОРИЧНЕВОГО провода на "массу" при открывании двери автомобиля обеспечивает немедленное срабатывание системы. Подсоединение триггера двери также необходимо для обеспечения работы функции пассивной постановки на охрану.
Подсоединение: Если штатный концевой выключатель двери замыкается на "массу" при открывании дверей (это типично для большинства автомобилей), Вы должны подсоединить КОРИЧНЕВЫЙ провод к одному из штатных концевых выключателей. В большинстве случаев КОРИЧНЕВЫЙ провод достаточно подсоединить только к одному концевому выключателю независимо от количества дверей в автомобиле.
Внимание! Не используйте КОРИЧНЕВЫЙ провод, если полярность концевых выключателей дверей в автомобиле + 12В (См. ФИОЛЕТОВЫЙ провод).
ЖЕЛТЫЙ ПРОВОД: +12В ПОСТОЯННОГО ТОКА НА ЗАМКЕ ЗАЖИГАНИЯ
Данный провод информирует систему о наличии/отсутствии питания на замке зажигания. Таким образом, система определяет, находитесь ли Вы внутри или вне автомобиля
Подсоединение: Подсоедините ЖЕЛТЫЙ провод к проводу от замка зажигания, на котором имеется напряжение + 12В, когда ключ зажигания находится в положениях "ВКЛ." (ON) И "ЗАПУСК" (CRANK), и напряжение 0В, когда ключ зажигания находится в положениях "ВЫКЛ." (OFF) и "АСС".
ОРАНЖЕВЫЙ/БЕЛЫЙ ПРОВОД: ОТРИЦАТЕЛЬНЫЙ ВЫХОД 500 мА ПРИ ВЫКЛЮЧЕННОЙ ОХРАНЕ ДЛЯ БЛОКИРОВКИ СТАРТЕРА НОРМАЛЬНО РАЗОМКНУТЫМ РЕЛЕ (требуется установка дополнительного реле)
ОРАНЖЕВЫЙ/БЕЛЫЙ провод служит для управления дополнительным нормально разомкнутым реле блокировки стартера или зажигания. Ниже описан вариант подсоединения при использовании блокировки стартера.
Подсоединение: Подсоедините ОРАНЖЕВЫЙ/БЕЛЫЙ провод к клемме # 86 дополнительного 30А реле. Подсоедините клемму # 85 реле к проводу от замка зажигания, на который поступает напряжение +12 В, когда ключ зажигания находится в положении "ЗАПУСК" (CRANK), и присутствует напряжение 0В, когда ключ зажигания находится в любом ином положении.
Перережьте вышенайденный провод от замка зажигания, идущий к соленоиду стартера автомобиля, и подсоедините ту часть обрезанного провода, которая идет от замка зажигания, к клемме # 30 реле. Подсоедините другую часть провода к клемме # 87 реле.
Примечание: Обратите внимание на то, что при использовании такого варианта подсоединения питание на реле блокировки будет подаваться только в момент попытки завести двигатель, таким образом, реле блокировки будет потреблять энергию аккумулятора только в момент попытки запуска двигателя.
СИНИЙ/ЧЕРНЫЙ, СИНИЙ/БЕЛЫЙ, СИНИЙ/КРАСНЫЙ, ЗЕЛЕНЫЙ/ЧЕРНЫЙ, ЗЕЛЕНЫЙ/БЕЛЫЙ и ЗЕЛЕНЫЙ/КРАСНЫЙ, провода, оканчивающиеся 6-контактным белым разъемом, предназначены для подсоединения встроенных реле управления замками дверей. Функции каждого из этих проводов показаны ниже:

Перед подключением системы к установленным электроприводам замков дверей необходимо определить тип штатной системы центрального замка. Для этого - выньте выключатель дверного замка из панели двери водителя и протестируйте провода, идущие от выключателя.

Если от выключателя идет 3 провода, один из которых постоянно замкнут на массу (независимо от положения выключателя), а из двух других проводов один будет замыкаться на массу при переводе выключателя в положение "Lock" ("Закрыто"), а другой будет замыкаться на массу при переводе выключателя в положение "Unlock" ("Открыто") - Вы имеете дело с 3-проводной системой с отрицательной полярностью.

Если от выключателя идет 3 провода, один из которых постоянно замкнут на +12В (независимо от положения выключателя), а из двух других проводов один будет замыкаться на +12В при переводе выключателя в положение "Lock" ("Закрыто"), а другой будет замыкаться на +12В при переводе выключателя в положение "Unlock" ("Открыто") - Вы имеете дело с 3-проводной системой с положительной полярностью. Подсоедините систему как показано на схеме.

Если от выключателя идет 5 проводов (или иногда 4) - в данном автомобиле установлена штатная система центрального замка с переменной полярностью управляющего импульса. В таких системах нет штатных реле или собственно модуля центрального замка т.к. +12В подается непосредственно от выключателя на электроприводы замков и, к тому же, обеспечивается обратный выход на массу.
Один из 5 проводов, идущих от выключателя, будет постоянно замкнут на +12В, независимо от положения выключателя. Два провода (или один) будут постоянно замкнуты на массу, независимо от положения выключателя. Из двух оставшихся проводов - один будет замыкаться на +12В при переводе выключателя в положение "Lock" ("Закрыто"), а другой будет замыкаться на +12В при переводе выключателя в положение "Unlock" ("Открыто"). В автомобилях данного типа необходимо перерезать штатные провода, идущие от главного выключателя замков дверей ("Master"), находящегося в водительской двери, к выключателям замков других дверей, а затем к электроприводам замков.

На автомобилях марки Mercedes-Benz или Audi используется вакуумная система центрального замка. Она имеет электровыключатели (встроенные в пневмоприводы), которые подают + 12В или массу на пневмонасос. Эти выключатели работают при запирании и отпирании дверей изнутри или ключом снаружи автомобиля. Полярность выключателей определяет, будет ли насос создавать давление или разряжение.
Подсоединение может выполняться либо под декоративной накладкой (панелью) слева от водителя, либо непосредственно на пневмонасосе, который обычно установлен в багажнике или под задним сиденьем.
Примечание: В автомобилях выпуска 1989 г. (или ранее) пневмонасос работает около 3 секунд. При установке системы на такие автомобили необходимо будет также запрограммировать длительность импульса, подаваемого на замки дверей, на 3.5 секунды (программируемая функция № 10).

Если автомобиль марки Nissan, Mitsubishi или Lotus и в двери нет переключателя -необходимо найти провод, идущий из двери водителя, который замкнут на массу, если двери автомобиля открыты, и "разомкнут", если двери закрыты.

Если автомобиль не оборудован центральным замком или электроприводами замков дверей, Вы можете установить дополнительные электроприводы и подсоединить их к системе следующим образом:
Проложите Красный, Черный, Синий и Зеленый провода, оканчивающиеся 4-контактным белым разъемом, от датчика удара к основному блоку системы и подсоедините его с одной стороны к датчику удара, а с другой - к белому разъему блока.
Проложите Красный и Синий провода, оканчивающиеся 2-контактным белым разъемом, от СИДа к основному блоку системы и подсоедините его к белому разъему блока.
Проложите Серый и Черный провода, оканчивающиеся 2-контактным синим разъемом, от кнопочного переключателя VALET к основному блоку системы и подсоедините его к синему разъему блока.
АНТЕННА: Вытяните тонкий Черный провод антенны во всю длину и закрепите его в том месте, где он не может быть поврежден. Избегайте укладки этого провода вокруг главных сильноточных жгутов проводки или близко к металлическим частям кузова.
РЕГУЛИРОВКА ДАТЧИКА УДАРА: Осторожно поверните регулировочный винт против часовой стрелки до упора при помощи маленькой отвертки (НЕ проворачивайте винт вокруг оси. Максимальный угол регулировки 270°). Закройте капот, багажник и поставьте систему на охрану. Подождите 6 секунд пока работа всех охранных устройств стабилизируется, затем сильно ударьте кулаком по заднему бамперу или по передней стойке с такой силой, которая была бы достаточной для того, чтобы разбить стекло. Внимание! Не стучите по стеклу, Вы можете его разбить!
Если система не сработала, поверните регулировочный винт по часовой стрелке (для увеличения чувствительности) примерно на 1/4 оборота и проверьте чувствительность датчика еще раз. Повторяйте эту процедуру до тех пор, пока не сработает сигнализация. Охрана должна срабатывать при сильном ударе по заднему бамперу автомобиля. При более слабом ударе должен срабатывать режим предупреждения и сирена подаст 5 коротких сигналов.
Внимание! При высокой чувствительности охрана будет срабатывать при вибрациях от проходящих рядом тяжелых автомобилей. Для уменьшения чувствительности поверните регулировочный винт против часовой стрелки
ЗАЩИТА ПРОВОДКИ: Всегда защищайте провода спиральными трубками или обматывайте их изолентой. Закрепите жгуты проводов по всей длине при помощи пластиковых перетяжек. Это обеспечит отсутствие повреждений проводов при их соприкосновении с горячими или острыми подвижными частями автомобиля.
РАБОТА СИСТЕМЫ: Уделите некоторое время просмотру соответствующих пунктов в Руководстве пользователя и детально объясните работу системы Вашему заказчику.
Передатчики, входящие в комплект системы (модель ALLIGATOR L300T), программируются на заводе-изготовителе следующим образом:
| КНОПКА | КАНАЛ | ФУНКЦИЯ |
|---|---|---|
| 1 | 1 | Дистанционная постановка/снятие с охраны Дистанционное включение режима "Паника" Запирание/отпирание дверей |
| 2 | 2 | Выход Канала 2 (управление дополнительными устройствами) |
| 1 + 2 | 3 | Дистанционное включение режима "Anti-HiJack" (если включена функция № 8) |
ВНИМАНИЕ: Так как в передатчиках используется постоянно меняющийся (динамический) код, в определенных, достаточно редких ситуациях (например, при нажатии кнопок брелка более 50 раз вдали от автомобиля) может произойти рассинхронизация брелков и системы. В этом случае - подойдите к автомобилю и быстро нажмите кнопку передатчика дважды. Синхронизация будет восстановлена и брелок вновь сможет управлять системой.
В память системы может быть запрограммировано всего до 4-х передатчиков. При попытке запрограммировать 5-й передатчик, код первого передатчика будет "вытеснен" из памяти системы, при попытке запрограммировать 6-й передатчик, код второго передатчика будет "вытеснен" из памяти системы, и т.д. Код одного и того же передатчика может быть запрограммирован 4 раза.
Рекомендуется (при использовании 2 передатчиков) запрограммировать основной ("рабочий") передатчик 1 раз, а дополнительный ("запасной") передатчик - 3 раза. В этом случае при попытке несанкционированного программирования кодов дополнительных передатчиков код Вашего "рабочего" передатчика будет автоматически удален из памяти системы и Вы сразу же обратите на это внимание.
Внимание! Помните, что каждая операция должна быть выполнена в течение 15 секунд после предыдущей операции. Если 15-секундный интервал превышен, система автоматически выйдет из режима программирования, что будет подтверждено одним коротким и одним длинным сигналом сирены. Если в процессе программирования было выключено зажигание система также немедленно выйдет из режима программирования и Вы услышите один короткий и один длинный сигналы сирены.
Вы услышите один короткий и один длинный сигнал сирены, подтверждающие, что система вышла из режима программирования.
В корпусе передатчика установлен маленький красный светодиод, который нажатие кнопок передатчика и также показывает состояние батарейки. По батарейки Вы можете заметить уменьшение дальности действия передатчика.
Для замены батарейки:
