Автомобильная охранная система KGB VS-300 разработана таким образом , чтобы надежно защищать Ваш автомобиль в течение многих лет . Тем не менее , надежность работы системы во многом зависит от того , насколько правильно и качественно была произведена установка .
Мы настоятельно рекомендуем всегда использовать вольтметр для проверки электрических цепей автомобиля . Использование тестовой лампочки может привести к повреждению бортового компьютера автомобиля и /или к раскрыванию подушек безопасности .
Всегда отсоединяйте аккумулятор автомобиля перед тем , как производить электрические подсоединения .
До того , как сверлить отверстия в панели приборов , проверьте , нет ли в этом месте за панелью жгутов проводов или каких-либо иных компонентов автомобиля , которые могут быть случайно повреждены .
Используйте различные типы коннекторов для соединения проводов . Скручивание проводов или использование изоленты для фиксации соединения может нарушить правильную работу системы .
Мы также рекомендуем пропаивать соединения проводов в цепях , где ток превышает 10 А .
Прокладывайте провода под ковриками салона или за панелями автомобиля для того , чтобы предохранить их от случайных повреждений .
Внимательно ознакомьтесь с данной инструкцией перед тем , как устанавливать систему . Мы рекомендуем устанавливать систему только квалифицированным специалистам , имеющим соответствующий опыт работы по установке автомобильных охранных систем .
| Номинальное напряжение питания | +12 В постоянного тока |
| Номиналы предохранителей | |
| - на Красном проводе | 3 А |
| - на Красном /Белом проводе | 10 А |
| Потребление тока | <15mA в режиме охраны |
| Постановка на охрану | через 3 секунды после нажатия кнопки передатчика . |
| Максимальное количество циклов режима тревоги | 3 цикла по 30 секунд |
| Автоматическая повторная постановка на охрану | через 60 секунд после снятия с режима охраны |
| Автоматическая постановка на охрану | через 30 секунд после закрывания последней двери |
| Количество зон охраны | 6 |
| Триггеры системы | - отрицательный триггер двери |
| - положительный триггер двери | |
| - отрицательный триггер капота /багажника | |
| - вход зажигания | |
| - датчик удара /дополнительный датчик | |
| - зона предупреждения | |
| Количество каналов приемника | 4 |
| Максимальное количество передатчиков | 4 |
| Количество кодовых комбинаций | 1.8 x 10 19 с динамическим изменением кода |
| Максимальный ток нагрузки реле габаритных огней : | 15A |
| Максимальный ток нагрузки реле запирания : | 15A |
| Максимальный ток нагрузки реле отпирания : | 15A |
| Максимальный ток нагрузки реле блокировки : | 40A |
ВНИМАНИЕ : Провод антенны нельзя к чему -либо подсоединять , укорачивать или наращивать .
Светодиодный индикатор системы (СИД ) устанавливается на видном месте (например , на приборной панели ). Проверьте , имеется ли достаточно места за панелью (не менее 2 см ) для установки светодиода и прокладывания проводов . Просверлите в панели отверстие диаметром 8 мм и проложите через него провода от светодиода к центральному блоку системы . После этого , вставьте светодиод в отверстие .
Установите кнопочный переключатель Valet в скрытом , но достаточно легко доступном для водителя месте . Просверлите отверстие диаметром 6.5 мм . Закрепите переключатель в отверстии и проложите провода от него к центральному блоку системы .
Концевые выключатели капота и багажника должны устанавливаться в местах наибольшего прилегания капота и багажника к кузову автомобиля на плоской металлической заземленной поверхности . Для защиты капота используйте прилагаемый концевой выключатель с регулируемой высотой . Просверлите отверстие диаметром 7 мм для установки концевого выключателя и убедитесь , что он упирается в крышку капота , когда она закрыта . Для защиты багажника используйте стандартный концевой выключатель . Просверлите отверстие диаметром 6.5 мм и используйте 11 мм гнездо для установки концевого выключателя .
Обратите внимание на то , чтобы после установки оставался достаточный ход концевого выключателя . В случае если в автомобиле имеется внутреннее освещение багажника или подкапотного пространства , достаточно подсоединиться к проводу , идущему от штатного концевого выключателя к лампочке (через диод ).
К СИНЕМУ проводу системы подсоединяются концевые выключатели капота и багажника . Замыкание СИНЕГО провода на "массу" при включенном режиме охраны вызовет немедленное срабатывание системы .
Этот провод используется в том случае , если автомобиль оборудован системой концевых выключателей дверей положительной полярности . Подсоедините ФИОЛЕТОВЫЙ провод системы к проводу от концевого выключателя двери , на котором появляется напряжение +1 2 В при открывании двери (большинство автомобилей Ford, ГАЗ ).
ВНИМАНИЕ : Не используйте ФИОЛЕТОВЫЙ провод , если концевые выключатели дверей отрицательной полярности (См . ЗЕЛЕНЫЙ провод ниже ).
Подсоедините ЖЕЛТЫЙ провод системы к проводу , идущему от замка зажигания , на котором появляется напряжение +1 2 В при включении зажигания , когда ключ зажигания находится в положениях "ВКЛ ." (ON) и "ЗАПУСК" (CRANK), и напряжение 0 В , когда ключ зажигания находится в любом другом положении .
Этот провод используется в том случае , если автомобиль оборудован системой концевых выключателей дверей отрицательной полярности . Подсоедините ЗЕЛЕНЫЙ провод к проводу от концевого выключателя двери , на котором появляется отрицательное напряжение при открывании двери .
ВНИМАНИЕ : Не используйте ЗЕЛЕНЫЙ провод , если концевые выключатели дверей положительной полярности (См . ФИОЛЕТОВЫЙ провод выше ).
ОРАНЖЕВЫЙ провод служит для управления прилагаемым нормально разомкнутым реле блокировки стартера или зажигания и заземлен при выключенном режиме охраны . Максимальный ток нагрузки - 500 мА . Ниже описан вариант подсоединения при использовании блокировки стартера .
Подсоедините ОРАНЖЕВЫЙ провод к контакту № 86 прилагаемого реле как показано на схеме . Подсоедините клемму № 85 реле к проводу от замка зажигания , на который поступает напряжение +1 2 В , когда ключ зажигания находится в положении "ЗАПУСК" (CRANK), и присутствует напряжение 0 В , когда ключ зажигания находится в любом ином положении .
Перережьте вышенайденный провод от замка зажигания , идущий к соленоиду стартера автомобиля , и подсоедините ту часть перерезанного провода , которая идет от замка зажигания , к клемме № 30 реле . Подсоедините другую часть перерезанного провода к контакту № 87 реле .
Примечание : Обратите внимание на то , что при использовании такого варианта подсоединения питание на реле блокировки будет подаваться только в момент попытки завести двигатель , таким образом , реле блокировки будет потреблять энергию аккумулятора только в момент попытки запуска двигателя .
БЕЛЫЙ провод системы замыкается на "массу", включая освещение салона автомобиля , в следующих случаях :

Максимальный ток нагрузки - 200 мА . Для подключения этой цепи необходимо использовать дополнительное реле (мин . 1 0 А ) как показано на схемах выше .
ВНИМАНИЕ : Обязательно используйте диод для изолирования цепи управления освещением салона от цепи триггера двери ! В противном случае не сможет правильно работать функция автоматической повторной постановки системы в режим охраны и ряд других функций системы .
A) СЕРЫЙ провод системы замыкается на "массу" при нажатии и удерживании кнопки 2 передатчика в течение 2 секунд . Максимальный ток нагрузки - 200 мА . В большинстве случае он используется для дистанционного управления электрическим замком багажника .
Если автомобиль оборудован электрическим замком багажника , подсоедините СЕРЫЙ провод как показано на схеме ниже , используя дополнительное реле .

B) Сигнал , подаваемый на СЕРЫЙ провод системы , может быть запрограммирован при установке системы (программируемая функция № 2/4) как :
РОЗОВЫЙ провод системы может быть запрограммирован как (программируемая функция № 2/5):
A) Если функция РОЗОВОГО провода запрограммирована как "отрицательный выход 3-го канала системы" (заводская установка функции № 2/5), этот провод будет замыкаться на "массу" при нажатии кнопки 3 передатчика (или кнопок 1 и 3 одновременно при использовании передатчика с 2-кнопочной конфигурацией кнопок ).
При этом , сигнал , подаваемый на РОЗОВЫЙ провод системы , может быть запрограммирован при установке системы (программируемая функция № 2/6) как :
Выход 3-го канала предназначается для управления дополнительными устройствами (дистанционным запуском двигателя , модулем управления стеклоподъемниками и т .д .). Максимальный ток нагрузки - 200 мА . Необходимо использовать дополнительное реле , как показано на схеме ниже :

B) Если функция РОЗОВОГО провода запрограммирована как "отрицательный выход для управления пейджером", этот провод также более не будет замыкаться на массу при нажатии кнопки передатчика . Вместо этого , РОЗОВЫЙ провод будет замыкаться на массу при срабатывании системы .
Подсоедините РОЗОВЫЙ провод к проводу отрицательного триггера дополнительного пейджера . В том случае , если пейджер управляется положительным триггером , используйте дополнительное реле , как показано на схеме ниже .

C) Если функция РОЗОВОГО провода запрограммирована как "отрицательный выход для управления клаксоном автомобиля", этот провод более не будет замыкаться на массу при нажатии кнопки передатчика . Вместо этого , РОЗОВЫЙ провод будет замыкаться на массу при подаче звуковых сигналов подтверждения , при срабатывании системы , при включении режимов "Паника" или Anti-CarJacking.
Подсоедините РОЗОВЫЙ провод к цепи управления клаксоном автомобиля , используя дополнительное реле .
КОРИЧНЕВЫЙ провод системы может быть запрограммирован как (программируемая функция № 2/7):
Максимальный ток нагрузки - 200 мА . В большинстве случаев необходимо будет использовать дополнительное реле .
А ) Если функция КОРИЧНЕВОГО провода запрограммирована как "отрицательный выход для отпирания всех дверей" (заводская установка функции № 2/7), этот провод будет замыкаться на "массу" при нажатии кнопки снятия системы с охраны (кнопки 1 передатчика или кнопки 2 передатчика ) в течение 3 секунд после снятия системы с охраны .
Это позволит реализовать функцию отпирания дверей в 2 этапа при снятии системы с охраны - при снятии системы с охраны будет только отпираться дверь водителя , а при повторном нажатии в течение 3 секунд кнопки снятия системы с охраны - будут отпираться все остальные двери автомобиля .
Для реализации данной функции необходимо будет подсоединить провода отпирания 6-контактного разъема только к электроприводу , установленному в двери водителя . Подсоедините КОРИЧНЕВЫЙ провод (используя , при необходимости , дополнительные реле ) к проводам отпирания всех остальных дверей
ВНИМАНИЕ : Данная функция не может быть реализована в том случае , если установлена функция "центрального замка" (отпирание или запирание всех дверей автомобиля при отпирании или запирании двери водителя ).
B) Если функция КОРИЧНЕВОГО провода запрограммирована как "отрицательный выход для дополнительной блокировки двигателя Н .З . реле", этот провод также более не будет замыкаться на массу при нажатии кнопки передатчика . Вместо этого , КОРИЧНЕВЫЙ провод будет замыкаться на массу каждый раз при постановке системы на охрану .
Подсоедините КОРИЧНЕВЫЙ провод к контакту № 86 дополнительного реле . Подсоедините контакт № 85 реле к проводу от замка зажигания , на который поступает напряжение +12 В , когда ключ зажигания находится в положении "ЗАПУСК", и присутствует напряжение 0 В , когда ключ зажигания находится в любом ином положении .
Перережьте вышенайденный провод от замка зажигания , идущий к соленоиду стартера автомобиля , и подсоедините ту часть обрезанного провода , которая идет от замка зажигания , к контакту № 87 А реле .
Подсоедините другую часть провода к контакту № 30 реле .
C) Если функция КОРИЧНЕВОГО провода запрограммирована как "отрицательный выход для управления пейджером", этот провод также более не будет замыкаться на массу при нажатии кнопки передатчика . Вместо этого , КОРИЧНЕВЫЙ провод будет замыкаться на массу при срабатывании системы . См . подсоединение выше (РОЗОВЫЙ провод ).
КРАСНЫЙ /БЕЛЫЙ провод подключается к постоянному питанию +12 В через предохранитель 10 А вместе с КРАСНЫМ проводом системы . Данный провод подает питание на встроенные реле управления габаритными огнями и определяет полярность сигнала , подаваемого на БЕЛЫЙ провод системы .
Если цепь управления габаритными огнями автомобиля отрицательной полярности - отсоедините КРАСНЫЙ /БЕЛЫЙ провод с предохранителем от КРАСНОГО провода системы и подсоедините его к "массе".
При срабатывании системы , включении режима "Паника" или Anti-CarJacking, при подаче сигналов подтверждения постановки или снятия системы с охраны , а также в течение 30 секунд после снятия системы с охраны (если данная функция запрограммирована ) на БЕЛЫЙ провод системы подается напряжение , к которому подключен КРАСНЫЙ /БЕЛЫЙ провод (+1 2 В или "масса").
Этот провод необходимо подсоединить к отрицательной (-) клемме аккумулятора .
На этот провод подается питание +12 В при подаче сигналов подтверждения , при срабатывании системы , включении режима "Паника" и в режиме Anti-CarJacking. Максимальный ток нагрузки - 2 А . Подсоедините Красный провод дополнительной сирены к КОРИЧНЕВОМУ проводу системы , а Черный провод сирены подсоедините к "массе".
При подсоединении дополнительной сирены с автономным питанием руководствуйтесь схемой подключения сирены .
Подсоедините КРАСНЫЙ провод системы к клемме "+" аккумулятора через предохранитель 3 А .
Расположение и функции контактов в разъемах показано ниже и также на общей схеме подключения разъемов системы .

Контакт 1 : при включенном режиме охраны , подача на этот контакт отрицательного импульса включит режим предупреждения (длинный отпугивающий сигнал сирены ).
Контакт 2: при включенном режиме охраны подача на этот контакт отрицательного сигнала немедленно включит режим тревоги .
Контакт 3: на этот контакт подается масса при включенном режиме охраны , для питания датчика .
Контакт 4: на этот контакт подается постоянное напряжение +12 В для питания датчика . Если этот провод будет замкнут на землю , это может привести к повреждению системы .
Проложите провода от переключателя Valet к центральному блоку системы и подсоедините их к 2-контактному Синему разъему блока .
Проложите провода от светодиода к центральному блоку системы и подсоедините их к 2-контактному Белому разъему блока .
Реле запирания :
ЗЕЛЕНЫЙ /КРАСНЫЙ провод - нормально замкнутый контакт (87 а )
ЗЕЛЕНЫЙ /ЖЕЛТЫЙ провод - нормально разомкнутый контакт (87)
ЗЕЛЕНЫЙ /БЕЛЫЙ провод - общий контакт (30)
Реле отпирания :
СИНИЙ /БЕЛЫЙ провод - общий контакт (30)
СИНИЙ /КРАСНЫЙ провод - нормально замкнутый контакт (87 а )
СИНИЙ /ЖЕЛТЫЙ провод - нормально разомкнутый контакт (87)
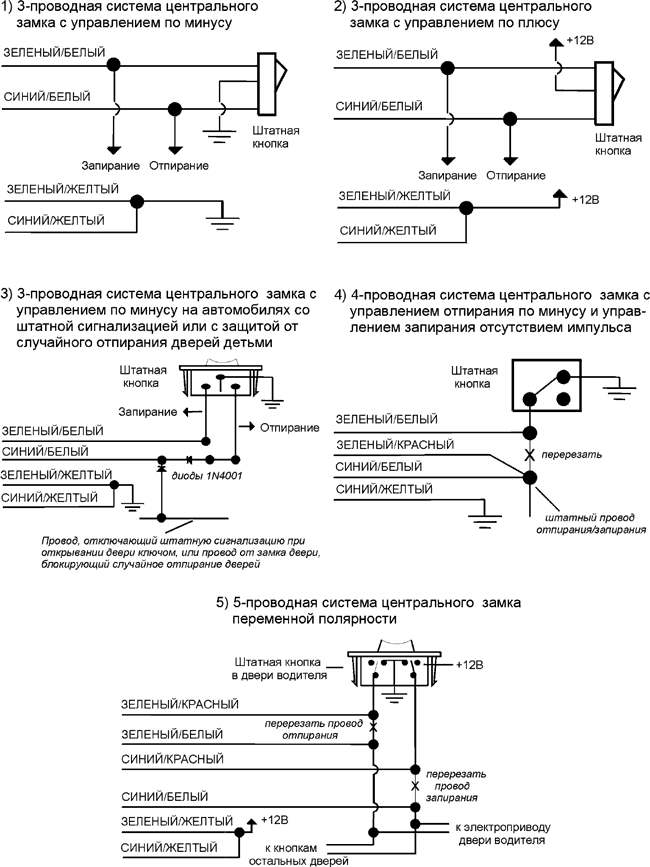
Для установки системы на автомобили с различными системами центрального замка или на автомобили без штатный электроприводов воспользуйтесь схемами , приведенными ниже .
При установке системы на автомобили с вакуумной системой центрального замка (автомобили Мерседес-Бец и Ауди ) найдите провод управления замками в дверной панели . Используя вольтметр , замкнутый на массу , убедитесь , что на правильном проводе присутствует напряжение +12 В при открытых дверях . Закройте двери - вольтметр должен показать 0 В . Подсоедините вольтметр к +12 В - вольтметр должен показать +12 В . Перережьте этот провод и выполните подсоединение , как показано на соответствующей схеме .
ВНИМАНИЕ : Запрограммируйте длительность импульса , подаваемого на замки дверей , на 3 сек .


Если произведены соответствующие подключения , система будет также выполнять функции центрального замка . При ручном запирании замка двери водителя , все остальные двери будут также автоматически запираться и при ручном отпирании замка двери водителя все остальные двери будут также автоматически отпираться .
Зеленый провод 2-контактного разъема подсоединяется к проводу 5-проводного замка , на котором появляется масса при отпирании . При замыкании этого провода на массу система будет подавать импульс отпирания (когда система снята с охраны )
В режиме охраны данный провод является зоной охраны (показываемой СИДом сериями из 1 вспышки через паузу ) поскольку замыкание этого провода на массу будет только вызывать срабатывание системы (импульса на отпирание остальных дверей не будет ).
Синий провод 2-контактного разъема подсоединяется к проводу 5-проводного замка , на котором появляется масса при запирании . При замыкании этого провода на массу система будет подавать импульс запирания (когда система снята с охраны ).
ВНИМАНИЕ : Обратите внимание на то , что подключение данной функции делает невозможной реализацию функции отпирания дверей в 2 этапа при снятии системы с охраны .
Тонкий Черный провод на основном блоке системы - это провод антенны .
ВНИМАНИЕ : Провод антенны ни к чему не подключайте , не укорачивайте и не наращивайте !
Место расположения антенны играет важную роль для правильной работы системы . Для обеспечения оптимальной дальности действия передатчиков убедитесь , что антенна не скручена , вытянута в длину мин . на 15 см . и максимально удалена от металлических частей и жгутов проводки .
Максимум возможно запрограммировать 4 передатчика . Возможно 2 варианта программирования передатчиков - 1-кнопочная конфигурация (Кнопка 1 передатчика используется как для постановки на охрану , так и для снятия с охраны ) или 2-кнопочная конфигурация (Кнопка 1 используется только для постановки на охрану , Кнопка 2 - используется только для снятия с охраны ).
Примечание :
Выход из режима программирования передатчиков произойдет автоматически в том случае , если :
Выход из режима программирования передатчиков подтверждается 3 длинными сигналами сирены .
| Кнопка передатчика | Функция | Примечание |
|---|---|---|
| Кнопка 1 | Постановка /снятие с охраны | |
| Кнопка 1 | Режим "Паника" | Нажать и удерживать в течение 3 сек . |
| Кнопка 1 | Отключение режима "Паника" | Нажать 1 раз |
| Кнопка 1 + 1 | Постановка на охрану с отключением датчиков | Нажать дважды в течение 3 секунд при выключенном режиме охраны |
| Кнопка 1 + 1 | Снятие с охраны с отпиранием всех дверей * | Нажать дважды в течение 3 секунд при включенном режиме охраны |
| Кнопка 1 + 2 | Бесшумная постановка /снятие системы с охраны | Нажать одновременно при выключенном зажигании либо при включенном , если функция 1 /10 включена |
| Кнопка 1 + 2 | Режим Anti-CarJacking | Нажать одновременно и удерживать в течение 2 секунд при включенном зажигании |
| Кнопка 2 | Выход канала 2 системы | Нажать и удерживать в течение 2 сек . |
| Кнопка 2 + 2 | Отмена пассивной постановки на охрану /автоматической повторной постановки на охрану | Нажать 2 раза в течение 3 секунд при выключенном зажигании |
| Кнопка 2 + 3 | "Поиск автомобиля" | Нажать одновременно при выключенном зажигании |
| Кнопка 3 | Выход канала 3 системы |
* Если данная функция установлена.
| Кнопка передатчика | Функция | Примечание |
|---|---|---|
| Кнопка 1 | Постановка на охрану /запирание дверей | |
| Кнопка 1 | Режим "Паника" | Нажать и удерживать в течение 3 сек . |
| Кнопка 1 | Отключение режима "Паника" | Нажать 1 раз |
| Кнопка 1 + 1 | Отключение датчиков системы | Нажать дважды в течение 3 секунд при включенной охране |
| Кнопка 1 + 2 | Бесшумная постановка /снятие системы с охраны | Нажать одновременно при выключенном зажигании либо при включенном , если функция 1 /10 включена |
| Кнопка 1 + 2 | Режим Anti-CarJacking | Нажать одновременно и удерживать в течение 2 секунд при включенном зажигании |
| Кнопка 1 + 3 | Выход канала 3 системы | Нажать одновременно |
| Кнопка 2 | Снятие с охраны /отпирание дверей | |
| Кнопка 2 + 2 | Снятие с охраны / отпирание всех дверей * | Нажать дважды в течение 3 секунд |
| Кнопка 2 | Выход канала 2 системы | Нажать и удерживать в течение 2 сек . |
| Кнопка 2 + 3 | "Поиск автомобиля" | Нажать одновременно при выключенном зажигании |
| Кнопка 3 + 3 | Отмена пассивной постановки на охрану /автоматической повторной постановки на охрану | Нажать дважды в течение 3 секунд при выключенном зажигании |
* Если данная функция установлена
Система KGB VS-300 позволяет запрограммировать 17 различных функций . Для удобства эти функции распределены на 2 меню (или 2 этапа программирования ), причем Вы можете получить доступ к программированию функций , составляющих 2-е меню , в любой момент и даже без предварительного программирования функций 1-го меню .
Пример : для выбора функции № 2 нажмите кнопку Valet 1 раз , сирена подаст 1 сигнал , СИД будет мигать 1 раз через паузу , затем нажмите кнопку Valet 2-й раз , сирена подаст 2 сигнала и СИД будет мигать 2 раза через паузу .
Выход из режима программирования функций системы произойдет в следующих случаях :
Система выйдет из режима программирования и сирена подаст 3 длинных сигнала .
(заводские установки программируемых функций выделены жирным шрифтом )
| Число нажатий кнопки Valet | Сирена и СИД | Нажать кнопку 1 передатчика (1 короткий сигнал сирены - ВКЛЮЧЕНО ) | Нажать кнопку 2 передатчика (2 коротких сигнала сирены - ВЫКЛЮЧЕНО ) |
|---|---|---|---|
| 1 | 1 | Сигналы подтверждения сирены | Без сигналов подтверждения сирены |
| 2 | 2 | Только активная постановка на охрану | Пассивная постановка на охрану включена |
| 3 | 3 | Пассивная постановка с запиранием дверей | Пассивная постановка без запирания дверей |
| 4 | 4 | Автоматическая повторная постановка включена | Автоматическая повторная постановка выключена |
| 5 | 5 | Запирание дверей при включении зажигания | Без запирания дверей при включении зажигания |
| 6 | 6 | Отпирание дверей при выключении зажигания | Без отпирания дверей при выключении зажигания |
| 7 | 7 | Функция Anti-CarJacking включена | Функция Anti-CarJacking выключена |
| 8 | 8 | Отключение зон датчика после 5/3 срабатываний | Обе зоны датчиков включены постоянно |
| 9 | 9 | Отключение системы с помощью переключателя Valet | Отключение системы с помощью программируемого персонального кода |
| 10 | 10 | Система может быть поставлена на охрану с включенным зажиганием | Система не может быть поставлена на охрану с включенным зажиганием |
(заводские установки программируемых функций выделены жирным шрифтом )
| Число нажатий кнопки Valet | Сирена и СИД | Нажать кнопку 1 передатчика (1 короткий сигнал сирены - ВКЛЮЧЕНО ) | Нажать кнопку 2 передатчика (2 коротких сигнала сирены - ВЫКЛЮЧЕНО ) | Нажать кнопку 3 передатчика (3 коротких сигнала сирены ) |
|---|---|---|---|---|
| 1 | 1 | При снятии с охраны габаритные огни будут мигать 2 раза | При снятии с охраны габаритные огни будут мигать 2 раза и затем включатся на 30 с | |
| 2 | 2 | Импульс запирания /отпирания дверей 0.9 с | Импульс запирания /отпирания дверей 3 с | Импульс запирания дверей 0.9 с . / Двойной импульс отпирания |
| 3 | 3 | 3-секундная задержка для включения триггера двери при постановке на охрану | 30-секундная задержка для включения триггера двери при постановке на охрану | |
| 4 | 4 | Выход канала 2 системы : "импульсный" | Выход канала 2 системы : "постоянный" | |
| 5 | 5 | РОЗОВЫЙ провод системы работает как "Выход канала 3" | РОЗОВЫЙ провод системы работает как "Выход на пейджер" | РОЗОВЫЙ провод системы работает как "Выход на клаксон" |
| 6 | 6 | Выход канала 3 системы : "импульсный" | Выход канала 3 системы : "постоянный" | |
| 7 | 7 | КОРИЧНЕВЫЙ провод системы работает как "2-й импульс отпирания /отпирание всех дверей" | КОРИЧНЕВЫЙ провод системы работает как "выход для дополнительной блокировки двигателя Н .З . реле" | КОРИЧНЕВЫЙ провод системы работает как "Выход на пейджер" |
В зависимости от состояния этой функции , сирена либо будет , либо не будет подавать сигналы подтверждения при постановке и снятии системы с охраны . Данная функция не влияет на работу 3 и 4 предупреждающих сигналов сирены , которые будут подаваться в любом случае , так как они информируют о специфических состояниях системы .
Если включена пассивная постановка на охрану , система будет вставать на охрану либо при нажатии кнопки 1 передатчика , либо автоматически через 30 секунд после выключения зажигания , открывания и закрывания последней двери . Если включена только активная постановка на охрану - система будет вставать на охрану oieuei при нажатии кнопки 1 передатчика .
В зависимости от состояния этой функции , пассивная постановка на охрану будет происходить либо с запиранием дверей , либо без .
Примечание : для работы этой функции должна быть включена функция пассивной постановки на охрану (функция 1/2 должна быть выключена ).
Если эта функция включена , то через 60 секунд после снятия системы с охраны система вновь автоматически встанет на охрану , если за это время не была открыта одна из дверей или не было включено зажигание . Эта функция защищает от случайного снятия системы с охраны .
Если эта функция включена , электрические дверные замки будут автоматически закрываться через 2 секунды после включения зажигания . При этом если одна из дверей не закрыта , замки автоматически закрываться не будут .
Если эта функция включена , электрические дверные замки будут автоматически открываться немедленно после выключения зажигания . При этом если одна из дверей не закрыта , замки автоматически открываться не будут.
Данная функция позволяет использовать режим Anti-CarJacking, активизируемый нажатием и удерживанием кнопки 1 и кнопки 2 передатчика одновременно в течение 2 секунд при включенном зажигании .
Вы можете использовать данную программируемую функцию для того , чтобы свести к минимуму возможные ложные или случайные срабатывания датчиков системы . Обратите внимание на то , что данная функция никоим образом не влияет на работу остальных зон охраны системы . Если данная функция включена
Данная функция определяет процедуру аварийного отключения системы - либо с помощью кнопочного переключателя Valet, либо с помощью программируемого пользователем персонального кода .
Персональный код отключения системы также необходим для отключения режим Anti-CarJacking после его срабатывания .
Если данная функция включена - система может быть поставлена на охрану с включенным зажиганием . В этом случае , система также автоматически временно отключит входы датчиков и не включит цепи блокировки двигателя . В то же время , триггеры дверей , капота и багажника останутся под охраной .
Если система сработает от входа триггера дверей , капота или багажника - двигатель будет немедленно заблокирован и система перейдет в стандартный режим тревоги . После окончания режима тревоги система перезапустится в стандартный режим охраны .
В зависимости от состояния этой функции габаритные огни будут либо мигать 2 раза после снятия системы с охраны , либо будут мигать 2 раза и затем включаться на 30 секунд (или до момента включения зажигания , если это произойдет раньше ).
Данная функция позволяет запрограммировать различные варианты импульсов запирания /отпирания замков дверей , что может быть необходимо при установке системы на различные модели автомобилей . Вы можете запрограммировать длительность импульса запирания и отпирания 0.9 с .; длительность импульса запирания и отпирания 3.5 с ., либо длительность импульса запирания 0.9 с . и двойной (1-секундный ) импульс отпирания .
Данная функция может быть необходима при установке системы на некоторые современные модели автомобилей , оборудованные штатной задержкой выключения освещения салона после закрывания дверей ("вежливой подсветкой"). Для установки системы на такие автомобили выключите данную функцию . Система будет брать под охрану через 3 секунды после сигналов подтверждения все цепи , кроме цепи триггера дверей , а цепь триггера дверей будет взята под охрану через 30 секунд после сигналов подтверждения .
Данная функция позволяет запрограммировать выход канала 2 системы как :
Данная функция позволяет запрограммировать желаемую функцию Розового провода системы :
Данная функция позволяет запрограммировать выход канала 3 системы как :
Данная функция позволяет запрограммировать желаемую функцию Коричневого провода системы :
Персональным кодом аварийного отключения системы может быть любое число от 1 до 1 0 (по числу миганий светодиода ). Заводской код - число 9.
Для программирования нового персонального кода отключения системы (например "5"):
Вы можете воспользоваться данной функцией для того , чтобы восстановить заводские установки всех 17 программируемых функций системы.
Возможные причины :
После устранения возможных причин неисправности , повторите процедуру программирования кодов передатчиков .



| Режим мигания | Значение |
|---|---|
| Не горит | Система снята с охраны |
| Медленно мигает | Включен режим охраны |
| Быстро мигает | Идет отсчет перед пассивной постановкой на охрану или перед автоматической повторной постановкой на охрану |
| Загорается на 10 секунд при включении зажигания или горит постоянно при выключенном зажигании | Включен режим Valet |
| Мигает 1 раз через паузу ... | Система срабатывала от триггера Зеленого провода (открывание замка двери )*** |
| Мигает 2 раза через паузу ... | Система срабатывала от триггера капота /багажника |
| Мигает 3 раза через паузу ... | Система срабатывала от триггера двери |
| Мигает 4 раза через паузу ... | Система срабатывала от триггера одного из датчиков |
| Мигает 5 раз через паузу ... | Система срабатывала от включения зажигания |
*** - если данная функция подключена .
| Количество | Значение |
|---|---|
| 1 | Постановка на охрану |
| 1 длинный сигнал при включенном режиме охраны | Сработал режим предупреждения |
| 2 | Снятие с охраны |
| 3 (через 3 секунды после постановки на охрану ) | Обход неисправной зоны |
| 4 | Снятие с охраны /система срабатывала |
| Количество | Значение |
|---|---|
| 1 | Постановка на охрану |
| 2 | Снятие с охраны |
| 3 | Снятие с охраны /система срабатывала |
| 5 | Разряжена батарейка передатчика |