Сигнализация Mongoose DUPLEX сконструирована для охраны дверей, капота и багажника автомобиля, пространства внутри салона и в непосредственной близости от автомобиля. Для индикации тревоги предусмотрена звуковая и световая сигнализация. Сигнал тревоги передается также по радиоканалу на Ваш персональный пейджер совмещенный с пультом управления сигнализацией. Кроме этого, Mongoose DUPLEX предотвращает несанкционированный запуск двигателя.
Перечисленные выше функции могут быть реализованы в большей или меньшей степени в зависимости от подключенных стандартных или дополнительных охранных средств.
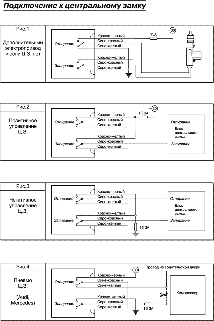
Проконсультируйтесь с установщиком!!!
Для предотвращения несанкционированного доступа в систему предусмотрена защита кода радиокоманд на базе технологии кодирования KeeLoq, успешно противостоящая попыткам перехвата кодов с помощью код-граббера, встроенная функция антисканирования, запрещающая отключение сигнализации простым подбором случайных кодов и функция памяти состояний, не позволяющая обезвредить стоящую на охране сигнализацию просто сняв и надев клемму автомобильного аккумулятора, так как в этом случае включится тревога и сохранится блокировка двигателя.
Прерывание и восстановление питания при отключенной охране не вызовет срабатывания сигнализации, чтобы не создавать трудностей, например, при ремонте.
Если питание было отключено, когда сигнализация находилась в режиме Valet, то последующая его подача вернет сигнализацию в это же состояние.
Во избежание запирания ключей внутри автомобиля, при восстановлении питания от автомобильного аккумулятора не происходит изменения состояния дверных замков.
Избежать ложных тревог позволит функция обхода неисправной зоны, которая отключит неисправный датчик до конца цикла охраны, если он вызвал включение тревоги 10 раз.Все остальные контролируемые зоны и блокировки останутся включенными.
Программируемая функция учета задержки салонного света дает возможность использовать Mongoose DUPLEX на любых типах автомобилей.
Для повышения охранных свойств системы и удобства пользования автомобилем Mongoose DUPLEX оснащена дополнительным каналом с программным выбором опций:
Приобретая стандартный комплект Mongoose DUPLEX, Вы получаете:
Если Вы хотите повысить охранные свойства Вашей сигнализации, мы советуем Вам приобрести дополнительно двух уровневый датчик объема, способный регистрировать любое движение как внутри автомобиля, так и в непосредственной близости от него. Mongoose DUPLEX имеет специальный вход для подключения такого датчика.
Представляет собой миниатюрное приемо-передающее устройство с питанием от 1,5 вольтовой батарейки (тип 24А LR03 ААА), которой хватает примерно на 6 месяцев эксплуатации. На пульте расположены четыре кнопки управления и 5 светодиодов для индикации постановки и снятия системы с охраны и для информирования Вас о причине, вызвавшей включение тревоги. Нажатие любой из кнопок пульта подтверждается специфическим звуковым сигналом, при этом передатчик формирует и передает кодированную радиокоманду, которая меняется при каждом новом нажатии кнопки, предотвращая таким образом возможность перехвата кода Вашей сигнализации код-граббером.
В случае приема, встроенным в пульт пейджером, сигнала тревоги, замигает соответствующий светодиод, включится определенный звуковой сигнал, а также виброзвонок.
Функция пейджера будет работать только при постановке системы на охрану с помощью двунаправленного пульта или при автопостановке на охрану.

| Событие | Символ | Светодиод | Звуковой сигнал | Виброзвонок |
|---|---|---|---|---|
| Постановка/снятие с охраны | Зеленый | Зависит от номера кнопки | --- | |
| Батарейка разряжена | Зеленый (мигает при нажатии кнопки) | Выключен | Выключен | |
| Индикация тревоги | ||||
| Открыт капот/багажник | Красный | Мелодия 1 | 1 раз/5 сек. | |
| Открыта дверь | Красный | Мелодия 2 | 1 раз/5 сек. | |
| Включено зажигание | Красный | Мелодия 3 | 1 раз/5 сек. | |
| Предварительная зона датчика | Красный | 2 - тональный | 1 раз | |
| Основная зона датчика | Красный | Мелодия 4 | 1 раз/5 сек. | |

Миниатюрный радиопередатчик, питающийся от 12 вольтовой батарейки (тип 23 А), которой хватает примерно на 1 год эксплуатации. Существенное снижение дальности приема системой команд передатчика говорит о необходимости замены батарейки. На пульте расположены четыре кнопки управления и индикаторный светодиод. Алгоритм формирования и передачи управляющих команд идентичен двунаправленному пульту управления. Однонаправленный пульт предназначен только для управления сигнализацией.
ВНИМАНИЕ! При постановке сигнализации на охрану с помощью однонаправленного пульта функция пейджера в двунаправленном пульте работать на будет.
| Функция | Кнопка 1 | Кнопка 2 | Кнопка 3 | Кнопка 4 | Примечание | |
|---|---|---|---|---|---|---|
| Постановка на охрану | * | Зажигание ВЫКЛ. | ||||
| Постановка с отключенными датчиками | * | Зажигание ВЫКЛ. | ||||
| Запирание дверей | * | Зажигание ВКЛ. Пассивный иммобилайзер ОТКЛ. |
||||
| Тихая постановка на охрану | * | Зажигание ВЫКЛ. | ||||
| Тихая постановка на охрану с отключенными датчиками | * | Зажигание ВЫКЛ. | ||||
| Снятие с охраны | * | Зажигание ВЫКЛ. | ||||
| Отпирание дверей | * | Зажигание ВКЛ. Пассивный иммобилайзер ОТКЛ. |
||||
| Тихое снятие с охраны | * | Зажигание ВЫКЛ. | ||||
| Паника | * 3 сек. | Зажигание ВЫКЛ. | ||||
| Поиск | * Зсек. | Режим охраны или VALET. Зажигание ВЫКЛ. |
||||
| Дополнительный канал: - отпирание багажника - или управление другим электрическим устройством* |
* Зсек. | |||||
| * 3 сек. | Зажигание ВЫКЛ. | |||||
| VALET-режим | * Зсек. | Зажигание ВКЛ. Пассивный иммобилайзер ОТКЛ. |
||||
| Охрана с заведенным двигателем | * 2 | * 1 | Зажигание ВКЛ. | |||
| Отключение пассивного иммобилайзера | Номер кнопки задается программированием | Зажигание ВКЛ. | ||||
* кратковременно нажать один раз
* 3 сек. нажать и удерживать кнопку в нажатом состоянии не менее 3 секунд
* 1, * 2 последовательность нажатия кнопок
| Охрана включена | медленно мигает |
| Охрана отключена | не горит |
| Задержка перед автопостановкой | быстро мигает |
| Valet-режим | горит постоянно |
Для повышения секретности управления сигнализацией в Mongoose DUPLEX предусмотрена возможность использования персонального кода (PIN кода) для аварийного отключения сигнализации, входа в режим программирования дополнительных пультов и пользовательских функций, отключения противоразбойной функции Anti-Hi-Jack.
PIN код может состоять из одной или двух цифр и иметь значение либо от 1 до 9, либо от 11 до 99 в зависимости от программной установки. При изготовлении системы в нее записывается код равный 1, однако, мы рекомендуем после установки системы задать другое значение PIN кода (как это сделать, прочтите в разделе "Программирование"). Это позволит Вам обезопасить свою охранную систему от несанкционированного снятия с охраны.
Для ввода PIN кода используется кнопка аварийного отключения и ключ зажигания.
В случае если пульт управления сигнализации отсутствуй или неисправен для снятия системы с охраны необходимо: открыть дверь ключом, при этом включится режим тревога, сесть в автомобиль, включить зажигание и оставить его во включенном положении.
Если Вы установили однозначный PIN код - нажмите кнопку аварийного отключения число раз равное заданному значению PIN кода и выключите зажигание. Если код введен эерно, система снимется с охраны.
Если установлен двузначный код, то, введя первую цифру, как описано выше, снова включите зажигание и также введите вторую, затем выключите зажигание. Если код введен верно, система снимется с охраны.
Чтобы поставить сигнализацию на охрану надо при выключенном зажигании нажать кнопку 1 пульта, если все двери, капот и багажник закрыты, сирена подаст один звуковой сигнал, и фонари мигнут один раз. Светодиод системы начнет медленно мигать, дверные замки закроются (если автомобиль оборудован приводами блокировки замков). Если какая-либо из дверей, капот или багажник окажутся незакрытыми последуют три звуковых сигнала и фонари мигнут три раза.
В режиме охраны сигнализация контролирует состояние всех имеющихся концевых выключателей дверей, капота, багажника, включение зажигания, и состояние датчика удара, а так же, если дополнительно установлены, датчика объема и др.. Кроме того, в режиме охраны блокируется запуск двигателя. При нарушении какой-либо из зон охраны, включается 30 секундный режим тревоги.
Если режим тревоги включился, то сирена будет звучать, а сигнальные фонари мигать в течение 30 секунд или до отключения их кнопкой 1 пульта.
При срабатывании предупредительной зоны датчика удара или внешней зоны дополнительного датчика, прозвучит короткая трель сирены.
Для снятия сигнализации с охраны надо нажать кнопку 1 пульта, сирена подаст 2 звуковых сигнала, и дважды мигнут сигнальные фонари. Светодиод погаснет, дверные замки откроются (если автомобиль оборудован приводами блокировки замков). Если в период охраны включался режим тревоги, то при снятии с охраны Вы услышите дополнительную трель сирены.
Если при выключенном зажигании нажать и удерживать в течение 3 сек. кнопку 1 включится сирена и сигнальные фонари. Повторное нажатие на кнопку 1 отключает режим. Включение и последующее выключение Паники не изменяет состояния системы, то есть она останется в охране, если находилась в этом режиме, двери, при этом, останутся запертыми, если же режим охраны был отключен и замки дверей открыты, постановки на охрану и запирания дверей не произойдет.
Когда необходимо поставить или снять сигнализацию с охраны без звукового подтверждения, чтобы не беспокоить окружающих звуками сирены, нажмите кнопку 2. Выполнение команд в этом случае будет подтверждено только световыми сигналами. В остальном режимы полностью аналогичны постановке и снятию со звуковым подтверждением. При тихой постановке на охрану звуковое предупреждение о незакрытых дверях, капоте и багажнике сохраняется, поэтому нет опасности, что Вы оставите свой автомобиль незапертым.
Если при постановке на охрану возникает необходимость отключить салонные датчики, например в том случае, когда в салоне автомобиля требуется оставить пассажиров или животных, нажмите кнопку 3.
Для постановки на охрану с отключенными датчиками без звукового подтверждения нажмите кнопку 4.
Для того, чтобы поставить автомобиль на охрану при заведенном двигателе (например, при прогреве), надо перед нажатием кнопки 1 нажать кнопку 3 пульта, тогда активизируется режим охраны с отключенными датчиками, а так же не будет включена блокировка двигателя. Для отключения охраны необходимо нажать ту же комбинацию кнопок либо кнопку 1 или 2. Кроме того, если охрана не была отключена в течение 10 минут или зажигание было выключено, автоматически включается блокировка двигателя и режим полной охраны, но без запирания дверей.
ПРИМЕЧАНИЕ: Во избежание ошибочного включения режима во время движения автомобиля его активизация разрешается системой только в течение 10 секунд после открывания и закрывания двери при включенном зажигании, по истечении этих 10 секунд, включение режима системой запрещается.
Функция может быть программно отключена.
Если в течение 30 сек. после снятия с охраны не открывалась ни одна из дверей, капот или багажник, а также не включалось зажигание, система автоматически вернется в режим охраны.
Если включилась тревога, то, нажав кнопку 1 один раз, Вы только выключите сирену и сигнальные фонари (в случае, если причина тревоги устранена, т.е., например, закрыта открытая дверь или датчик удара перестал срабатывать). Если же причина, вызвавшая тревогу, сохраняется, для ее отключения требуется повторное нажатие на кнопку. Для полного отключения охраны нажмите на кнопку еще раз, после того как выключите тревогу.
Функция может быть включена или выключена программированием.
Если функция включена, то после выключения зажигания, открывания и закрывания двери сигнальные фонари мигнут два раза, светодиод начнет быстро мигать. Если в течение 30 секунд после этого все двери, а также капот и багажник останутся закрытыми, сигнализация встанет на охрану, не запирая дверей.
Через 5 секунд после включения зажигания автоматически запираются электрические замки дверей, при выключении зажигания замки немедленно отпираются. Если в течение этих 5 секунд какая-либо из дверей окажется открытой, то автоматического запирания не произойдет во избежание запирания ключей внутри автомобиля. Функция может быть отключена при установке.
При включенном зажигании замки дверей автомобиля могут быть в любой момент заперты или открыты нажатием на пульте кнопок 1 или 2 соответственно.
Режим включается и выключается программированием.
Если режим программно включен, то через 1 минуту после открывания двери при выключенном зажигании включится блокировка двигателя. Никакие другие зоны охраны в этом случае активизироваться не будут, замки дверей не запираются.
При включении зажигания в течение минуты после открывания двери, активизация режима отменяется до того момента, когда дверь снова будет открыта при выключенном зажигании.
Режим иммобилайзера также автоматически включится, если после выключения зажигания все двери остаются закрытыми в течение 10 минут.
Для отключения иммобилайзера нажмите, при включенном зажигании, одну из четырех кнопок пульта управления. Какую именно - выбирается программированием. Заводская установка - кнопка 1.
Если по каким-либо причинам Вы не можете воспользоваться пультом для отключения иммобилайзера, введите PIN код, также как при аварийном отключении.
Если при попытке отключить иммобилайзер, нажата не та кнопка, которая запрограммирована для его отключения, немедленно включится тревога, отключить которую можно следующими способами:
В первом и втором случае тревога и блокировка двигателя отключатся одновременно. В третьем случае тревога отключится, но блокировка двигателя сохранится до нажатия нужной кнопки или ввода правильного PIN кода.
Включив программно режим иммобилайзера, помните, что:
Примечание: Если программно включен режим Автопостановки, режим иммобилайзера активизироваться не будет, независимо от установки соответствующего программного переключателя.
Ваша охранная система оснащена специальной противоразбойной функцией. Anti-Hi-jack, которая будет автоматически активизирована при включении зажигания, а также в случае открывания любой двери при включенном зажигании. Оба режима можно включить и выключить программированием независимо друг от , друга.
Если функция программно включена и у Вас требуют отдать ключи и покинуть автомобиль, просто выполните требования грабителей, Anti-Hi-jack сам включит тревогу и заставит грабителей остановиться.
Для того, чтобы активизация Anti-Hi-jack не являлась помехой для движения автомобиля и у Вас была возможность спокойно отключить его, а также, чтобы не создавать опасной ситуации на дороге, не зависимо от способа активизации, противоугонная процедура проходит следующие этапы до момента включения полной тревоги и блокировки двигателя:
Если Вы дополнительно установили специальный модуль и программно включили функцию управления Anti-Hi-Jack в режиме "свободных рук", активизация Anti-Hi-Jack будет запрещена при наличии противоразбойной карточки внутри автомобиля. Возможность отключения Anti-Hi-Jack с помощью кода в этом режиме сохраняется.
Примечание 1: Для того, чтобы активизация Anti-Hi-Jack стала возможной, необходимо помимо программного включения функции, обязательно установить для системы двузначный код аварийного отключения.
Примечание 2: Если Вы одновременно используете Anti-Hi-Jack и режим пассивного иммобилайзера, то после включения зажигания необходимо сначала отключить иммобилайзер, а затем ввести код для отключения Anti-Hi-Jack.
ВНИМАНИЕ! Если активизирована противоугонная процедура Anti-Hi-Jack, выполнение системой любых команд пульта дистанционного управления, кроме ввода персонального отключающего кода, заблокировано.
Для временного предотвращения активизации Anti-Hi-Jack можно использовать также Valet-режим.
Если при постановке на охрану какая-либо дверь, капот или багажник окажутся незакрыты, Вы услышите 3 звуковых сигнала вместо одного и фонари мигнут 3 раза.
В случае включения тревоги в период охраны, при снятии с охраны Вы услышите дополнительную трель сирены. Тремя сериями вспышек светодиода после включения зажигания система сообщит о причине вызвавшей тревогу:
| Количество вспышек в серии | Вид датчика |
|---|---|
| 2 | Салонный датчик |
| 3 | Концевик двери "-" или "+" |
| 4 | Концевик багажника |
| 5 | Зажигание |
Режим включается программированием.
Если автомобиль имеет функцию задержки салонного света, и программно включен режим учета задержки, концевики дверей будут взяты под охрану только после того, как погаснет свет в салоне. Оповещение о незакрытых дверях при постановке на охрану в этом режиме отсутствует.
Если в период, когда сигнализация стоит на охране или находится в Valet-режиме на 3 сек. нажать кнопку 3, сирена издаст один звуковой сигнал, и фонари мигнут шесть раз, обозначив место автомобиля на стоянке.
В этом режиме отключаются все охранные функции системы. Вы можете включить его, например, когда отдаете автомобиль на сервис, и тогда Вам не придется оставлять там пульт управления Вашей сигнализации. Это абсолютная гарантия от несанкционированной записи новых пультов в память Вашей охранной системы.
Для включения режима необходимо при отключенной охране и включенном зажигании на 3 сек. нажать кнопку 4, трижды мигнут сигнальные фонари, светодиод системы загорится в постоянном режиме. В Valet-режиме сохраняется возможность дистанционного управления центральным замком и дополнительными каналами. Повторное нажатие кнопки 4 при включенном зажигании возвращает систему в режим нормальной эксплуатации, о чем она сообщает тремя звуковыми сигналами.
В стандартный комплект Mongoose DUPLEX входит 2 пульта управления: один двунаправленный и один стандартный, однако сигнализация способна запомнить до 4 пультов в любой комбинации, и если у Вас возникла необходимость увеличить количество пультов для управления Вашей охранной системой, Вы можете запрограммировать их используя следующую процедуру:
Для того чтобы изменить значение PIN-кода, стереть из памяти системы ненужные Вам пульты управления, включить или выключить Anti-Hi-Jack, установить новое значение программируемых функций, необходимо, прежде, выполнить программирование пультов, описанное выше, причем для этого можно использовать пульт, который уже известен системе. Затем выполнить следующую процедуру:
| Функция переключателя | Заводская установка | Кнопка 1 светодиод горит |
Кнопка 2 светодиод не горит |
|
|---|---|---|---|---|
| Автопостановка на охрану | ВЫКЛ. | ВКЛ. | ВЫКЛ. | |
| 1-3 | Запирание дверей при перепостановке на охрану | ВКЛ. | ВКЛ. | ВЫКЛ. |
| 1-4 | Запирание дверей при включении зажигания | ВКЛ. | ВКЛ. | ВЫКЛ. |
| 1-5 | Звуковые сигналы подтверждения выполнения команд | ВКЛ. | ВКЛ. | ВЫКЛ. |
| 1-6 | Длительность импульса центрального замка | 0,6 сек. | 0,6 сек. | 4 сек. |
| 2-1 | Программируемый выход Для увеличения номера функции нажмите кнопку 1, для уменьшения - кнопку 2. Светодиод сериями вспышек покажет номер установленной функции. |
Багажник | 1. Багажник 2. Импульс-защелка 3. Комфорт 4. Противоразбойная карточка (только при установке дополнительного модуля) |
|
| 2-3 | Учет задержки салонного света | ВЫКЛ. | ВКЛ. | ВЫКЛ. |
| 2-4 | Массивный иммобилайзер | ВЫКЛ. | ВКЛ. | ВЫКЛ. |
| 2-5 | Блокировка с имитацией неисправности | ВЫКЛ. | BKЛ. | ВЫКЛ. |
| 2-6 | Активизация Anti Hi-Jack при открывании двери | ВЫКЛ. | ВКЛ. | ВЫКЛ. |
| 2-7 | Активизация Anti Hi-jack при включении зажигания | ВЫКЛ. | ВКЛ. | ВЫКЛ. |
| 2-8 | Управление Anti Hi-jack в режиме "свободных рук" (только при установке дополнительного модуля) | ВЫКЛ. | ВКЛ. | ВЫКЛ |
| 3-1 | Изменение PIN кода 1-9 (только кнопка 2). Изменение PIN кода 11-99 (кнопка 1+ кнопка 2) Внимание! Нельзя установить код используя только кнопку 1, то есть коды 10, 20 и т.д. не существуют. |
1 | Нажать требуемое число раз для ввода десятков | Нажать требуемое число раз для ввода единиц |
| 3-2 | Стирание кодов всех пультов кроме используемого | --- | Нажать кнопки 1&2 вместе | |
| 3-3 | Возврат к заводским установкам | --- | Нажать кнопки 1&2 вместе | |
| 3-4 | Кнопка отключения пассивного иммобилайзера | Кнопка 1 | Нажать одну из кнопок | |
Внимание! Эта часть инструкции предназначена только для профессиональных установщиков.
Перед началом установки отсоедините "-" клемму аккумулятора автомобиля.
| Напряжение питания | 10...15 В |
| Потребляемый ток в режиме охраны | 20 мА |
| Частота радиоканала | 433,92 МГц |
| Диапазон рабочих температур | -40...+85°С |
| Максимально допустимый ток | |
| - цепи блокировки двигателя | З0А |
| - цепей сигнальных фонарей | 10 А |
| - цепей управления центральным замком | 15 А |
| Максимальный радиус действия пультов управления | 30 м |
| Радиус действия канала пейджера | 400 м |
| Тип модуляции сигнала пейджера | FSK(ЧM) |
| Тип модуляции сигнала управления | ASK (AM) |
| Назначение провода | Цвет провода | Примечание | |
| 1 | Выход на сирену | Коричневый | + 2А |
| 2 | не используется | ||
| 3 | Выход состояния | Коричневый/белый | "-" 300 мА при охране |
| 4 | Концевик капот/багажник "-" | Серый | |
| 5 | Программируемый выход "-" 300 мА (дополнительный канал) | Голубой/черный | 1. Багажник 2. Импульс-защелка 3. Комфорт 4. Противоразбойная карточка (только при установке дополнительного модуля) |
| 6 | Вход зажигания | Оранжевый | +12В |
| 7 | Концевик двери "-" | Зеленый | |
| 8 | Вход управления центральным замком "-" | Коричневый/черный | Подключить к выходу 5-проводного актуатора, нa котором "-" появляется в положении "открыто" и исчезает в положении "закрыто" |
| 9 | Корпус | Черный | "-" |
| 10 | Питание блока | Зеленый/коричневый | +12В, Пр. 5А |
| 11 | Запирание НЗ контакт | Серый/желтый | Внутреннее реле |
| 12 | Запирание ОБЩ контакт | Серый/красный | Внутреннее реле |
| 13 | Запирание НО контакт | Красный/желтый | Внутреннее реле |
| 14 | Отпирание НЗ контакт | Голубой/желтый | Внутреннее реле |
| 15 | Отпирание ОБЩ контакт | Голубой/красный | Внутреннее реле |
| 16 | Отпирание НО контакт | Красный/черный | Внутреннее реле |
| 17 | Концевик двери "+" | Желтый | |
| 18 | Выход на фонари 1 | Черный/зеленый | Внутреннее реле |
| 19 | Питание фонарей | Красный | +12 В, Пр. 15А |
| 20 | Выход на фонари 2 | Черный/белый | Внутреннее реле |
| Два черных провода с разъемом | Силовой выход блокировки двигателя | Внутреннее реле | |
| Выход светодиода | 2-контактный разъем | ||
| Вход кнопки аварийного отключения | 2-контактный разъем | ||
| Два входа двухуровневых датчиков | Два 4-контактных разъема | ||
| Вход модуля связи | 3-контактный разъем |


