Некоторые установки системы можно изменить в режиме программирования. В системе предусмотрено одиннадцать уровней программирования, каждый из которых имеет несколько подуровней.
В настоящем руководстве это обозначается комбинацией из двух цифр, первая из которых соответствует номеру уровня, а вторая - номеру подуровня.
Процесс программирования можно описать так:
ПРИМЕЧАНИЕ: Каждое нажатие кнопки VALET сопровождается оранжевой вспышкой индикатора состояния. Пауза между нажатиями не должна превышать 1 сек.
Система позволяет программировать все настройки по радиоканалу при помощи компьютера. Для осуществления данной операции необходим модуль программирования по радиоканалу RMP-01. Модуль вместе с управляющей программой поставляется отдельно.
Подготовка включает следующие этапы:

Системные требования для работы с модулем RMP-01:
Заводские установки системы отмечены серым фоном.
| Название уровня | Уровень и подуровень | Индикатор | |
|---|---|---|---|
| КРАСНЫЙ | ЗЕЛЕНЫЙ | ||
| Запись брелоков в память системы | 1. Поочередная запись брелоков (до четырех) | См. описание | |
| Занесение секретного кода | 2. Ввод нового секретного кода | См. описание | |
| Работа сирены | 3.1 Сигнал сирены при предупредительном уровне датчиков | ЗАПРЕЩЕНО | РАЗРЕШЕНО |
| 3.2 Сигнал сирены в режиме "Тревога" и "Паника" | ЗАПРЕЩЕНО | РАЗРЕШЕНО | |
| Функции иммобилайзера, блокировок и автопостановки на охрану | 4.1 Включение иммобилайзера через 25 сек. после снятия с охр. | ЗАПРЕЩЕНО | РАЗРЕШЕНО |
| 4.2 Включение иммобилайзера сразу после снятия с охраны | ЗАПРЕЩЕНО | РАЗРЕШЕНО | |
| 4.3 Автоматическая перепостановка на охрану | ЗАПРЕЩЕНО | РАЗРЕШЕНО | |
| 4.4 Пассивная постановка на охрану | ЗАПРЕЩЕНО | РАЗРЕШЕНО | |
| 4.5 Тип контактов реле блокировки | НОРМ. РАЗОМКН | НОРМ. ЗАМКН. | |
| 4.6 Внешнее кодовое или обычное НР реле по тайм. каналу №1 | Т.КАНАЛ №1 | ВНЕШ.РЕЛЕ | |
| 4.7 Использование встроенного реле блокир. для тайм. канала №1 | БЛОКИРОВКА | Т.КАНАЛ №1 | |
| Работа таймерного канала №1 | 5.1 Управление замком багажника по таймерному каналу | ЗАПРЕЩЕНО | РАЗРЕШЕНО |
| 5.2 Функция поддержки зажигания | ЗАПРЕЩЕНО | РАЗРЕШЕНО | |
| 5.3 Включение таймерного канала при постановке на охрану | ЗАПРЕЩЕНО | РАЗРЕШЕНО | |
| 5.4 Включение таймерного канала при снятии с охраны | ЗАПРЕЩЕНО | РАЗРЕШЕНО | |
| 5.5 Вкл./ выкл. постоянно таймерного канала кнопкой "4" брелока | ЗАПРЕЩЕНО | РАЗРЕШЕНО | |
| 5.6 Тип нажатия кнопки "4" брелока для срабатывания канала | ДЛИННОЕ | КОРОТКОЕ | |
| 5.7 Длительность работы таймерного канала | 0,8 СЕК | ||
| Работа таймерного канала №2 | 6.1 Управление замком багажника по таймерному каналу | ЗАПРЕЩЕНО | РАЗРЕШЕНО |
| 6.2 Функция поддержки зажигания | ЗАПРЕЩЕНО | РАЗРЕШЕНО | |
| 6.3 Включение таймерного канала при постановке на охрану | ЗАПРЕЩЕНО | РАЗРЕШЕНО | |
| 6.4 Включение таймерного канала при снятии с охраны | ЗАПРЕЩЕНО | РАЗРЕШЕНО | |
| 6.5 Вкл./ выкл. постоянно таймерного канала кнопкой "3" брелока | ЗАПРЕЩЕНО | РАЗРЕШЕНО | |
| 6.6 Тип нажатия кнопки "3" брелока для срабатывания канала | ДЛИННОЕ | КОРОТКОЕ | |
| 6.7 Длительность работы таймерного канала | 0,8 СЕК | ||
| Работа канала дистанционного радиооповещения (таймерного канала №3) | 7.1 Вкл. канала радиооповещения при предупредительном уровне | ЗАПРЕЩЕНО | РАЗРЕШЕНО |
| 7.2 Вкл. канала радиооповещения при снятии с охраны | ЗАПРЕЩЕНО | РАЗРЕШЕНО | |
| 7.3 Вкл. канала радиооповещения при постановке на охрану | ЗАПРЕЩЕНО | РАЗРЕШЕНО | |
| 7.4 Вкл. канала радиооповещения в режиме тревоги | ЗАПРЕЩЕНО | РАЗРЕШЕНО | |
| 7.5 Длительность работы канала радиооповещения | 15 СЕК | ||
| Управление замками дверей | 8.1 Длительность сигнала управления замками дверей | 0,8 СЕК | 5 СЕК. |
| 8.2 Запирание/ отпирание замков при вкл./выкл. зажигания | ЗАПРЕЩЕНО | РАЗРЕШЕНО | |
| 8.3 Режим "Комфорт" | ЗАПРЕЩЕНО | РАЗРЕШЕНО | |
| 8.4 Отпирание дверей при снятии с охраны | ЗАПРЕЩЕНО | РАЗРЕШЕНО | |
| 8.5 Отпирание дверей двойным импульсом | ЗАПРЕЩЕНО | РАЗРЕШЕНО | |
| 8.6 Запирание дверей двойным импульсом | ЗАПРЕЩЕНО | РАЗРЕШЕНО | |
| 8.7 Длительность импульса "Комфорт" | 15 СЕК | ||
| Специальные функции | 9.1 Функция "ANTI HI JACK" | ЗАПРЕЩЕНО | РАЗРЕШЕНО |
| 9.2 Восстановление заводских настроек | ЗАПРЕЩЕНО | РАЗРЕШЕНО | |
| Управление датчиками | 10.1 Полярность датчика капота | ОТРИЦАТЕЛЬНАЯ | ПОЛОЖИТЕЛЬНАЯ |
| 10.2 Полярность датчика дверей | ОТРИЦАТЕЛЬНАЯ | ПОЛОЖИТЕЛЬНАЯ | |
| 10.3 Полярность датчика багажника | ОТРИЦАТЕЛЬНАЯ | ПОЛОЖИТЕЛЬНАЯ | |
| 10.4 Откл. конц. выключателя двери при постановке на охрану | ЗАПРЕЩЕНО | РАЗРЕШЕНО | |
| 10.5 Задержка отключения конц. выключателя двери при постановке на охрану | 15 СЕК | ||
| Настройка чувствительности датчика удара | 11.1 Настройка предупредительного уровня | См. описание | |
| 11.2 Настройка тревожного уровня | См. описание | ||
В систему можно записать не более четырех брелоков. При записи любого количества брелоков (до четырех) в оставшиеся ячейки так же автоматически прописываются коды тех же брелоков, что обеспечивает защиту от записи посторонних пультов.
При утере брелока необходимо заново записать коды оставшихся брелоков, чтобы удалить из памяти код утерянного. При входе на этот уровень и записи хотя бы одного брелока, все пульты, записанные до этого в систему, будут стерты.
Войти на первый уровень. Запись брелоков производится последовательно (один за другим). Два раза нажмите и отпустите любую кнопку 1-го брелока. При успешной записи индикатор выдаст серию из двух оранжевых вспышек. Затем таким же образом произведите запись оставшихся брелоков. Для выхода из этого уровня нажмите кнопку VALET. Если был записан хотя бы 1 брелок, то индикатор выдаст серию красных и зеленых вспышек. Если ни один брелок не был записан, то индикатор вспыхнет красным.
Секретный код, состоит из трех чисел от 1 до 9, и позволяет управлять работой системы в отсутствие брелока.
Заводская установка секретного кода - "1 - 1 - 1".
ВНИМАНИЕ! Запомните и запишите свой секретный код и храните его вне автомобиля. Без секретного кода Вы не сможете менять настройки системы и управлять ей без брелока. Для обеспечения секретности в начале эксплуатации необходимо изменить заводской секретный код.
Ввод нового секретного кода осуществляется после входа на первый подуровень:
По окончании ввода индикатор гаснет и система ожидает ввода номера нового уровня.
На данном уровне можно настроить работу сирены в различных ситуациях. Настройки будут иметь силу каждый раз при постановке на охрану.
Подуровень 3.1 - разрешает работу сирены при срабатывании предупредительного уровня датчиков. Заводская установка -"РАЗРЕШЕНО".
Подуровень 3.2 - разрешает работу сирены в режимах "Тревога" и "Паника". Заводская установка -"РАЗРЕШЕНО".
На данном уровне настраивается работа иммобилайзера, автопостановки на охрану, пассивной постановки на охрану, способ блокировки, а так же тип контактов встроенного реле. От установленного типа контактов реле блокировки зависит алгоритм его работы.
Подуровень 4.1 - разрешает включение функции иммобилайзера через 25 сек. после снятия с охраны. Отсчет времени будет запущен после открытия двери. Заводская установка -"ЗАПРЕЩЕНО".
Подуровень 4.2 - разрешает включение функции иммобилайзера сразу после снятия с охраны. Иммобилайзер включится немедленно при открытии двери. Заводская установка -"ЗАПРЕЩЕНО".
Подуровень 4.3 - разрешает включение функции автоматической перепостановки на охрану. Заводская установка -"ЗАПРЕЩЕНО".
Подуровень 4.4 - разрешает включение функции пассивной постановки на охрану. Заводская установка -"ЗАПРЕЩЕНО".
Подуровень 4.5 - задается тип контактов встроенного реле блокировки - НОРМАЛЬНО ЗАМКНУТЫЕ / НОРМАЛЬНО РАЗОМКНУТЫЕ. Заводская установка -"НОРМАЛЬНО ЗАМКНУТЫЕ".
Подуровень 4.6 - разрешает управление дополнительным внешним реле блокировки по выходу таймерного канала №1. Реле может быть либо обычным НР реле, либо однопроводным кодовым реле с динамическим кодом. Для управления кодовым реле достаточно подключить его к таймерному каналу №1 и установить данный пункт программирования в состояние "ВНЕШ.РЕЛЕ". Программирование кодового реле в систему описано в пункте "Блокировки двигателя". Заводская установка "Т.КАНАЛ №1"
Подуровень 4.7 - разрешает использование встроенного реле блокировки для таймерного канала №1. При установке значения "Т.КАНАЛ №1" реле срабатывает только от таймерного канала №1, при значении "БЛОКИРОВКА" (заводская установка) реле работает только для блокировки.
В случае, когда Подуровни 5.1- 5.5 данного уровня находятся в состоянии "ЗАПРЕЩЕНО" таймерный канал будет управляться только кнопкой "4"* брелока (в зависимости от установки подуровня 5.6 - длинными или короткими нажатиями). При каждом нажатии на кнопку на выходе таймерного канала будет появляться сигнал с длительностью установленной в Подуровне 5.7
Подуровень 5.1 - разрешает управление электрозамком багажника с помощью данного таймерного канала. При срабатывании таймерного канала во время охраны временно отключается датчик удара и датчик багажника. Управление происходит, только кнопкой "4"* брелока. Если функция разрешена, то она автоматически запрещает работу подуровней 5.3 и 5.4. На Подуровне 5.2 в этом случае автоматически установится значение "ЗАПРЕЩЕНО". Заводская установка -"ЗАПРЕЩЕНО".
Подуровень 5.2 - разрешает управление поддержкой зажигания с помощью данного таймерного канала. Таймерный канал срабатывает, только если система снята с охраны и включено зажигание. Если в течение 30 сек. не произошло постановки на охрану с включенным двигателем, таймерный канал отключается. Управление происходит, только кнопкой "4"* брелока. Если функция разрешена, то она автоматически запрещает работу подуровней 5.3 и 5.4. На Подуровне 5.1 в этом случае автоматически установится значение "ЗАПРЕЩЕНО". Заводская установка -"ЗАПРЕЩЕНО".
Подуровень 5.3 - разрешает автоматическое включение таймерного канала при постановке на охрану. Заводская установка -"ЗАПРЕЩЕНО".
Подуровень 5.4 - разрешает автоматическое включение таймерного канала при снятии с охраны. Заводская установка -"ЗАПРЕЩЕНО".
Подуровень 5.5 - разрешает триггерное переключение таймерного канала кнопкой брелока (одно нажатие включает на неограниченное время, второе - выключает ). При разрешении данной функции, другие функции 5.1-5.4 не действуют. Управление таймерным каналом происходит, как обычно, кнопкой "4"* брелока. Заводская установка -"ЗАПРЕЩЕНО".
Подуровень 5.6 - устанавливается - от какого нажатия кнопки "4"* брелока будет срабатывать таймерный канал №1, от длинного или от короткого. Заводская установка -"КОРОТКОЕ".
Подуровень 5.7 - установка длительности включения выхода таймерного канала. Для этого необходимо войти на данный подуровень. Индикатор погашен. Нажмите и удерживайте кнопку VALET (индикатор включится оранжевым цветом) в течение времени, равного требуемой длительности таймера (но не более 10 мин). При отпускании кнопки время работы таймера будет зафиксировано, система вспышками индикатора красного и зеленого цвета подтвердит его запись в память, после чего индикатор гаснет и система ожидает ввода номера нового уровня. Заводская установка - 0,8 сек. (оптимизировано для использования с замком багажника или замком двери).
ПРИМЕЧАНИЕ: При использовании трехкнопочного брелока управление обоими таймерными каналами будет происходить кнопкой "3" брелока, с разной длительностью нажатия.
Подуровни 6.1 - 6.7 настраиваются аналогично подуровням 5.1-5.7 и имеют такое же назначение. Таймерный канал №2 в отличие от таймерного канала №1 имеет встроенное реле и предустановлен для управления замком багажника. Управление осуществляется кнопкой "3" брелока.
В случае, когда Подуровни 7.1- 7.4 данного уровня находятся в состоянии "ЗАПРЕЩЕНО" на канал дистанционного радиооповещения не будет выдаваться никаких сигналов.
Подуровень 7.1 - разрешает включение канала радиооповещения при срабатывании предупредительного уровня датчиков. Заводская установка -"ЗАПРЕЩЕНО".
Подуровень 7.2 - разрешает включение канала радиооповещения при снятии с охраны. Заводская установка -"ЗАПРЕЩЕНО".
Подуровень 7.3 - разрешает включение канала радиооповещения при постановке на охрану. Заводская установка -"ЗАПРЕЩЕНО".
Подуровень 7.4 - разрешает включение канала радиооповещения в режиме тревоги. Заводская установка -"ЗАПРЕЩЕНО".
Подуровень 7.5 - установка длительности включения выхода канала радиооповещения. Для этого необходимо войти на данный подуровень. Индикатор погашен. Нажмите и удерживайте кнопку VALET (индикатор включится оранжевым цветом) в течение времени, равного требуемой длительности работы (но не более 10 мин). При отпускании кнопки время работы канала будет зафиксировано. Система вспышками индикатора красного и зеленого цвета подтвердит его запись в память, после чего индикатор гаснет и система ожидает ввода номера нового уровня.
Заводская установка - 15 сек.
Независимо от установок подуровней закрытие дверей происходит автоматически при постановке на охрану, при этом используются настройки Подуровней 8.1, 10.4, 10.5
Подуровень 8.1 - установка длительности сигнала управления замками. Предусмотрено два типа длительности 0,8СЕК. и 5СЕК. Заводская установка -0,8СЕК
ВНИМАНИЕ! Неправильный выбор длительности и типа импульса может привести к выходу из строя центрального замка автомобиля. Программирование данной функции должно осуществляться только в специализированных центрах квалифицированными специалистами.
ПРИМЕЧАНИЕ: Если длительность сигнала установлена 5 СЕК., то управление центральным замком будет осуществляться только одинарными импульсами.
Подуровень 8.2 - разрешает автоматическое запирание замков при включении зажигания и отпирание замков при выключении зажигания. Заводская установка -"ЗАПРЕЩЕНО".
Подуровень 8.3 - разрешает режим "Комфорт" - длинный импульс при закрывании дверей. Если центральный замок автомобиля поддерживает данный режим, то вместе с дверными замками будут закрыты окна, люки и т.д. При совместном использовании с режимом "Комфорт" запирания двойными импульсами, первый импульс будет 0.8 СЕК а второй -"Комфорт" Длительность импульса "Комфорт" устанавливается в подуровне 8.7 Заводская установка -"ЗАПРЕЩЕНО". При запирании дверей двойным импульсом.
Подуровень 8.4 - разрешает отпирание дверей при снятии с охраны. Заводская установка -"РАЗРЕШЕНО".
Подуровень 8.5 - разрешает отпирание дверей двойным импульсом. Если состояние данного уровня - "РАЗРЕШЕНО", то открытие дверей будет происходить в 2 этапа. При первом нажатии на кнопку "2" брелока, базовый блок выдаст первый импульс (для открытия только водительской двери), при втором нажатии - второй импульс, для открытия всех остальных дверей. Длительность каждого импульса будет соответствовать подуровню 8.1. Если разрешен Подуровень 8.4 , то при снятии с охраны первый импульс будет выдан сразу. Если разрешен Подуровень 8.2 , то при выключении зажигания будут выдаваться два импульса, тем самым, открывая все двери. Если состояние данного уровня "ЗАПРЕЩЕНО", то открытие дверей будет происходить как обычно одним импульсом. Заводская установка -"ЗАПРЕЩЕНО".
Подуровень 8.6 - разрешает запирание дверей двойным импульсом. Если состояние данного уровня - "РАЗРЕШЕНО", то закрытие дверей всегда будет происходить двумя импульсами, следующими один за другим. Длительность каждого будет соответствовать Подуровню 8.1. Заводская установка -"ЗАПРЕЩЕНО".
Подуровень 8.7 - установка длительности импульса "Комфорт" (если разрешена функция 8.3). Обычно длительность этого импульса должна находиться в диапазоне 15 - 35СЕК. Для установки длительности необходимо войти на данный подуровень. Индикатор погашен. Нажмите и удерживайте кнопку VALET (индикатор включится оранжевым цветом) в течение времени, равного требуемой длительности (но не более 10 мин). При отпускании кнопки время будет зафиксировано, система красными и зелеными вспышками индикатора подтвердит запись в память, после чего индикатор гаснет и система ожидает ввода номера нового уровня.
Заводская установка - 15 сек.
Подуровень 9.1 - разрешает функцию "ANTI HI JACK". При запрещении данной функции будет невозможно включить с брелока, как активный режим данной функции, так и пассивный. Заводская установка - "ЗАПРЕЩЕНО".
Подуровень 9.2 - восстановление заводских настроек. Заводская установка - "ЗАПРЕЩЕНО". Для восстановления заводских настроек установите значение "РАЗРЕШЕНО", включите и кратковременно выключите зажигание, настройки будут восстановлены. До включения зажигания есть возможность отменить действие данного пункта, для этого верните его в состояние "ЗАПРЕЩЕНО".
В зависимости от установок подуровней 10.1-10.3, датчики будут реагировать либо на замыкание на "+", либо на массу. Можно установить отдельно полярность датчиков капота, дверей, багажника. Заводская установка полярности всех датчиков "ОТРИЦАТЕЛЬНАЯ"
Подуровень 10.1 - Установка полярности датчика капота.
Подуровень 10.2 - Установка полярности датчика дверей.
Подуровень 10.3 - Установка полярности датчика багажника.
Подуровень 10.4 - Отключение датчика открывания двери при постановке на охрану. Настройка предназначена для установки системы на автомобили с функцией задержки выключения салонного света. При работе использует задержку установленную в подуровне 10.5 Заводская установка -"ЗАПРЕЩЕНО".
Подуровень 10.5 - установка длительности отключения датчика открывания двери при постановке на охрану (если разрешена функция 10.4). Для этого необходимо войти на данный подуровень. Индикатор погашен. Нажмите и удерживайте кнопку VALET (индикатор включится оранжевым цветом) в течение времени, равного требуемой длительности (но не более 10 мин). При отпускании кнопки время будет зафиксировано, система красными и зелеными вспышками индикатора подтвердит запись в память, после чего индикатор гаснет и система ожидает ввода номера нового уровня.
Заводская установка - 15 сек.
На данном уровне можно настроить чувствительность предварительного и тревожного уровней встроенного датчика удара. Для изменения чувствительности войдите или на подуровень 11.1 или 11.2. Всего предусмотрено 50 ступеней чувствительности для каждого из уровней. Индикатор горит постоянно, цвет - в зависимости от установленного значения плавно меняется от зеленого (минимальная чувствительность) до красного (максимальная чувствительность). Одно нажатие кнопки "1" брелока увеличивает, а одно нажатие кнопки "2" брелока уменьшает чувствительность на 1 ступень. При нажатии кнопок индикатор один раз мигает. При достижении максимального или минимального значения чувствительности индикатор перестает реагировать на нажатия кнопки брелока.
Чувствительность датчика можно проверить сразу, не выходя из данного уровня. Срабатывание предупредительного уровня выдаст три коротких звуковых и один световой сигнал, а тревожного уровня один длинный звуковой и световой сигнал. Индикатор в этот момент выдает зеленую вспышку для предупредительного уровня и красную для тревожного
При нажатии кнопки VALET чувствительность будет зафиксирована, система красными и зелеными вспышками индикатора подтвердит запись в память, после чего индикатор гаснет и система переходит на следующий подуровень.
Заводские установки чувствительности - 44 СТУПЕНЬ для предварительного уровня и 26 СТУПЕНЬ для тревожного уровня.
Подуровень 11.1 - Установка чувствительности предупредительного уровня встроенного датчика удара.
Подуровень 11.2 - Установка чувствительности тревожного уровня встроенного датчика удара.
В момент настройки чувствительности базовый блок со встроенным датчиком удара уже должен быть установлен и закреплен в автомобиле. Это обеспечит точность настройки. Не устанавливайте слишком высокую чувствительность датчиков, это может вызвать ложные срабатывания охранной системы.

Монтаж и эксплуатация охранной системы должны осуществляться в строгом соответствии с данным руководством.
ЗАПРЕЩАЕТСЯ производить подключение системы к электропроводке автомобилей другого типа или с номинальным напряжением отличным от 12В.
ЗАПРЕЩАЕТСЯ исключать штатно предусмотренные в охранной системе предохранители при подключении к электропроводке автомобиля.
ВНИМАНИЕ! Все мощные цепи с использованием внешних реле и других исполнительных устройств, не питающихся от базового блока охранной системы должны иметь свои предохранители в цепи питания.
ЗАПРЕЩАЕТСЯ производить подключение охранной системы, имеющей повреждения выходных кабелей.
ВНИМАНИЕ! Все места подключения выходных кабелей охранной системы к проводке автотранспортного средства должны быть тщательно изолированы и должны исключать возможность возникновения короткого замыкания при эксплуатации, или при попадании влаги в место контакта.
ВНИМАНИЕ! Все составные компоненты охранной системы должны быть тщательно закреплены. Крепление должно полностью исключать перемещение во время движения.
ВНИМАНИЕ! Для установки компонентов системы следует выбирать места, исключающие случайное их механическое повреждение и попадание внутрь агрессивных жидкостей и воды.
ВНИМАНИЕ! Охранная система является необслуживаемым устройством. Запрещается снимать его кожух. В случае отказа в работе ремонт должен производиться в специализированных мастерских.
Перед установкой внимательно изучите руководство по эксплуатации и руководство по монтажу. В процессе установки предохранители системы должны быть извлечены из своих гнезд. Распакуйте охранную систему. Выберите место установки базового блока. Это место должно быть труднодоступным для потенциального угонщика. Желательно выбрать место так, чтобы доступ к нему осуществлялся с помощью специального инструмента. Так как базовый блок имеет встроенный датчик удара, то при его монтаже необходимо обеспечить его стабильное срабатывание.
Установите базовый блок с помощью пластиковой стяжки или винтов-саморезов. Антенна базового блока, представляющая собой выходящий отрезок провода около 12 см длиной, должна быть расправлена на полную длину и расположена так, чтобы прием сигнала был устойчивым. Антенну не подключать!
Если вы устанавливаете дополнительный датчик (объема), выберите оптимальное место для его установки. Датчик закрепленный в этом месте должен хорошо и стабильно реагировать на проникновение в автотранспортное средство. Подключить кабель датчика к разъему X6-1 базового блока согласно рис.1.
Установите индикатор состояния системы на приборной панели так , чтобы обеспечить нормальный обзор как в салоне так и снаружи автомобиля, подключите кабель индикатора к разъему X2 согласно рис.1.
Установите кнопку VALET системы в легкодоступном, но в то же время скрытом от посторонних глаз месте, подключите кабель кнопки к разъему X4 согласно рис.1.
Произведите соединения шлейфов системы с проводкой автомобиля в соответствии с руководством по монтажу и учитывая топологию проводки автомобиля. При необходимости соедините базовый блок с дополнительными устройствами, такими как: центральный замок, блок управления стеклоподъемниками, запуском двигателя и т.д.
При установке однопроводного кодового реле BM-101 выберите место установки, подключите реле к базовому блоку, проведите процедуру программирования и замаскируйте реле в жгуте проводки изоляционной лентой.
Закрепите проводку изоляционной лентой, при этом желательно максимально обеспечить маскировку всей проводки
Установите предохранители в свои гнезда.
Запрограммируйте систему в соответствии с пожеланиями владельца автомобиля, используя руководство по программированию системы.
При подключении к базовому блоку внешних реле запрещается использовать защитные диоды. Они уже предусмотрены схемотехникой базового блока.
Четырехконтактный разъем служит для подключения дополнительного двухуровневого датчика (объема). Функциональное назначение контактов разъема X3 блока управления приведено ниже:

Система позволяет управлять дверными замками различных типов, с разной длительностью и типом управляющего сигнала. Предусмотрены следующие типы сигнала и длительности, которые выставляются при программировании системы. Раздел "программирование системы", уровень 8:
Одинарные сигналы для открытия и закрытия (программируется раздельно)
Двойные сигналы для открытия и закрытия (программируется раздельно)
Режим "Комфорт" при закрытии (длительность сигнала программируется)
Длительность сигналов открытия и закрытия для электрических замков - 0,8 сек. Длительность сигналов открытия и закрытия для пневматических замков - 5 сек.
Неверно установленная длительность сигнала управления центральным замком может привести к выходу из строя элементов или частей его схемы.
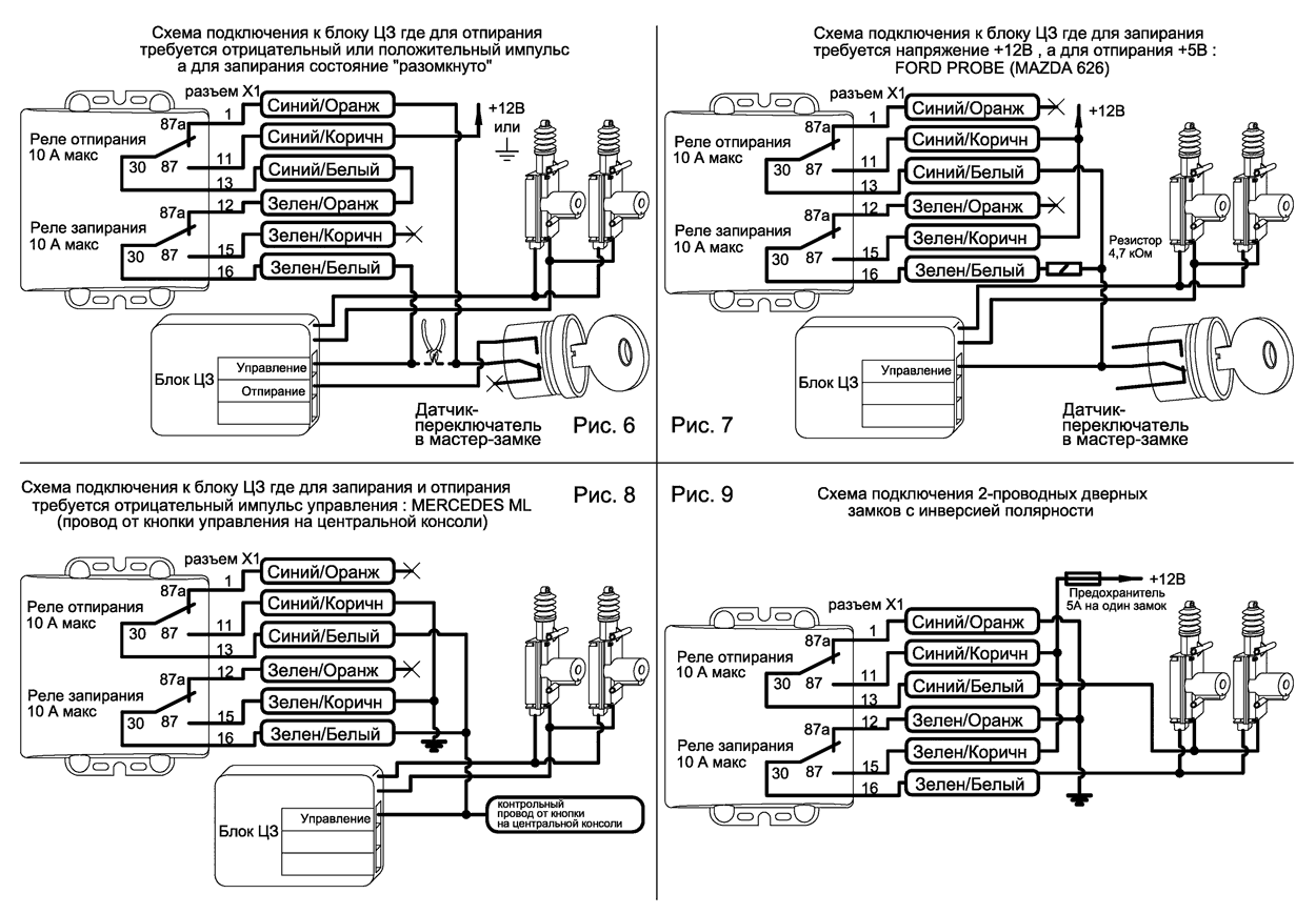
На рис. 2…10 приводятся различные примеры схем подключения дверных замков автомобилей.



Схему двухступенчатого открывания дверей (сначала дверь водителя, затем все остальные) возможно осуществить двумя способами. Если центральный замок автомобиля - поддерживает функцию управления двумя импульсами, то можно выбрать схему подключения по рис.2…9, а настройки Подуровней 8.5 и 8.6 - установить в состояние "РАЗРЕШЕНО". Тогда при снятии системы с охраны кнопкой "2" брелока будет открыта только дверь водителя, а для открытия остальных дверей будет нужно нажать кнопку "2" брелока еще раз. При постановке на охрану все двери будут блокированы двумя импульсами - от открывания снаружи и изнутри.
Если центральный замок устанавливается на автомобиль вместе с системой охраны, или существующий центральный замок не поддерживает функцию двухступенчатого открывания, то для ее реализации необходимо использовать таймерный канал. Схема подключения показана на рис. 10. Система должна быть запрограммирована следующим образом: Подуровни 5.1 - 5.6 (6.1 - 6.6), 8.4 - 8.6 - в соответствии с заводскими настройками. В этом случае при снятии системы с охраны кнопкой "2" брелока будет открыта только дверь водителя, а для открытия остальных дверей нужно коротко (длинно) нажать кнопку "3" брелока. При постановке на охрану все как обычно, двери блокируются автоматически.
Если центральный замок автомобиля поддерживает режим "Комфорт" - то система может автоматически закрывать не только двери, но так же окна, люк, и т.д. Для этого нужно разрешить подуровень 8.3 и установить требуемую длительность сигнала в подуровне 8.7
Базовый блок системы противоугонной сигнализации PANDORA RX-200 имеет одно внутреннее реле для осуществления блокировки двигателя. Все три контакта реле выведены на разъем X1 (17 контакт - общий вывод реле, 14 контакт - нормально замкнутый вывод реле, 18 контакт - нормально разомкнутый вывод реле). В данной модели охранной системы существует возможность осуществления блокировки двигателя как нормально замкнутыми, так и нормально разомкнутыми контактами. Выбранный способ блокировки реализуется путем выбора нужной схемы подключения к электропроводке автомобиля и установкой типа блокировки (нормально замкнутая/нормально разомкнутая) при программировании системы.
Блокировка нормально замкнутыми контактами - во время нормальной эксплуатации автомобиля контакты реле все время замкнуты и размыкаются в следующем случае:
Блокировка нормально разомкнутыми контактами - реле все время разомкнуто, контакты замыкаются в следующем случае:
Внутреннее реле блокировки базового блока рассчитано на блокировку цепей автомобиля, ток в которых не превышает 10А.
Данная система так же имеет возможность блокировки однопроводным кодовым реле скрытой блокировки с динамическим кодом BM-101 (приобретается отдельно). Преимущества данного способа блокировки заключаются в том, что даже при обнаружении базового блока системы срытое реле невозможно включить простой подачей питания или замыканием провода на массу. Реле имеет небольшие габаритные размеры и может быть замаскировано в жгуте электропроводки. Подключение реле производится следующим образом:

ПРИМЕЧАНИЕ: При помощи указанного выше способа можно управлять обычным внешним НР реле, при этом пункты 5-8 не выполняются.
ПРИМЕЧАНИЕ: Если при использовании внешнего реле, встроенное реле блокировки не используется, его можно назначить для таймерного канала №1 (подуровень 4.7 режима программирования ), при этом как реле блокировки оно работать не будет.
Чаще всего блокировки устанавливаются на следующие цепи автомобиля:
Типовые схемы реализации блокировок двигателя приведены на рисунках 11, 12, но необходимо помнить, что блокировки, имеющие высокую стойкость к взлому, получаются только с применением нестандартного подхода.
Необходимо учитывать, что способ блокировки не должен создавать проблем во время движения автомобиля и снижать управляемость. При несоблюдении данного требования, в случае создания аварийных ситуаций компания ответственности не несет.
Для питания исполнительных реле блокировки следует выбирать такие цепи автомобиля, в которых во время движения не пропадает даже временно, напряжение +12В, или не отключается масса.
Таймерные каналы могут использоваться для управления различными исполнительными устройствами автомобиля. Таймерный канал №1 выведен на 7 контакт разъема X1 базового блока. Максимальный ток, обеспечиваемый каналом не более 300мА. Во время работы канала на его выходе присутствует низкий уровень напряжения. В пассивном состоянии выход отключен. Заводская настройка данного таймерного канала №1 - для управления замком двери коротким нажатием кнопки "4" брелока.
Посредством выхода таймерного канала №1 можно управлять однопроводным кодовым реле скрытой блокировки с динамическим кодом BM-101 (см. раздел "Блокировки двигателя"). При этом если нет необходимости использовать встроенное реле блокировки, его можно назначить для таймерного канала №1
Таймерный канал №2 выведен на разъем X5 (3 контакт - общий вывод реле, 1 контакт - нормально замкнутый вывод реле, 2 контакт - нормально разомкнутый вывод реле). Максимальный ток, коммутируемый реле не более 10А. Заводская настройка таймерного канала №2 - для управления замком багажника коротким нажатием кнопки "3" брелока.
Примерный перечень оборудования, для управления которым используются таймерные каналы, может включать:
Для подключения к таймерным каналам устройств с током потребления выше допустимого необходимо применять внешние мощные реле (не входят в комплект).
Алгоритм работы таймерных каналов, и временные характеристики задаются при программировании системы.
Схемы примерного использования таймерных каналов показаны на рис 10, 13, 14, 15, 16.
Канал радиооповещения выведен на 9 контакт разъема X1 базового блока и предназначен для подключения питания передатчика радиопейджера (в комплект не входит). Посредством данного выхода осуществляется дистанционное оповещение о наступлении тревожных событий через радиопейджер. При этом на 9 контакте разъема появляется +12В, тем самым, включая передатчик радиопейджера. Максимальный ток, потребляемый передатчиком, должен быть не более 3А.
События, при которых базовый блок системы может включать передатчик радиопейджера, задаются при программировании системы.
Если передатчик радиопейджера потребляет ток более 3А то для его подключения необходимо использовать внешнее реле (не входит в комплект). Примерное подключение показано на рис. 17. При необходимости канал радиооповещения может использоваться как таймерный канал №3, без управления с брелока, для этого при программировании системы необходимо в настройках указать его назначение.
Для подключения звуковой сигнализации используется 8 контакт разъема X1 базового блока. В момент активации данного канала на выводе присутствует +12В. Максимальный ток канала 3А. Если потребляемый ток сирены выше данного значения, или используются две сирены, то их подключение необходимо производить через внешнее реле (не входит в комплект) по схеме на рисунке 17.
Для подключения световой сигнализации используются 10 и 19 контакты разъема X1 базового блока. Максимальный ток по каждому из каналов не более 5А. Питание каналов световой сигнализации осуществляется отдельно от питания базового блока через 20 контакт того же разъема, в цепь питания установлен предохранитель 10А.
При установке базового блока провод с 10 контакта разъема X1 подключается к проводке фонарей левого поворота, а 19 контакт того же разъема к проводке фонарей правого поворота.
При необходимости использования в качестве аварийной сигнализации габаритных фонарей, провода от 10 и 19 контактов замыкаются между собой и подключаются к проводке габаритных огней.

Подключение концевых выключателей дверей производится к 4 контакту разъема X1 базового блока. Обычно в автомобилях стационарные концевые выключатели дверей подключены параллельно и вывод от любого из выключателей, можно подключить к базовому блоку.
Если в автомобиле предусмотрен блок управления салонным освещением или выключатели дверей подключены раздельно, то к базовому блоку охранной системы возможно подключить вывод салонного освещения. Необходимо удостовериться, что на выводе салонного освещения, при открывании дверей, всегда появляется напряжение +12В независимо от положения выключателей.
Базовый блок позволяет подключать концевые выключатели дверей подключенные как к +12В так и к массе автомобиля. Полярность выключателя устанавливается при программировании системы. Так же при программировании системы возможно установить задержку при принятии концевого выключателя под охрану, что необходимо на автомобилях с задержкой выключения салонного освещения.
Подключение концевых выключателя капота производится к 5 контакту разъема X1, а концевого выключателя багажника к 4 контакту разъема X5 базового блока. При необходимости можно использовать заводские концевые выключатели, установленные на автомобиле, подключив их базовому блоку и настроив полярность, либо использовать концевые выключатели в комплекте охранной системы, установив их в удобном месте.
