Free Japan Cars Factory Service Manuals
[ICO]NameSize
[PARENTDIR]Parent Directory -
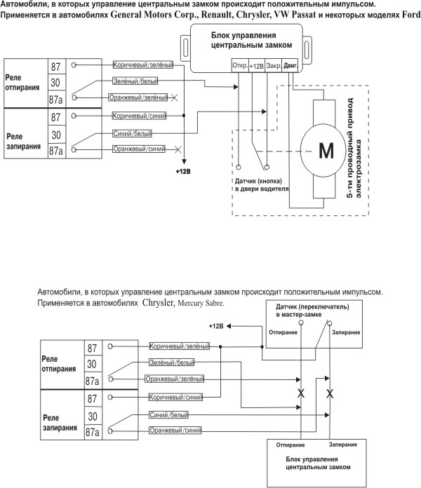
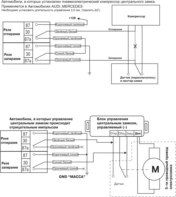
[IMG]kn1.jpg2.5K
[IMG]kn2.jpg2.7K
[IMG]kn3.jpg3.5K
[IMG]locksmt1.jpg 86K
[IMG]locksmt2.jpg 76K
[IMG]locksmt3.jpg 77K
[TXT]scs5000smt-ug.htm 22K
[IMG]scs5000smt.jpg107K
Thanks to donations there are no ads! All manuals are available on downloadable archives HERE. You will get the pass with 5 EUR donation. If you have new service manuals, send them my way to be shared with the fellow owners!   
Contact