Автомобильная сигнализация ND6 - компактная система со встроенной автономной сиреной. Оснащена двухкнопочным пультом радиоуправления с изменяемым, кодом. Может управлять модулями закрытия/открытия дверей. Имеет входы для сигналов с концевиков дверей, капота и багажника, а также вход для подключения датчика удара (например, GM 300, GMS).ЭTOT датчик можно исключить с пульта радиоуправления. При монтаже устанавливаются следующие функции: Паника, Комфорт, Звуковое подтверждение при постановке/снятии с охраны (Зуммер), Время запирания и отпирания дверей, Датчик падения напряжения, Время мигания поворотников, Тип звуковой тревоги, Пассивное включение блокировки двигателя, Пассивное включение сигнализации, Антирассеяность. Имеет возможность программирования в память пультов радиоуправления.
Сигнализация должна быть установлена в отсеке двигателя в вертикальном положении. Необходимо выбрать хорошо вентилируемое место вдали от источников тепла, от просачивания воды, от стартера и катушек. На приборной панели автомобиля установить имеющийся в системе светодиод, сделав в пластмассовой части панели отверстие диам. 9, 5 мм. Найти оптимальное место для установки концевика капота рядом с опорными резинками или рядом с его замком. Проверить работу концевика и убедиться в том, что снаружи он недосягаем: При установке используйте необходимые соединители. Не применяйте быстросъёмные электрические соединители. Обращайте особое внимание на электрические Соединения различных компонентов.
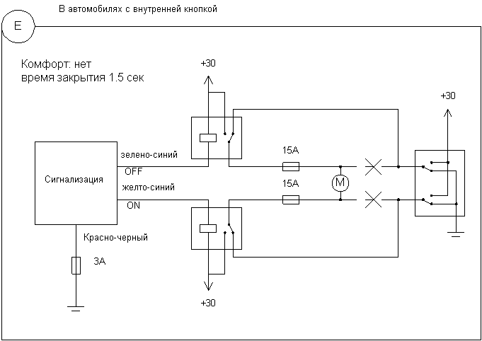
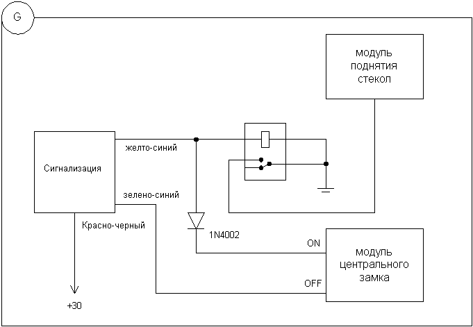
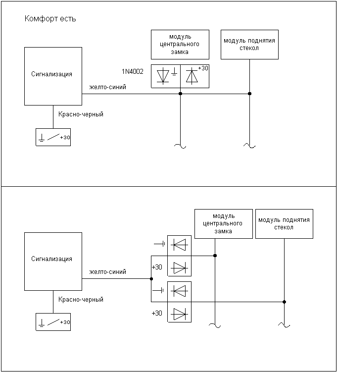
Автомобили, оснащенные системой Комфорт, имеют два типа подключения (см. схемы )
ТИП 1: управляется сигналом с провода ЗАПИРАНИЯ центрального замка (напр. БМВ, Фольксваген)
ТИП 2: управляется сигналом с провода, НЕЗАВИСИМОГО от управления центральным замком (напр. Опель).
В автомобилях, имеющих эти системы, при программировании сигнализации запрограммировать функцию Комфорт, выбрав "ДА".
Сигнализация программируется заводом-изготовителем в стандартной конфигурации (см. таблицу А).
В зависимости от конкретной необходимости функции могут быть изменены следующим образом:
В этот момент светодиод погаснет, и зуммер издаст 3 сигнала различной тональности, что говорит о вхождении в функцию программирования.
| ЗУММЕР | ДА |
| ДАТЧИК ПАДЕНИЯ НАПРЯЖЕНИЯ | НЕТ |
| КОМФОРТ | НЕТ |
| ВРЕМЯ ЗАПИРАНИЯ/ОТПИРАНИЯ | 0, 5 сек. |
| ПАНИКА | ДА |
| ВРЕМЯ МИГАНИЯ ПОВОРОТНИКОВ | 28 сек. |
| ТИП ЗВУКОВОЙ ТРЕВОГИ | Модулированный |
| ПАССИВНАЯ БЛОКИРОВКА ДВИГАТЕЛЯ | НЕТ |
| ПАССИВНАЯ ПОСТАНОВКА НА ОХРАНУ | НЕТ |
| АНТИРАССЕЯНОСТЬ | НЕТ |
Программирование производится нажатием кнопок "А" или "В" пульта радиоуправления, изменяя тем самым состояние выбранной функции (см. таблицу В)
| ВЫБИРАЕМАЯ ФУНКЦИЯ | КНОПКА "А" | КНОПКА "В" |
|---|---|---|
| ЗУММЕР | ДА | НЕТ |
| ДАТЧИК ПАДЕНИЯ НАПРЯЖЕНИЯ | ДА | НЕТ |
| КОМФОРТ | ДА | НЕТ |
| ВРЕМЯ ЗАПИРАНИЯ/ОТПИРАНИЯ | 0, 5 сек | 1, 5 сек. |
| ПАНИКА | ДА | НЕТ |
| ВРЕМЯ МИГАНИЯ ПОВОРОТНИКОВ | 28 сек. | 300 сек. |
| ТИП ЗВУКОВОЙ ТРЕВОГИ | Модулирован. | Однотональн. |
| ПАССИВНАЯ БЛОК ИРОВКА ДВИГАТЕЛЯ | ДА | НЕТ |
| ПАССИВНАЯ ПОСТАНОВКА НА ОХРАНУ | ДА | НЕТ |
| АНТИРАССЕЯНОСТЬ | ДА | НЕТ |
При изменении состояния функций, требуется подтверждать значения которые Вы не изменяете (см. пример Таблицу С).
N.B. Можно выходить из программирования после подтверждения или изменения любой функции.
| ВЫБИРАЕМАЯ ФУНКЦИЯ | ПРОГРАММИРОВАНИЕ | КНОПКА |
|---|---|---|
| ЗУММЕР | ДА | А |
| ДАТЧИК ПАДЕНИЯ НАПРЯЖЕНИЯ | ДА | А |
| КОМФОРТ | НЕТ | В |
| ВРЕМЯ ЗАПИРАНИЯ/ОТПИРАНИЯ | 1, 5 сек. | В |
| ПАНИКА | ДА | А |
| ВРЕМЯ МИГАНИЯ ПОВОРОТНИКОВ | 300 сек. | В |
| ТИП ЗВУКОВОЙ ТРЕВОГИ | Модулирован. | А |
| ПАССИВНАЯ БЛОКИРОВКА ДВИГАТЕЛЯ | ДА | А |
| ПАССИВНАЯ ПОСТАНОВКА НА ОХРАНУ | ДА | А |
| АНТИРАССЕЯНОСТЬ | ДА | А |
КАЖДЫЙ ВЫБОР ПОДТВЕРЖДАЕТСЯ МИГАНИЕМ СВЕТОДИОДА И СИГНАЛОМ ЗУММЕРА (РАЗНОЙ ТОНАЛЬНОСТИ ДЛЯ КНОПОК "А" И "В"). ПЕРЕД СЛЕДУЮЩИМ ВЫБОРОМ КАЖДЫЙ РАЗ ЖДИТЕ ПОДТВЕРЖДЕНИЕ.
Завершение программирования будет подтверждено, как и начало, тремя сигналами зуммера различной тональности. Выключить ключ зажигания и отключить сигнализацию. В случае ошибки можно повторить всё операции, выключив и включив ключ зажигания и повторив программирование (пункты 1/2/3/).
Для проверки линий периметрической защиты сигнализации необходимо: включить сигнализацию и, в течении тестового периода, открыть двери или багажник или капот. При нормальной работе сигнализация издаст звук зуммера, и светодиод погаснет. Эту же процедуру выполнить для проверки линий датчиков (например, GM 300, GMS).
После выполнения процедуры входа в функцию ввода пультов нажать одновременно две кнопки пульта радиоуправления и держать Их нажатыми до выключения светодиода пульта (около 10 сек.). Отпустить их и убедиться в том, что светодиод передатчика загорелся. Нажать кнопку пульта радиоуправления.
Светодиод сигнализации должен мигать, и зуммер должен подать сигнал.
После программирования первого пульта радиоуправления, система сотрёт в памяти все коды предыдущих пультов и будет в состоянии запомнить от одного до четырёх пультов радиоуправления.
Повторить ввод в память для всех имеющихся пультов радиоуправления.
Выход из функции ввода в память пультов радиоуправления производится поворотом ключа зажигания в положение OFF.
Теперь при каждом повороте ключа зажигания в положение OFF, светодиод системы будет мигать столько раз, сколько пультов радиоуправления введено в память сигнализации, предупреждая Вас о несанкционированном вводе брелков.
Если Вы хотите узнать причину последнего срабатывания сигнализации, необходимо войти и выйти из процедуры ввода в память пультов радиоуправления, не производя сохранения. Количество миганий светодиода укажет на причину срабатывания (см. в "Инструкции по эксплуатации" таблицу, приведённую в разделе "Память о тревогах").
ВНИМАНИЕ: Первая серия миганий светодиода указывает на количество введёных пультов радиоуправления.
| Напряжение питания | 12В (9В-15В) |
| Потребляемый ток (сигнализация снята с охраны) | 10мА |
| Потребляемый ток (сигнализация) | 10мА |
| Максимальный ток управления модулями | 20 мА |
| Минимальный порог датчика падения напряжения | 3 Вт |
| Длительность звучания сигнала тревоги в режиме охраны | 30 сек. |
| Время самоконтроля системы | 45 сек. |
| Рабочая температура | -40С...+ 85С |
| Макс. ток через реле блокировки двигателя | 8 А |
| Макс. ток через реле управления центральным замком | 4+ 4 А |









