Previous Next

ENGINE OIL

Fig. 1: Look for the API oil identification label when choosing your engine oil

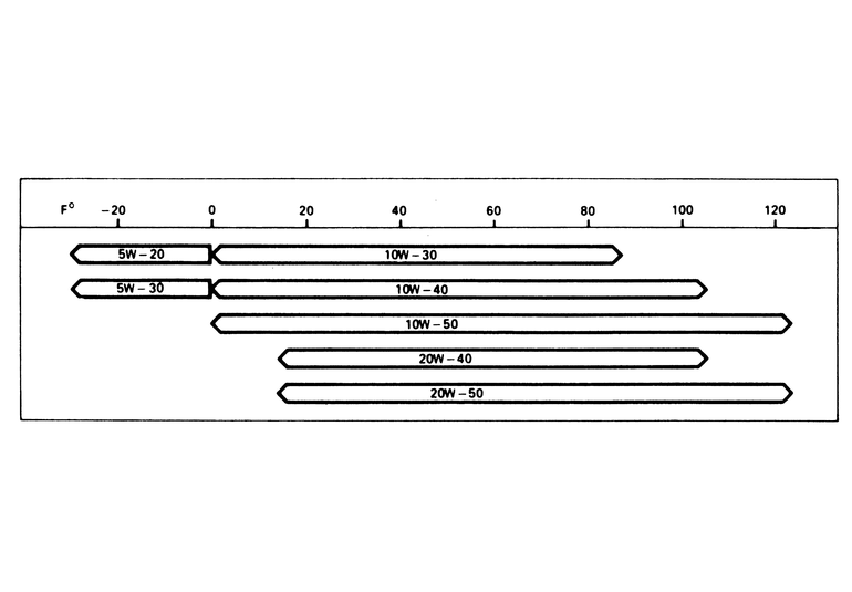
Fig. 2: Oil viscosity chart for gasoline engines — except rotary engines

Fig. 3: Oil viscosity chart for diesel engines

Fig. 4: Oil viscosity chart for rotary engines

The SAE grade number indicates the viscosity of the engine oil, or its ability to lubricate under a given temperature. The lower the SAE grade number, the lighter the oil; the lower the viscosity, the easier it is to crank the engine in cold weather.

The API (American Petroleum Institute) designation indicates the classification of engine oil for use under given operating conditions. For gasoline engines, only oils designated for Service SE/SF, or just SF, should be used. For diesel engines, use only those oils designated Service CC. These oils provide maximum engine protection. Both the SAE grade number and the API designation can be found on the top of a can of oil.

NOTE: Non-detergent or straight mineral oils should not be used.

Oil viscosities should be chosen from those oils recommended for the lowest anticipated temperatures during the oil change interval.

Previous Next