Previous Next

Engine Assembly

Fig. 23: Installation of the side oil seal spring

Fig. 24: Rotor, apex and side seals are identified by a number which corresponds to the number on each rotor face seal groove

Fig. 25: Install the apex seals without springs or side pieces — "F" indicates the front rotor

Fig. 26: Fitting the assist piece on the apex seal

Fig. 27: Proper measurements for installed oil seals

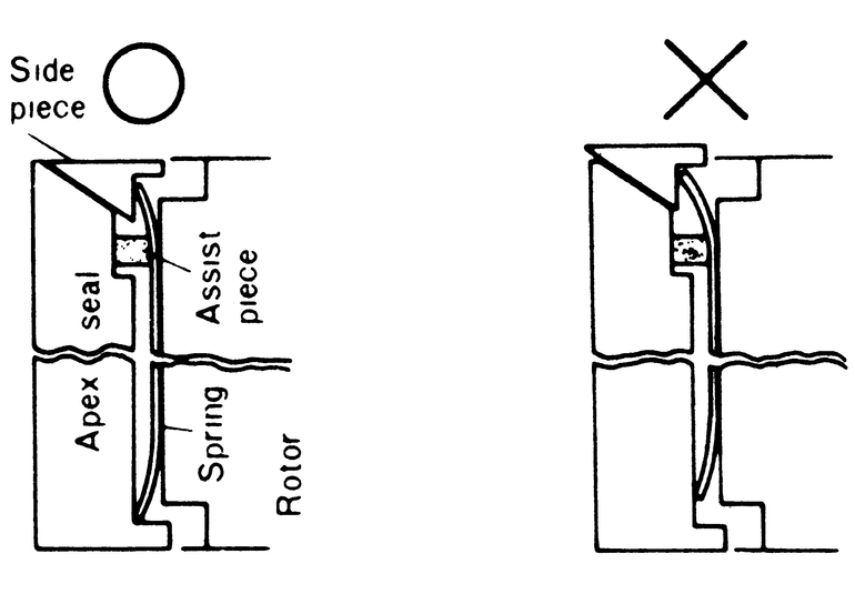
Fig. 28: Install the side piece as shown under "O" — the spring must butt against the apex seal lip

Fig. 29: Install the O-ring (right arrow), outer sealing rubber and inner sealing rubber (left arrow)

Fig. 30: Install the new inner oil seals using old seals

Fig. 31: Install the protector behind the inner sealing rubber in the area shown above and to the right

Fig. 32: Apply a sealing agent to the front side of the housing between the O-rings

Fig. 33: Proper positioning of the inner rubber seal — note the seam position

Fig. 34: Installing the intermediate housing — an extra hand to position and move the eccentric shaft aids in installation

Fig. 35: Installing the rear engine housing

Fig. 36: Tension bolt tightening sequence

Fig. 37: Installing the thrust plate

Fig. 38: Installing the oil pump drive chain and sprockets

Fig. 39: Checking the eccentric shaft end-play

  1. Place the rotor in a rubber pad or cloth.
  2. Install the oil seal rings in their respective grooves in the rotors with the edge of the spring in the stopper hole. The oil springs are painted cream or blue in color. The cream colored springs must be installed on the front faces of both rotors. The blue colored springs must be installed on the rear faces of both rotors. When installing each oil seal spring, the painted side (square side) of the spring must face upward (toward the oil seal).
  3. Install a new O-ring in each groove. Place each oil seal in the groove so that the square edge of the spring fits in the stopper hole of the oil seal. Push the head of the oil seal slowly with the fingers, being careful that the seal is not deformed. Be sure that the oil seal moves smoothly in the grooves before installing the O-ring.
  4. Lubricate each oil seal and groove with engine oil and check the movement of the seal. It should move freely when the head of the seal is pressed.
  5. Check the oil seal protrusion and install the seals on the other side of each rotor.
  6. Install the apex seals without springs and side pieces into their respective grooves so that each side piece positions on the side of each rotor.
  7. Install the corner seal springs and corner seals into their respective grooves.
  8. Install the side seal springs and side seals into their respective grooves.
  9. Apply engine oil to each spring and check each spring for smooth movement.
  10. Check each seal protrusion.
  11. Invert the rotor being careful that the seals do not fall out, and install the oil seals on the other side in the same manner.
  12. Mount the front housing on a workstand so that the top of the housing is up.
  13. Lubricate the internal gear of the rotor with engine oil.
  14. Hold the apex seals with used O-rings to keep the apex seals installed and place the rotor on the front housing. Be careful that you do not drop the seals. Turn the front housing so that the sliding surfaces faces upward.
  15. Mesh the internal and stationary gears so that one of the rotor apexes is at any one of the four places shown and remove the old O-ring which is holding the apex seals in position.
  16. Lubricate the front rotor journal of the eccentric shaft with engine oil and lubricate the eccentric shaft main journal.
  17. Insert the eccentric shaft. Be careful that you do not damage the rotor bearing and main bearing.
  18. Apply sealing agent to the front side of the front rotor housing.
  19. Apply a light coat of petroleum jelly onto new O-rings and rubber seals (to prevent them from coming off) and install the O-rings and rubber seals on the front side of the rotor housing.

    NOTE: The inner rubber seal is of the square type. The wider white line of the rubber seal should face the combustion chamber and the seam of the rubber seal should be positioned as shown. Do not stretch the rubber seal.

  20. If the engine is being overhauled, install the seal protector to only the inner rubber seal to improve durability.
  21. Invert the front rotor housing, being careful not to let the rubber seals and O-rings fall from their grooves, and mount it on the front housing.
  22. Lubricate the dowels with engine oil and insert them through the front rotor housing holes and into the front housing.
  23. Apply sealer to the front side of the rotor housing.
  24. Install new O-rings and rubber seals on the front rotor housing in the same manner as for the other side.
  25. Insert each apex spring seal, making sure that the seal is installed in the proper direction.
  26. Install each side piece in its original position and be sure that the springs seat on the side piece.
  27. Lubricate the side pieces with engine oil. Make sure that the front rotor housing is free of foreign matter and lubricate the sliding surface of the front housing with engine oil.
  28. Turn the front housing assembly with the rotor, so that the top of the housing is up. Pull the eccentric shaft about 25mm (1 in.).
  29. Position the eccentric portion of the eccentric shaft diagonally, to the upper right.
  30. Install the intermediate housing over the eccentric shaft onto the front rotor housing. Turn the engine so that the rear of the engine is up.
  31. Install the rear rotor and rear rotor housing following the same steps as for the front rotor and the front housing.
  32. Turn the engine so that the rear of the engine is up.
  33. Lubricate the stationary gear and main bearing.
  34. Install the rear housing onto the rear rotor housing. If necessary, turn the rear rotor slightly to mesh the rear housing stationary gear with the rear rotor internal gear.
  35. Install a new washer on each tension bolt, and lubricate each bolt with engine oil.
  36. Install the tension bolts and tighten them evenly, in several stages following the sequence shown. The specified torque is 23–27 ft. lbs.
  37. After tightening the bolts, turn the eccentric shaft to be sure that the shaft and rotors turn smoothly and easily.
  38. Lubricate the oil seal in the rear housing.
  39. On trucks with manual transmission, install the flywheel on the rear of the eccentric shaft so that the keyway of the flywheel fits the key on the shaft.
  40. Apply sealer to both sides of the flywheel lockwasher and install the lockwasher.
  41. Install the flywheel locknut. Hold the flywheel SECURELY and tighten the nut to THREE HUNDRED AND FIFTY ft. lbs. (350 ft. lbs.) of torque.

    NOTE: 350 ft. lbs. is a great deal of torque. In actual practice, it is practically impossible to accurately measure that much torque on the nut. At least a 3 ft. bar will be required to generate sufficient torque. Tighten it as tightly as possible, with no longer than 3 ft. of leverage. Be sure the engine is held SECURELY.

  42. On trucks with automatic transmission, install the key, counterweight, lockwasher and nut. Tighten the nut to 350 ft. lbs. SEE STEP 41 AND THE NOTE FOLLOWING STEP 41.
  43. Turn the engine so that the front faces up.
  44. Install the thrust plate with the tapered face down, and install the needle bearing on the eccentric shaft. Lubricate with engine oil.
  45. Install the bearing housing on the front housing. Tighten the bolts and bend up the lockwasher tabs. The spacer should be installed so that the center of the needle bearing comes to the center of the eccentric shaft and the spacer should be seated on the thrust plate.
  46. Install the needle bearing on the shaft and lubricate it with engine oil.
  47. Install the balancer and thrust washer on the eccentric shaft.
  48. Install the oil pump drive chain over both of the sprockets. Install the sprocket and chain assembly over the eccentric shaft and oil pump shafts simultaneously. Install the key on the eccentric shaft.

    NOTE: Be sure that both of the sprockets are engaged with the chain before installing them over the shafts.

  49. Install the distributor drive gear onto the eccentric shaft with the F mark on the gear facing the front of the engine. Slide the spacer and oil slinger onto the eccentric shaft.
  50. Align the keyway and install the eccentric shaft pulley. Tighten the pulley bolt to 60 ft. lbs.
  51. Turn the engine so that the top of the engine faces up.
  52. Check eccentric shaft end-play in the following manner:
    1. Attach a dial indicator to the flywheel. Move the flywheel forward and backward.
    2. Note the reading on the dial indicator; it should be 0.04–0.07mm (0.00157–0.00276 in.).
    3. If the end-play is not within specifications, adjust it by replacing the front spacer. Spacers come in four sizes, ranging from 8.00–8.08mm. If necessary, a spacer can be ground on a surface plate with emery paper.
    4. Check the end-play again and, if it is now within specifications, proceed with the next step.
  53. Remove the pulley from the front of the eccentric shaft. Tighten the oil pump drive sprocket nut and bend the locktabs on the lockwasher.
  54. Fit a new O-ring over the front cover oil passages.
  55. Install the chain tensioner and tighten its securing bolts.
  56. Position the front cover gasket and the front cover on the front housing, then secure the front cover with its attachment bolts.
  57. Install the eccentric shaft pulley again. Tighten its bolt to 60 ft. lbs.
  58. Turn the engine so that the bottom faces up.
  59. Cut off the excess gasket on the front cover along the mounting surface of the oil pan.
  60. Install the oil strainer gasket and strainer on the front housing and tighten the attaching bolts.
  61. Apply sealer to the joint surfaces of each housing.
  62. Install the gasket and oil pan. Tighten the bolts evenly in two stages to 3.5 ft. lbs.
  63. Turn the engine so that the top is up.
  64. Install the water pump and gasket on the front housing. Tighten the attaching bolts.
  65. Rotate the eccentric shaft until the yellow mark (leading side mark) aligns with the pointer on the front cover.
  66. Align the marks on the distributor gear and housing and install the distributor so that the lockbolt is in the center of the slot.
  67. Rotate the distributor until the leading points start to separate and tighten the distributor locknut.
  68. Install the gaskets and thermal reactor and tighten the attaching nuts.
  69. Install the hot air duct.
  70. Install the carburetor and intake manifold assembly with a new gasket. Tighten the attaching nuts.
  71. Connect the oil tubes vacuum tube and metering oil pump connecting rod to the carburetor.
  72. Install the decel valve and connect the vacuum lines, air hoses and wires.
  73. Install the alternator bracket, alternator and bolt and check the clearance. If the clearance is more than 0.15mm (0.0059 in.), adjust the clearance using a shim. Shims are available in three sizes: 0.15mm, 0.30mm, and 0.50mm.
  74. Install the alternator drive belt. Attach the alternator to the adjusting brace and adjust the belt tension to specification.
  75. Install the air pump with the adjusting brace and install the air pump drive belt. Adjust the air pump drive belt to specifications.
  76. Install the engine hanger bracket to the front cover.
  77. Remove the engine from the stand.
  78. Install the engine in the truck.
  79. Fill the engine with fresh engine oil and install a new filter. Fill the engine with coolant. Start the engine, check the oil pressure, and warm it to normal operating temperature. Adjust the idle speed, timing and dwell. Recheck all capacities and refill if necessary. Check for leaks.

Previous Next