Previous Next

Metering Oil Pump

OPERATION

Fig. 1: Measuring the discharge rate of the metering oil pump

Fig. 2: Metering oil pump adjusting screw (small arrow, center)

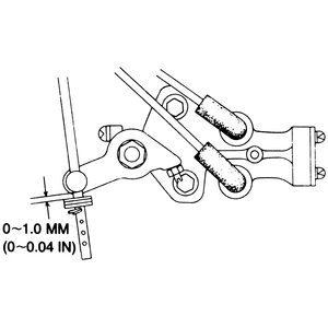
Fig. 3: Metering oil pump connecting rod setting

A metering oil pump, mounted on the top of the engine, is used to provide additional lubrication to the engine when it is operating under a load. The pump provides oil to the carburetor, where it is mixed in the float chamber with the fuel which is to be burned.

The metering pump is a plunger type and is controlled by throttle opening. A cam arrangement, connected to the carburetor throttle lever, operates a plunger. The plunger in turn, acts on a differential plunger, the stroke of which determines the amount of oil flow.

When the throttle opening is small, the amount of the plunger stroke is small; as the throttle opening increases, so does the amount of the plunger stroke.

Previous Next