Previous Next

FIRING ORDERS

NOTE: To avoid confusion, remove and tag the spark plug wires one at a time, for replacement.

If a distributor is not keyed for installation with only one orientation, it could have been removed previously and rewired. The resultant wiring would hold the correct firing order, but could change the relative placement of the plug towers in relation to the engine. For this reason it is imperative that you label all wires before disconnecting any of them. Also, before removal, compare the current wiring with the accompanying illustrations. If the current wiring does not match, make notes in your book to reflect how your engine is wired.

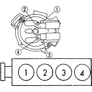
Fig. 1: 1.5L, 1.6L, 1.8L (except K8) and 2.2L Engines Firing order: 1–3–4–2 Distributor rotation: Counterclockwise

Fig. 2: 1993–97 2.0L Engine Firing order: 1–3–4–2 Distributor rotation: Clockwise

Fig. 3: 1998 2.0L Engine Firing order: 1–3–4–2 Distributorless Ignition System

Fig. 4: 1.8L (K8) and 2.5L (except 1998 626) Engines Firing order: 1–2–3–4–5–6 Distributor rotation: Counterclockwise

Fig. 5: 1998 2.5L (626) Engine Firing order: 1–2–3–4–5–6 Distributorless Ignition System

Fig. 6: 2.3L Engine Firing order: 1–2–3–4–5–6 Distributorless Ignition System

Previous Next