Previous Next

Powertrain Control Module (PCM)

Removal & Installation

CAUTION
The control module is sensitive to static discharge. Make sure to touch a nearby metal object to discharge any static electricity that may be built up on your body.

To Remove:

  1. Disconnect the negative battery cable.
  2. Remove the powertrain control module (PCM) electrical connector.
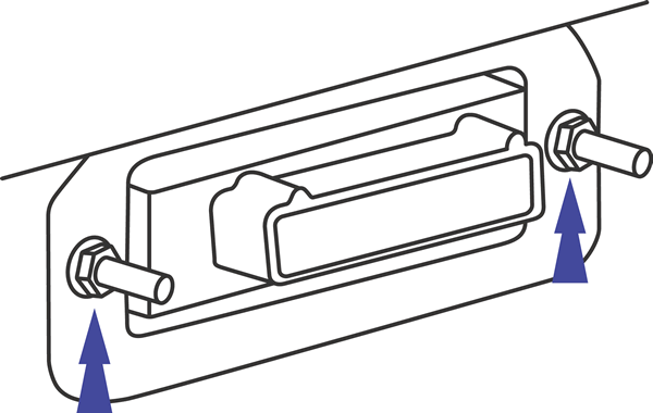
  3. Remove the nuts and the PCM cover.
    Powertrain control module (PCM) cover

  4. Remove the PCM.

To Install:

  1. Install the PCM.
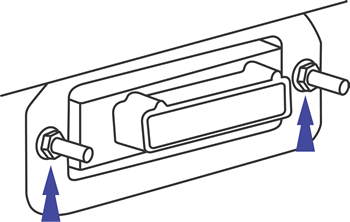
  2. Install the PCM cover and nuts.
    Powertrain control module (PCM) cover

  3. Install the PCM electrical connector. Torque to 62 in-lb (7 Nm).
  4. Connect the negative battery cable.
 
Previous Next