Previous Next

Camshaft and Valve Tappet

REMOVAL & INSTALLATION

1.5L Engine
  1. Before servicing the vehicle, refer to the precautions in the beginning of this section.
  2. Remove or disconnect the following:
  3. Rotate the camshafts clockwise so the cams don't press on the tappets
  4. Loosen the front camshaft cap bolts in 5-6 steps, starting on the 2 outside bolts and finishing on the 2 inside bolts.
  5. Remove or disconnect the following:

    NOTE: Note the location of the numbers on top of the camshaft caps, so the caps can be reinstalled in their original positions.

    NOTE: Identify and mark each lifter as it is removed so it can be reinstalled in the same position.

    To install:

  6. Install or connect the following:

    NOTE: Verify that they move smoothly in their bore.

    NOTE: Be sure none of the lobes are located directly on the tappets.

  7. Align the camshaft gear and timing chain marks.

    Fig. 4: When installing the camshafts, align the marks on the camshaft gears with the colored/marked links of the chain-1.5L engine

    Fig. 5: Apply sealant in the positions shown before installing the camshaft bearing caps-1.5L engine

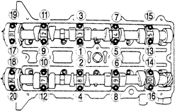
    Fig. 6: Tighten the camshaft cap bolts according to the sequence shown-1.5L engine

  8. Apply silicone sealant to the cylinder head on the front camshaft caps mating surface. Do not get sealant on the camshaft journals.
  9. Install the camshaft bearing caps in their original locations.
  10. Hand tighten the camshaft cap bolts numbered: 5, 7, 2 and 4. Torque, in sequence, in 5-6 steps with a final torque of 100-125 inch lbs. (11-14 Nm).
  11. Install or connect the following:
  12. Adjust the drive belt tension.
  13. Apply silicone sealant to a new cylinder head cover gasket, and install the gasket on the cylinder head cover.
  14. Apply silicone sealant to the cylinder head in the area adjacent to the front camshaft caps.
  15. Install or connect the following:
1.6L, 1.8L and 2.0L Engines
  1. Before servicing the vehicle, refer to the precautions in the beginning of this section.
  2. Remove or disconnect the following:

    NOTE: Label the caps so they can be reinstalled in their original positions.

    NOTE: Identify and mark each lifter as it is removed so it can be reinstalled in the same position.

    To install:

  3. Install or connect the following:

    NOTE: Verify that they move smoothly in their bore.

  4. Apply silicone sealant to the cylinder head on the front camshaft cap mating surfaces. Do not allow any sealant on the camshaft journals.
  5. Install or connect the following:
  6. Turn the camshafts until the dowel pins face straight up.
  7. Install or connect the following:
2.3L Engine
  1. Before servicing the vehicle, refer to the precautions in the beginning of this section.
  2. Relieve the fuel system pressure.
  3. Remove or disconnect the following:
  4. Turn the camshafts so the knock pins are aligned with the marks on the camshaft caps. This will reduce the pressure on the adjustment shims.
  5. Note the markings on the camshaft caps prior to removal, so they can be reinstalled in the same positions. The right-hand (rear) caps are marked with numbers and the left-hand (front) caps are marked with letters.
  6. Remove or disconnect the following:

    NOTE: Remove the thrust caps last. Do not damage the cylinder head thrust bearing support.

    NOTE: Identify and mark each lifter as it is removed so it can be reinstalled in the same position.

    To install:

  7. Install or connect the following:
  8. Apply silicone sealant, at a thickness of 0.06-0.09 in. (1.5-2.5mm), to the cylinder head surface in the area forward of the camshaft gear cavity.
  9. Install or connect the following:
  10. Measure and adjust valve clearances.
  11. Remove any sealant and gasket material from the cylinder head cover contact surfaces.
  12. Apply silicone sealant to the cylinder head in the area adjacent to the front and rear camshaft caps.
  13. Install or connect the following:
  14. Start the engine, check for leaks and repair if necessary.
2.5L Engine
  1. Before servicing the vehicle, refer to the precautions in the beginning of this section.
  2. Properly relieve the fuel system pressure.
  3. Drain the cooling system
  4. Remove or disconnect the following:

  5. Turn the camshaft, using a wrench on the cast hexagon, until the camshaft knock pin is aligned with the cylinder head marks.

    NOTE: Do not remove the camshaft caps when the camshaft lobe is pressing on a lifter, as the thrust journal support may become damaged.

  6. Loosen the front camshaft cap bolts in 5-6 steps, in the proper sequence. Bolt A is only on the right cylinder head. Remove the front camshaft cap.
  7. Mark the position of the camshaft caps so they can be reinstalled in their original locations. Loosen the remaining camshaft cap bolts in 5-6 steps, in the proper sequence, then remove the caps.
  8. Remove or disconnect the following:

    NOTE: Identify and mark each lifter as it is removed so it can be reinstalled in the same position.

    To install:

  9. Install or connect the following:

    NOTE: The thrust plate positions for the right and left cylinder head camshafts are different.

    Fig. 15: When installing the camshafts, ensure that the marks on the cam gears are aligned-2.3L and 2.5L engines

    Fig. 16: Put silicone sealant on the cylinder head at the positions shown-2.3L and 2.5L engines

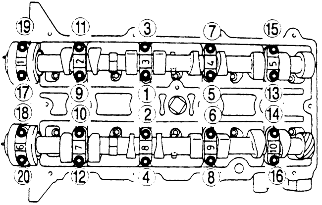
    Fig. 17: Front camshaft cap bolt tightening sequence-2.3L and 2.5L engines

    Fig. 18: Camshaft cap bolt tightening sequence-2.3L and 2.5L engines

  10. Be sure the camshaft cap and cylinder head surfaces are clean. Apply a small amount of sealant to the mating surface of the front camshaft cap on both cylinder heads and the rear exhaust camshaft cap on the left cylinder head. Do not get any sealant on the camshaft rotating surfaces.
  11. Install or connect the following:

    NOTE: On the right cylinder head, install the sprocket so the R mark can be seen and the timing mark aligns with the camshaft knock pin. On the left cylinder head, install the sprocket so the L mark can be seen and the timing mark aligns with the camshaft knock pin.

  12. Camshaft sprocket bolts lubricated with engine oil, by holding the camshaft with a wrench on the cast hexagon. Torque the bolt to 103 ft. lbs. (140 Nm)
  13. Cylinder head cover using a new gasket coated with sealant. Torque the bolts, in sequence, in 2-3 steps, to 78 inch lbs. (8.8 Nm)
  14. Ventilation pipe to the left cover
  15. Distributor using a new O-ring lubricated with engine oil
  16. Distributor with the blade fitting into the camshaft groove and loosely tighten the retaining bolt
  17. Intake manifold, using a new gasket, loosely tighten the bolts
  18. Instake manifold stay. Torque the bolts to 19 ft. lbs. (25 Nm)
  19. Intake manifold . Torque the bolts in 2-3 steps, to 19 ft. lbs. (25 Nm)
  20. Wiring, hoses and fuel lines
  21. Accelerator cable
  22. Throttle valve cables, if equipped
  23. Timing belt
  24. Negative battery cable
  25. Fill the cooling system.
  26. Start the engine, check for leaks and repair if necessary.

Previous Next