Previous Next

ENGINE PERFORMANCE


Engine Performance

FIRING ORDERS

NOTE: To avoid confusion, always replace spark plug wires one at a time.

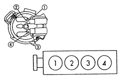
Fig. 1: 4-cylinder except 626, MX6 2.0L (FS) and Miata 1.6L (B6E) and 1.8L (BPD) Engine Firing Order: 1-3-4-2Distributor Rotation: Counterclockwise

Fig. 2: 1993-97 626 and MX6, 2.0L (FS) EngineEngine Firing Order: 1-3-4-2Distributor Rotation: Clockwise

Fig. 3: 1993-95 RX7 1.2L and 1.3L (13B) Rotary Engine

Fig. 4: 1993-94 929 3.0L, (JE-ZE) EngineEngine Firing Order: 1-2-3-4-5-6Distributor Rotation: Clockwise

Fig. 5: 1993 MX3, 1.8L (K8), 1995-97 626/MX6 2.5L (KL), and 1995-97 Millenia, 2.5L (KLD) EngineEngine Firing Order: 1-2-3-4-5-6Distributor Rotation: Counterclockwise

Fig. 6: Miata 1.6L (B6E) and 1.8L (BPD) Firing Order: 1-3-4-2 Distributorless Ignition

 
Previous Next