Previous Next

Tailgate

REMOVAL & INSTALLATION

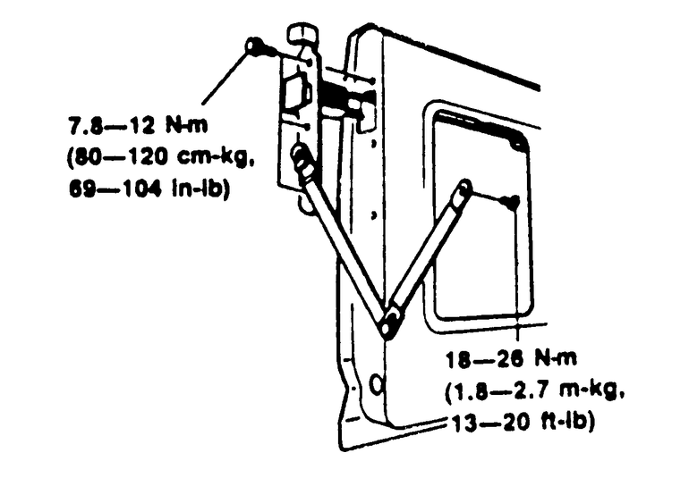
Fig. 1: Remove the cover, nuts attaching the tailgate and rods from the tailgate lock, remove the lock

Fig. 2: Remove the bolts and latch guide, latch and rod from the tailgate

  1. Open and support the tailgate.
  2. Remove the hinge pins by removing the cotter pins and washers, then drive the hinge pins out.
  3. Lift off the tailgate.
  4. Position the tailgate and install the mounting bolts.

Previous Next