Previous Next

TESTING

Navajo and B Series Pick-up Models

Using a DVOM set to the DC scale to monitor less than 5 volts, measure the voltage between the sensor Cylinder Identification (CID) terminal and ground by backprobing the sensor connector. If the connector cannot be backprobed, fabricate or purchase a test harness. The sensor is okay if the voltage reading varies more than 0.1 volt with the engine running at varying RPM.

Fig. 1: CKP sensor wire harness connections for all engines except the 4.0L engine

Fig. 2: CKP sensor wire harness connections for the 4.0L engine

1994–95 MPV Models
  1. Disconnect the negative battery cable.
  2. Remove the distributor assembly.
  3. Plug in the distributor connector.
  4. Unplug the fuel injector connector.
  5. Turn the ignition switch to the ON position.

    Fig. 3: Engine Signal Monitor and Adapter Harness connected to the engine control module

    Fig. 4: Output signal specifications chart (JE — 3.0L / G6 — 2.6L)

  6. Connect the Engine Signal Monitor and Adapter Harness to the engine control module as illustrated.
  7. Set the Engine Signal Monitor.
  8. Turn the distributor drive by hand and measure the output voltage.
  9. If not as specified, replace the distributor assembly.
1996–98 MPV Models

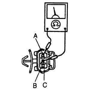
Fig. 5: Terminal identifications for measuring the resistance of the crankshaft position sensor

  1. Disconnect the negative battery cable.
  2. Unplug the crankshaft position sensor wiring harness connector.
  3. Using an ohmmeter, measure the resistance between terminals A and B.
  4. The measurement should read 950–1250 ohms at 68°F (20°C).
  5. If not as specified, replace the crankshaft position sensor.

Previous Next