Previous Next

Fuel Pressure Regulator

REMOVAL & INSTALLATION

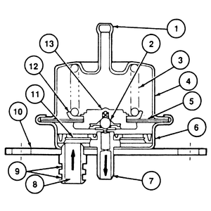
Fig. 1: Cutaway view of the fuel pressure regulator

B Series Pick-up and Navajo Models

CAUTION
Observe all applicable safety precautions when working around fuel. Whenever servicing the fuel system, always work in a well ventilated area. Do not allow fuel spray or vapors to come in contact with a spark or open flame. Keep a dry chemical fire extinguisher near the work area. Always keep fuel in a container specifically designed for fuel storage; also, always properly seal fuel containers to avoid the possibility of fire or explosion.

  1. Depressurize the fuel system; remove shielding as needed.
  2. Remove the vacuum line at the pressure regulator.

    Fig. 2: Fuel pressure regulator on the 2.3L engine — 3.0L engines are similar

    Fig. 3: Fuel pressure regulator on the 4.0L engine

    Fig. 4: To remove the fuel pressure regulator, first remove the vacuum line from the regulator . . .

    Fig. 5: . . . then loosen the fuel return line fitting . . .

    Fig. 6: . . . and disconnect it from the regulator

  3. If necessary, disconnect the fuel return line from the regulator.

    NOTE: Some engines use two standard hex head bolts to retain the regulator instead of the Allen® head screws.

    Fig. 7: Remove the regulator attaching bolts . . .

    Fig. 8: . . . then pull the regulator from the supply manifold using a slight rocking motion to unseat the O-ring seal

  4. Remove the three Allen® head retaining screws from the regulator housing.
  5. Remove the pressure regulator assembly, gasket and O-ring. Discard the gasket and check the O-ring for signs of cracks or deterioration.

    Fig. 9: Inspect the regulator O-ring seal and replace it if needed. A small pick will aid in removing the old seal

    To install:

  6. Clean the gasket mating surfaces. If scraping is necessary, be careful not to damage the fuel pressure regulator or supply line gasket mating surfaces.
  7. Lubricate the pressure regulator O-ring with light engine oil. Do not use silicone grease; it will clog the injectors.
  8. Install the O-ring and a new gasket on the pressure regulator.
  9. Install the pressure regulator on the fuel manifold and tighten the retaining screws to 27–40 inch lbs. (3–4 Nm) for all engines except the 4.0L engine, which is tightened to 70–97 inch lbs. (8–11 Nm).

    NOTE: On the 2.3L engine, install the fuel manifold shield and tighten the bolts to 15–22 ft. lbs. (20–30 Nm).

  10. Install the vacuum line at the pressure regulator.
  11. If removed, connect the fuel return line.
  12. Build fuel pressure in the system by turning the ignition ON and OFF (without starting the engine) at least five times. Leave the ignition ON at least 5 seconds each time. Check for fuel leaks.
MPV Models

Fig. 10: Fuel pressure regulator location — 2.6L engine

Fig. 11: Fuel pressure regulator location — 3.0L engine (1994–95)

Fig. 12: Fuel pressure regulator location — 3.0L engine (1996–98)

CAUTION
Observe all applicable safety precautions when working around fuel. Whenever servicing the fuel system, always work in a well ventilated area. Do not allow fuel spray or vapors to come in contact with a spark or open flame. Keep a dry chemical fire extinguisher near the work area. Always keep fuel in a container specifically designed for fuel storage; also, always properly seal fuel containers to avoid the possibility of fire or explosion.

  1. Relieve the fuel system pressure.
  2. Disconnect the negative battery cable.
  3. Disconnect the vacuum hose.
  4. Disconnect the fuel hose.
  5. Unbolt and remove the unit.
  6. Install in the reverse order. Tighten the bolts to 70–95 inch lbs. (8–10 Nm).
  7. Connect the negative battery cable.

Previous Next