Previous Next

Axle Housing

REMOVAL & INSTALLATION

Navajo and B Series Pick-up Models

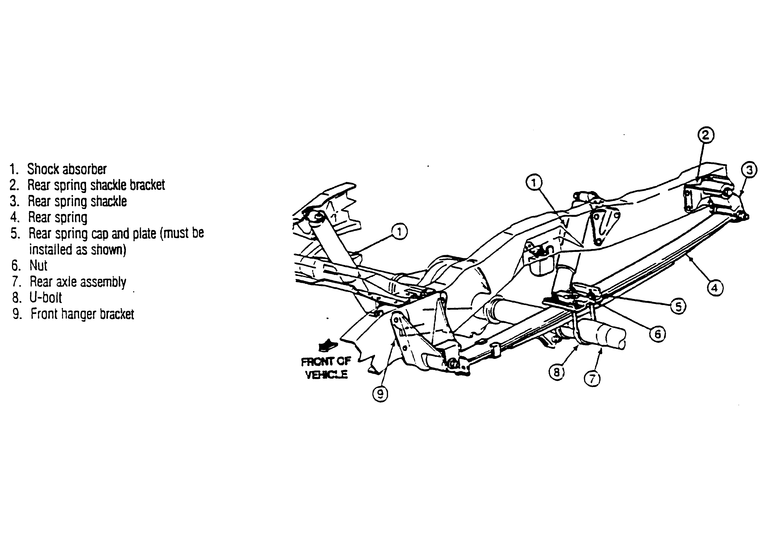
Fig. 1: View of the under-spring mounted axle assembly

  1. Disconnect the negative battery cable.
  2. Raise and support the vehicle safely.
  3. Matchmark and disconnect the driveshaft at the axle.
  4. Remove the wheels and brake drums.
  5. Disengage the brake line from the clips that retain the line to the housing.
  6. Disconnect the vent tube from the housing.
  7. Remove the axle shafts.
  8. Remove the brake backing plate from the housing and support them with wire. Do not disconnect the brake line.
  9. If the rear lower shock absorber mounts are integral to the axle housing, disconnect each shock from the mounting bracket.
  10. Lower the axle slightly to reduce some of the spring tension. At each rear spring, remove the spring clip (U-bolt) nuts, spring clips and spring seat caps.
  11. If the axle housing is mounted on top of the springs, proceed as follows:
    1. Slide the axle housing to the right-side and lower the left-side axle tube end until it clears the leaf spring.
    2. Slide the axle housing to the left-side until the right-side axle tube end will clear the leaf spring.
  12. Lower the axle housing and remove it from under the vehicle.

    To install:

  13. Position the axle housing to the rear springs. Install the spring clips (U-bolts), spring seat clamps and nuts. Tighten the spring clamps evenly to 115 ft. lbs.
  14. If a new axle housing is being installed, remove the bolts that attach the brake backing plate and bearing retainer from the old housing flanges. Position the bolts in the new housing flanges to hold the brake backing plates in position. Torque the bolts to 40 ft. lbs.
  15. Install the axle shafts.
  16. Connect the vent tube to the housing.
  17. Position the brake line to the housing and secure it with the retaining clips.
  18. Raise the axle housing and springs enough to allow connecting the rear shock absorbers to the mounting bracket studs on the housing. Torque the nuts to 60 ft. lbs.
  19. Connect the driveshaft to the axle. Torque the nuts to 8–15 ft. lbs.
  20. Install the brake drums and wheels.
  21. Lower the vehicle.
  22. Reconnect the negative battery cable.
MPV Models
  1. Raise and support the rear end on jackstands. Allow the axle to hang freely.
  2. If equipped, remove the splash shield.
  3. Remove the stabilizer bar.
  4. Matchmark the height sensing adjusting link and mounting, then remove the connecting bolt.
  5. Disconnect the parking brake cable at the axle.
  6. Disconnect the brake hose at the axle and plug the line.
  7. Support the weight of the axle with a floor jack.
  8. Disconnect the shock absorbers.
  9. Remove the lateral rod.
  10. Remove the upper links.
  11. Remove the lower links.
  12. Lower the axle slowly and remove the coil springs.
  13. Remove the axle.

    Fig. 2: View of the type of rear axle housing assembly

    To install:

  14. Position the axle under the vehicle.
  15. Position the coil springs on the axle with the larger end downward.
  16. Raise the axle slowly into position.
  17. Install the lower links. Hand tighten the bolts.
  18. Install the upper links. Hand tighten the bolts.
  19. Install the lateral rod. Hand tighten the bolts.
  20. Connect the shock absorbers. Hand tighten the bolts.
  21. Support the weight of the axle with a floor jack.
  22. Connect the brake hose at the axle.
  23. Connect the parking brake cable at the axle.
  24. Install the height sensor connecting bolt. Torque it to 19 ft. lbs (26 Nm) on standard models; 12 ft. lbs. (16 Nm) on models with a towing package.
  25. Install the stabilizer bar. Tighten the clamp bolts to 38 ft. lbs. (52 Nm) Tighten the end link bolts so that 7mm of thread is exposed above the nut.
  26. If equipped, install the splash shield.
  27. Lower the vehicle to the ground. Observe the following torques:

Previous Next