DTC P0031 [LF]


B3E010201084W01

DTC P0031

Front HO2S heater circuit low input

DETECTION CONDITION

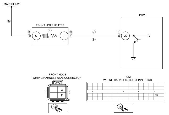
• The PCM monitors the front HO2S heater control signal at PCM terminal 2G. If the PCM turns the front HO2S heater off but the front HO2S heater circuit has low voltage, the PCM determines that the front HO2S heater circuit has malfunction.
Note
• The front HO2S heater is controlled by duty signal.
Diagnostic support note
• This is a continuous monitor (HO2S heater).
• The MIL illuminates if the PCM detects above malfunction condition in two consecutive drive cycles or in one drive cycle while the DTC for the same malfunction has been stored in the PCM.
• PENDING CODE is available if the PCM detects above malfunction condition during first drive cycle.
• FREEZE FRAME DATA is available.
• The DTC is stored in the PCM memory.

POSSIBLE CAUSE

• Front HO2S malfunction
• Open circuit in wiring harness between main relay and front HO2S terminal C
• Open circuit in wiring harness between front HO2S terminal D and PCM terminal 2G
• Short to ground in wiring harness between front HO2S terminal D and PCM terminal 2G
• Poor connection at front HO2S or the PCM connector
• PCM malfunction

Diagnostic procedure

STEP

INSPECTION

ACTION

1
VERIFY FREEZE FRAME DATA HAS BEEN RECORDED
• Has FREEZE FRAME DATA been recorded?
Yes
Go to the next step.
No
Record the FREEZE FRAME DATA on the repair order, then go to the next step.
2
VERIFY RELATED REPAIR INFORMATION AVAILABILITY
• Verify related service repair information availability.
• Is any related repair information available?
Yes
Perform repair or diagnosis according to the available repair information.
• If the vehicle is not repaired, go to the next step.
No
Go to the next step.
3
INSPECT POOR CONNECTION OF FRONT HO2S CONNECTOR
• Turn the ignition switch off.
• Disconnect front HO2S connector.
• Inspect for poor connection (such as damaged/pulled-out pins, corrosion).
• Is there any malfunction?
Yes
Repair or replace the terminal, then go to Step 9.
No
Go to the next step.
4
INSPECT FRONT HO2S HEATER
• Inspect the front HO2S heater.
• Is the front HO2S heater normal?
Yes
Go to the next step.
No
Replace the front HO2S, then go to Step 9.
5
INSPECT POWER CIRCUIT OF FRONT HO2S HEATER FOR OPEN CIRCUIT
• Turn the ignition switch to the ON position (Engine off).
• Measure voltage between front HO2S terminal C (harness-side) and body ground.
• Is the voltage B+?
Yes
Go to the next step.
No
Repair or replace the wiring harness for open circuit, then go to Step 9.
6
INSPECT POOR CONNECTION OF PCM CONNECTOR
• Turn the ignition switch off.
• Disconnect the PCM connector.
• Inspect for poor connection (such as damaged/pulled-out pins, corrosion).
• Is there any malfunction?
Yes
Repair terminal, then go to Step 9.
No
Go to the next step.
7
INSPECT CONTROL CIRCUIT OF FRONT HO2S HEATER FOR SHORT TO GROUND
• Inspect for continuity between front HO2S terminal D (wiring harness-side) and body ground.
• Is there continuity?
Yes
Repair or replace the wiring harness for short to ground, then go to Step 9.
No
Go to the next step.
8
INSPECT CONTROL CIRCUIT OF FRONT HO2S HEATER FOR OPEN CIRCUIT
• Inspect for continuity between front HO2S terminal D (wiring harness-side) and PCM terminal 2G.
• Is there continuity?
Yes
Go to the next step.
No
Repair or replace the wiring harness for open circuit, then go to Step 9.
9
VERIFY TROUBLESHOOTING OF DTC P0031 COMPLETED
• Make sure to reconnect all disconnected connectors.
• Clear the DTC from the PCM memory using the WDS or equivalent.
• Perform the HO2S heater, HO2S, and TWC Repair Verification Drive Mode. (See OBD DRIVE MODE [LF].)
• Is the PENDING CODE for this DTC present?
Yes
Replace the PCM, then go to the next step.
No
Go to the next step.
10
VERIFY AFTER REPAIR PROCEDURE
• Perform the "After Repair Procedure".
• Is there any DTC present?
Yes
Go to the applicable DTC troubleshooting.
No
Troubleshooting completed.