DTC P0032 [LF]


B3E010201084W02

DTC P0032

Front HO2S heater circuit high input

DETECTION CONDITION

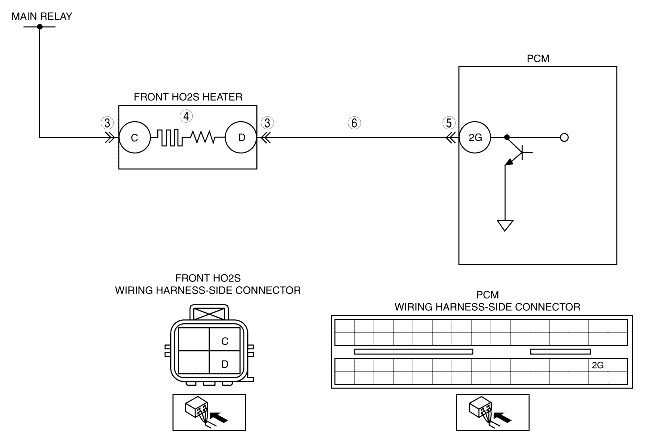
• The PCM monitors the front HO2S heater control signal at PCM terminal 2G. If the PCM turns the front HO2S heater on but the front HO2S heater circuit has high voltage, PCM determines that front HO2S heater circuit has malfunction.
Note
• Front HO2S heater is controlled by a duty signal.
Diagnostic support note
• This is a continuous monitor (HO2S heater).
• The MIL illuminates if the PCM detects the above malfunction condition in two consecutive drive cycles or in one drive cycle while the DTC for the same malfunction has been stored in the PCM.
• PENDING CODE is available if the PCM detects the above malfunction condition.
• FREEZE FRAME DATA is available.
• The DTC is stored in the PCM memory.

POSSIBLE CAUSE

• Short to power supply in wiring harness between front HO2S terminal D and PCM terminal 2G
• Short circuit in front HO2S or PCM terminal
• Front HO2S heater malfunction
• PCM malfunction

Diagnostic procedure

STEP

INSPECTION

ACTION

1
VERIFY FREEZE FRAME DATA HAS BEEN RECORDED
• Has FREEZE FRAME DATA been recorded?
Yes
Go to the next step.
No
Record the FREEZE FRAME DATA on the repair order, then go to the next step.
2
VERIFY RELATED REPAIR INFORMATION AVAILABILITY
• Verify related service repair information availability.
• Is any related repair information available?
Yes
Perform repair or diagnosis according to the available repair information.
• If the vehicle is not repaired, go to the next step.
No
Go to the next step.
3
INSPECT FRONT HO2S TERMINALS
• Turn the ignition switch off.
• Disconnect the front HO2S connector.
• Inspect for poor connection (such as damaged/pulled-out pins, corrosion).
• Is there any malfunction?
Yes
Repair or replace the terminal, then go to Step 7.
No
Go to the next step.
4
INSPECT FRONT HO2S HEATER
• Inspect the front HO2S heater.
• Is the front HO2S heater normal?
Yes
Go to the next step.
No
Replace the front HO2S, then go to Step 7.
5
INSPECT PCM TERMINAL
• Disconnect the PCM connector.
• Inspect for poor connection (such as damaged/pulled-out pins, corrosion).
• Is there any malfunction?
Yes
Repair the terminal, then go to Step 7.
No
Go to the next step.
6
INSPECT FRONT HO2S HEATER CONTROL CIRCUIT FOR SHORT TO POWER SUPPLY
• Turn the ignition switch to the ON position (Engine off).
• Measure the voltage between front HO2S terminal D (wiring harness-side) and body ground.
• Is the voltage B+?
Yes
Repair or replace the wiring harness for shot to power circuit, then go to the next step.
No
Go to the next step.
7
VERIFY TROUBLESHOOTING OF DTC P0032 COMPLETED
• Make sure to reconnect all disconnected connectors.
• Clear the DTC from the PCM memory using the WDS or equivalent.
• Perform the HO2S heater, HO2S, and TWC Repair Verification Drive Mode. (See OBD DRIVE MODE [LF].)
• Is the PENDING CODE for this DTC present?
Yes
Replace the PCM, then go to the next step.
No
Go to the next step.
8
VERIFY AFTER REPAIR PROCEDURE
• Perform the "After Repair Procedure".
• Are any DTC present?
Yes
Go to the applicable DTC troubleshooting.
No
Troubleshooting completed.