DTC P2010 [LF]


B3E010202000W03

DTC P2010

Variable tumble solenoid valve circuit high input

DETECTION CONDITION

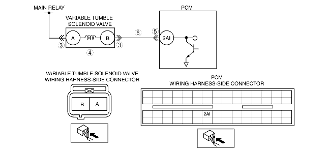
• The PCM monitors the variable tumble solenoid valve control signal at PCM terminal 2AI. If the PCM turns variable tumble solenoid valve on but the voltage at PCM terminal 2AI still remains high, the PCM determines that the variable tumble solenoid valve circuit has malfunction.
Diagnostic support note
• This is a continuous monitor (CCM).
• The MIL illuminates if the PCM detects the above malfunction condition in two consecutive drive cycles or in one drive cycle while the DTC for the same malfunction has been stored in the PCM.
• PENDING CODE is available if the PCM detects the above malfunction condition during first drive cycle.
• FREEZE FRAME DATA is available.
• The DTC is stored in the PCM memory.

POSSIBLE CAUSE

• Poor connection of connectors at PCM and/or variable tumble solenoid valve
• Short to power supply in wiring harness between variable tumble solenoid valve terminal B and PCM terminal 2AI
• Variable tumble solenoid valve malfunction
• PCM malfunction

Diagnostic procedure

STEP

INSPECTION

ACTION

1
VERIFY FREEZE FRAME DATA HAS BEEN RECORDED
• Has FREEZE FRAME DATA been recorded?
Yes
Go to the next step.
No
Record the FREEZE FRAME DATA on the repair order, then go to the next step.
2
VERIFY RELATED REPAIR INFORMATION AVAILABILITY
• Verify related service repair information availability.
• Is any related repair information available?
Yes
Perform repair or diagnosis according to the available repair information.
• If the vehicle is not repaired, go to the next step.
No
Go to the next step.
3
INSPECT POOR CONNECTION OF VARIABLE TUMBLE SOLENOID VALVE CONNECTOR
• Turn the ignition switch off.
• Inspect for poor connection (such as damaged/pulled-out pins, corrosion).
• Is there malfunction?
Yes
Repair or replace the terminal, then go to Step 7.
No
Go to the next step.
4
INSPECT VARIABLE TUMBLE SOLENOID VALVE
• Perform variable tumble solenoid valve inspection.
• Is variable tumble solenoid valve normal?
Yes
Go to the next step.
No
Replace the variable tumble solenoid valve, then go to Step 7.
5
INSPECT PCM CONNECTOR FOR POOR CONNECTION
• Turn the ignition switch off.
• Disconnect the PCM connector.
• Inspect for poor connection at PCM terminal 2AI. (such as damaged/pulled-out pins, corrosion).
• Is there malfunction?
Yes
Repair terminal, then go to Step 7.
No
Go to the next step.
6
INSPECT VARIABLE TUMBLE SOLENOID VALVE CONTROL CIRCUIT FOR SHORT TO POWER SUPPLY
• Remove the variable tumble solenoid valve.
• Turn the ignition switch to the ON position (Engine off).
• Measure the voltage between PCM terminal 2AI and body ground.
• Is the voltage B+?
Yes
Repair or replace the wiring harness for short to power supply, then go to the next step.
No
Go to the next step.
7
VERIFY TROUBLESHOOTING OF DTC P2010 COMPLETED
• Make sure to reconnect all disconnected connectors.
• Clear the DTC from the PCM memory using the WDS or equivalent.
• Start the engine.
• Is the PENDING CODE for this DTC present?
Yes
Replace the PCM, then go to the next step.
No
Go to the next step.
8
VERIFY AFTER REPAIR PROCEDURE
• Perform the "After Repair Procedure".
• Are any DTC present?
Yes
Go to the applicable DTC troubleshooting.
No
Troubleshooting completed.