OIL PRESSURE INSPECTION [ZJ, Z6]
B3E011101003W03
-
Warning
-
• Continuous exposure with used engine oil has caused skin cancer in laboratory mice. Protect your skin by washing with soap and water immediately after working with engine oil.
-
• Hot engines and engine oil can cause severe burns. Turn off the engine and wait until it and the engine oil have cooled.
1. Remove the battery cover. (See BATTERY REMOVAL/INSTALLATION [ZJ, Z6].)
2. Disconnect the negative battery cable.
3. Remove the under cover.
4. Remove the oil pressure switch.
5. Screw the SST into the oil pressure switch installation hole.
6. Warm up the engine to normal operating temperature.
7. Run the engine at the specified speed, and note the gauge readings.
-
• If not within the specification, inspect for the cause and repair or replace if necessary.
-
Note
-
• The oil pressure can vary with oil viscosity and temperature.
Oil pressure [oil temperature: 100 °C {212 °F}] (reference value)
-
330380 kPa {3.36-3.87 kgf/cm2, 47.8-55.0 psi} min [3,000 rpm]
8. Stop the engine and wait until it is cool.
9. Remove the SST.
-
Caution
-
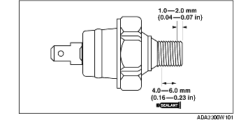
• Be sure there is no sealant between 1.0 and 2.0 mm {0.04 and 0.07 in} from the end of the oil pressure switch to prevent a possible operation malfunction.
10. Apply silicone sealant to the oil pressure switch threads.
11. Install the oil pressure switch.
-
Tightening torque
-
1217 N·m {1.2-1.8 kgf·m, 9-13 ft·lbf}
12. Install the under cover.
13. Connect the negative battery cable.
14. Install the battery cover. (See BATTERY REMOVAL/INSTALLATION [ZJ, Z6].)
15. Start the engine and inspect for oil leakage.
-
• If the oil leaks, specify the malfunctioning part and repair or replace it.