POSITIVE CRANKCASE VENTILATION (PCV) VALVE INSPECTION [ZJ, Z6, LF]


B3E011613890W01

1. Remove the intake manifold.

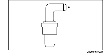
2. Remove the PCV valve.

3. Verify that there is no airflow when pressure is applied to port A.

• If there is airflow, replace the PCV valve.

4. Verify that there is airflow when vacuum is applied to port A.

• If there is no airflow, replace the PCV valve.