PURGE SOLENOID VALVE INSPECTION [ZJ, Z6, LF]
B3E011618740W03
Evaporative Purge Control Inspection
Without using WDS or equivalent
1. Warm up the engine and idle it.
2. Disconnect the vacuum hose which is connected to the charcoal canister from purge solenoid valve.
3. Place your finger onto the purge solenoid valve as shown in the figure and verify that vacuum is applied.
ZJ, Z6
LF
-
• If vacuum is not applied, inspect the following:
-
- PCM output signal circuit (wiring harness, connector)
-
• Evaporative purge control signal
-
- Purge solenoid valve
4. Run the vehicle on the chassis dynamometer and maintain the engine speed at approx. 2,000 rpm.
5. Verify that vacuum is applied after approx. 30 s.
-
• If the vacuum is not verified, inspect the following:
-
- PCM input signal circuit (sensor, switch, wiring harness)
-
• Intake air temperature signal (intake air temperature sensor)
-
• Evaporative purge control signal (purge solenoid valve)
-
• Throttle opening signal (throttle position sensor)
-
• Load/no load identification signal
-
Neutral switch/Clutch switch (MTX)/Transaxle range switch (ATX)
-
- Purge solenoid valve
Using WDS or equivalent
1. Connect the WDS or equivalent to the DLC-2.
2. Warm up the engine and idle it.
3. Disconnect the vacuum hose which is connected to the charcoal canister from purge solenoid valve.
4. Place your finger onto the purge solenoid valve as shown in the figure and verify that vacuum is applied.
ZJ, Z6
LF
-
• If vacuum is not applied, inspect the following:
-
- PID: EVAPCP
-
- Purge solenoid valve
5. Disconnect the vacuum hose.
6. Using the "EVAPCP" simulation function, set the present 0% duty value of the purge solenoid valve to the 100% duty value and verify that the engine idles roughly or stalls.
-
• If the idle status does not change, inspect the following:
-
(1) Turn the ignition switch to the ON position.
-
(2) Using the "EVAPCP" simulation function, set the present 0% duty value of the purge solenoid valve to the 50% duty value and verify purge solenoid valve operation sound.
-
• If the operation sound is verified, inspect the following:
-
- Disconnection and damage of the vacuum hose (intake manifold-purge solenoid valve-charcoal canister)
-
• If the operation sound is not verified, inspect the following:
-
- Purge solenoid valve
-
- Wiring harness and connector open circuit (main relay-purge solenoid valve-PCM)
Airflow Inspection
1. Disconnect the negative battery cable.
2. Remove the purge solenoid valve.
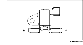
3. Verify that the airflow is as indicated in the table.
ZJ, Z6
LF
-
• If as specified in the table, perform the "Circuit Open/Short Inspection".
-
• If not as specified in the table, inspect the purge solenoid valve.
|
Measured condition
|
Continuity between A-B
|
|
When voltage is applied between terminals A and B
|
No airflow
|
|
When voltage is not applied between terminals A and B
|
Airflow detected
|
Circuit Open/Short Inspection [ZJ, Z6]
1. Disconnect the PCM connector. (See PCM REMOVAL/INSTALLATION [ZJ, Z6].)
2. Inspect the following wiring harness for an open or short circuit (continuity check).
Open circuit
-
• If there is no continuity, the circuit is open. Repair or replace the harness.
-
- Purge solenoid valve terminal A and PCM terminal 2T
-
- Purge solenoid valve terminal B and PCM terminal 2AV
Short circuit
-
• If there is continuity, the circuit is short. Repair or replace the harness.
-
- Purge solenoid valve terminal A and body GND
-
- Purge solenoid valve terminal B and power supply
Circuit Open/Short Inspection [LF]
1. Disconnect the PCM connector. (See PCM REMOVAL/INSTALLATION [LF].)
2. Inspect the following wiring harness for an open or short circuit (continuity check).
Open circuit
-
• If there is no continuity, the circuit is open. Repair or replace the harness.
-
- Purge solenoid valve terminal A and PCM terminal 2AN
-
- Purge solenoid valve terminal B and main relay terminal A
Short circuit
-
• If there is continuity, the circuit is short. Repair or replace the harness.
-
- Purge solenoid valve terminal A and body GND