FRONT WHEEL ALIGNMENT
B3E021101015W01
Specification (Unloaded)*1
|
Item
|
Fuel gauge indication
|
|
Empty
|
1/4
|
1/2
|
3/4
|
Full
|
|
Maximum steering angle
[Tolerance ±3°]
|
Inner
|
39°48'
|
|
Outer
|
32°48'
|
|
Total toe-in
|
Tire
[Tolerance ±4 {±0.16}]
|
(mm {in})
|
2 {0.08}
|
|
Rim inner
|
1±3 {0.04±0.12}
|
|
(degree)
|
0°11'±0°22'
|
|
Caster angle*2 (Reference value)
[Tolerance ±1°]
|
2°55'
|
2°57'
|
3°00'
|
3°02'
|
3°04'
|
|
Camber angle*2 (Reference value)
[Tolerance ±1°]
|
-0°39'
|
-0°40'
|
-0°41'
|
|
Steering axis inclination (Reference value)
|
13°59'
|
14°00'
|
14°01'
|
14°02'
|
*1 :
Engine coolant and engine oil are at specified level. Spare tire, jack and tools are in designated position.
*2 :
Difference between left and right must not exceed 1°30' .
-
Note
Total toe-in measuring position
-
• Tire: A indicated in the figure (between the center of the tires)

-
• Rim inner: B indicated in the figure (between the inner side of the rims)
Steering Angle Adjustment
1. Loosen the locknut of the tie-rod end.
2. Remove the rack boot clamp.
3. Rotate the tie rod and adjust the steering angle.
-
Note
-
• The travel distance of the right and left tie rods should be the same.
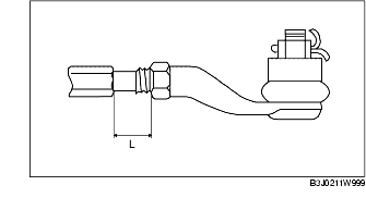
4. Rotate the tie rod and adjust so that the length L shown in the figure is within the specification.
-
Standard
-
13-31 mm {0.52-1.22 in}
5. Tighten the locknut of the tie-rod end.
-
Tightening torque
-
68.6-98.0 N·m {7.00-9.99 kgf·m, 50.6-72.2 ft·lbf}
6. Correct the rack boot twists.
7. Install and fix the rack boot clamp.
8. After adjusting the steering angle, always inspect and adjust the toe angle.
Total Toe-in Adjustment
1. Loosen the locknut of the tie-rod end.
2. Remove the rack boot clamp.
3. Adjust the total toe-in by rotating each tie rod (left and right) in the opposite directions by the same amount respectively.
-
Note
-
• Toe angle changes by approx. 6mm {0.2 in} per one rotation of the tie rod for one wheel.
-
• Each tie rod has a right-hand thread. When increasing the toe-in angle, rotate the right tie rod toward the front of the vehicle and rotate the left tie rod toward the rear of the vehicle by the same amount.
4. Tighten the locknut of the tie-rod end.
-
Tightening torque
-
68.6-98.0 N·m {7.00-9.99 kgf·m, 50.6-72.2 ft·lbf}
5. Verify that the rack boot does not have any twisting and install the rack boot clamp.