STEERING GEAR AND LINKAGE INSPECTION
B3E061432960W03
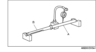
Steering Rack Inspection
1. Inspect for cracking, damage, and tooth wear.
-
• If there is any malfunction, replace the steering rack.
2. Measure the steering rack warp.
-
• If it exceeds the maximum specification, replace the steering rack.
-
Minimum
-
Near point A: 0.15 mm {0.006 in}
-
Near point B: 0.20 mm {0.008 in}
Tie-rod End Inspection
1. Inspect the tie-rod end for damage and the boot for cracks.
-
• If there is any malfunction, replace the tie-rod end.
2. Inspect for excessive play.
-
• If there is any malfunction, replace the tie-rod end.
3. Rotate the ball joint 10 times.
4. Install two nuts to the ball joint and measure the tie-rod end rotational torque using a torque wrench.
-
• If not within the specification, replace the tie-rod end.
-
Standard rotational torque
-
0.5-3.0 N·m {6-30 kgf·cm, 5-26 in·lbf}
Tie rod Inspection
1. Inspect for bending and damage.
-
• If there is any malfunction, replace the tie rod.
2.• Inspect for excessive play.
-
• If there is any malfunction, replace the tie rod.
3. Swing the ball joint 10 times.
4. Measure the ball joint swing torque using a pull scale.
-
• If it exceeds the specification, replace the tie rod.
-
Standard swing torque
-
0.4-4.0 N·m {5-40 kgf·cm, 4-35 in·lbf}
-
Pull scale reading
-
0.6-29.3 N {0.06-2.98 kgf, 0.14-6.58 lbf}