FRONT SEAT BELT REMOVAL/INSTALLATION
B3E081157630W02
-
Warning
-
• The side air bag sensor is attached to the lower part of the B-pillar. When working around the B-pillar, disconnect the negative battery cable or work carefully, avoiding excessive impact to the lower part of the B-pillar.
-
Caution
-
• The ELR (emergency locking retractor) has a spring that will unwind if the retractor cover is removed. The spring cannot be rewound by hand. If this occurs, the ELR will not work properly. Therefore, do not disassemble the retractor.
1. Turn the ignition switch to the LOCK position.
2. Disconnect the negative battery cable.
3. Remove the front scuff plate. (See FRONT SCUFF PLATE REMOVAL/INSTALLATION.)
4. Remove the rear scuff plate. (See REAR SCUFF PLATE REMOVAL/INSTALLATION.)
5. Remove the B-pillar lower trim. (See B-PILLAR LOWER TRIM REMOVAL/INSTALLATION.)
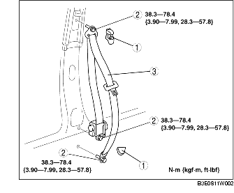
6. Remove in the order indicated in the table.
|
1
|
Cover
|
|
2
|
Bolt
|
|
3
|
Front seat belt
|
7. Install in the reverse order of removal.