Previous Next

Valve Cover

REMOVAL & INSTALLATION

1.8L Engine
  1. Relieve the fuel system pressure.
  2. If not already done, disconnect the negative battery cable.
  3. Disconnect the air intake and breather hoses.
  4. Remove the PCV hose from the valve.
  5. Disconnect the accelerator cable. If equipped, with cruise control there will be 2 cables.
  6. Tag and disconnect the spark plug wires, then remove the spark plugs from the cylinder head.
  7. Disconnect the vacuum line for the brake booster.
  8. Remove the clamp that holds the power steering pressure hose to the engine mounting bracket, if required.

    Fig. 1: Apply sealant to the area shown on the semi-circular packing

    Fig. 2: Install the semi-circular packing into the cylinder head, then apply sealant to its top surface

  9. Remove the valve cover mounting bolts.
  10. Remove the valve cover, gasket and half-round seal from the engine.
  11. Clean all mating surfaces.

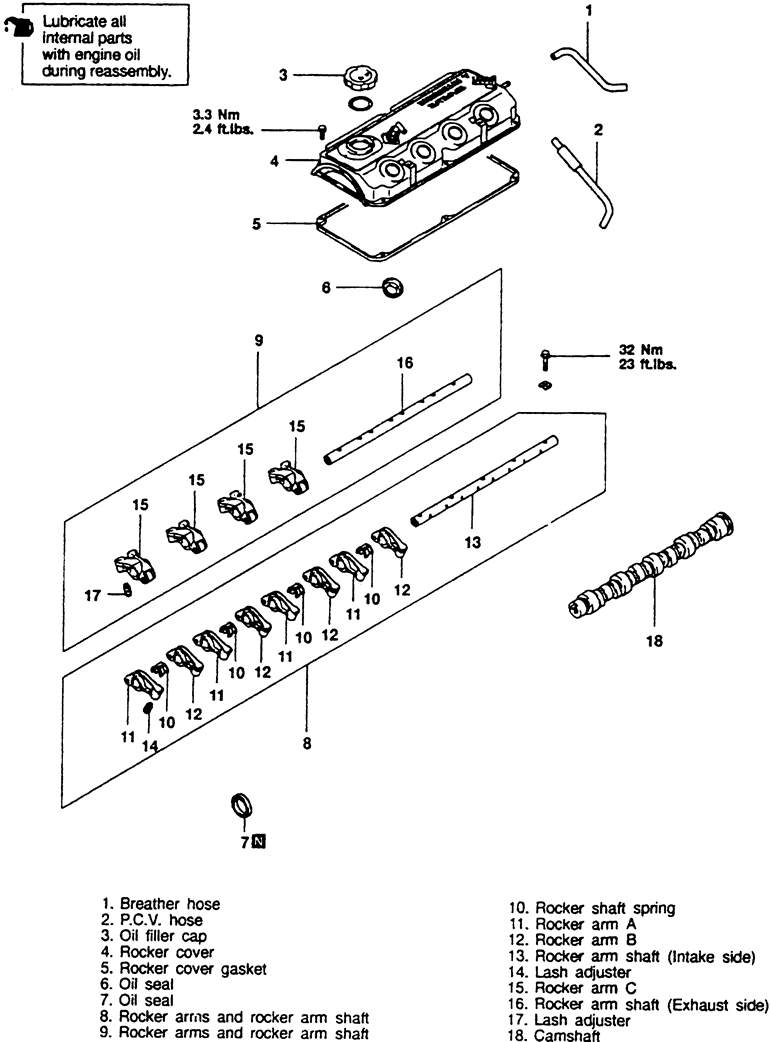
    Fig. 3: Exploded view of the valve (rocker) and related components

    To install:

  12. Apply sealer to the perimeter of the half-round seal and position in position in the cylinder head. Install a new valve cover gasket.
  13. Install the valve cover to the engine and tighten the retaining bolts to 5 ft. lbs. (7 Nm). Make sure the gasket remains in position during cover installation.
  14. Attach or install all previously disconnected hoses, cables and electrical connections. Adjust the throttle cable(s).
  15. Install the air intake hose. Connect the breather hose and PCV hose.
  16. Connect the negative battery cable, then start the engine and let idle. Inspect for leaks.
  17. Check and adjust the idle speed as required.
2.0L and 2.4L Engines
  1. Relieve the fuel system pressure.
  2. If not already done, disconnect the negative battery cable.
  3. Disconnect the accelerator cable. There will be 2 cables if equipped with cruise-control.
  4. Remove the air cleaner with the air intake hose.
  5. If equipped, remove the spark plug cable center cover and remove the spark plug cable.
  6. Reposition the electrical harness and vacuum hoses as not to interfere with valve cover removal. Remove the PCV hose, as required. Disconnect the brake booster vacuum hose.

    Fig. 4: Unfasten the retaining clamp, then disconnect the PCV hose

  7. If necessary for removal of the valve cover bolts, remove the ignition coil.

    Fig. 5: On some vehicles, such as this 1996 2.0L non-turbo, the ignition coil must be removed first

  8. Re-route any wires in the way of the valve cover retaining bolts

    Fig. 6: Reposition any wires that block access to the valve cover retainers

  9. Remove the valve cover retaining screws/bolts.

    Fig. 7: Unfasten the valve cover retaining bolts . . .

    Fig. 8: . . . then lift the valve cover up and away from the cylinder head

  10. Remove the valve cover, half-round seal and gasket from the engine.

    Fig. 9: Remove the gasket and seals, check for damage and replace if necessary

  11. Clean all gasket mating surfaces.

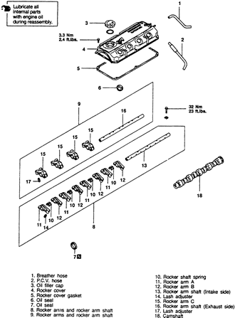
    Fig. 10: Exploded view of the rocker arm cover, rocker arms and related components — 2.4L engine shown

    To install:

  12. Apply sealer to the perimeter of the half-round seal and to the lower edges of the half-round portions of the belt-side of the new gasket. Install the valve cover.
  13. Tigthen the retainers evenly to 3 ft. lbs. (3.5 Nm).
  14. Connect or install all previously disconnected hoses, cables and electrical connections. Adjust the throttle cable(s).
  15. Install the spark plug cable center cover.
  16. Install the air cleaner and intake hose. Connect the breather hose.
  17. Connect the negative battery cable, run the vehicle until the thermostat opens and inspect for leaks.
  18. Check and adjust the idle speed, as required.

Previous Next