Previous Next

Ignition Coil(s)

TESTING

1.6L and 1990 2.0L DOHC Engines

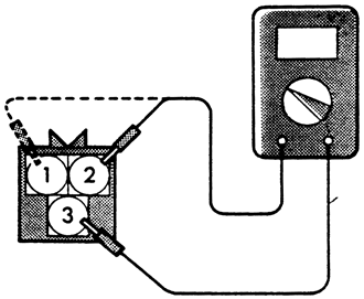
Fig. 1: Measuring ignition coil primary resistance — 1.6L and 1990 2.0L DOHC engines

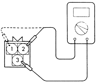
Fig. 2: Measuring ignition coil secondary resistance — 1.6L and 1990 2.0L DOHC engines

  1. Disconnect the negative battery cable and ignition coil harness connector.
  2. Measure the primary coil resistance as follows:
    1. Measure the resistance between terminals of the coil pack, NOT THE WIRE HARNESS, between 4 and 2 (coils at the No. 1 and No. 4 cylinder sides) of the ignition coil, and between terminals 4 and 1 (coils at the No. 2 and No. 3 cylinder sides).
    2. Compare reading to the desired primary coil resistance of 0.77–0.95 ohms.
  3. Measure the coil secondary resistance as follows:
    1. Detach the connector from the ignition coil.
    2. Measure the resistance between the high-voltage terminals for the No. 1 and No. 4 cylinders, and between the high-voltage terminals for the No. 2 and No. 3 cylinders.
    3. Compare the measured resistance to the desired secondary coil resistance of 10.3–13.9 kilo-ohms.
  4. If the readings are not within the specified value, replace the ignition coil.
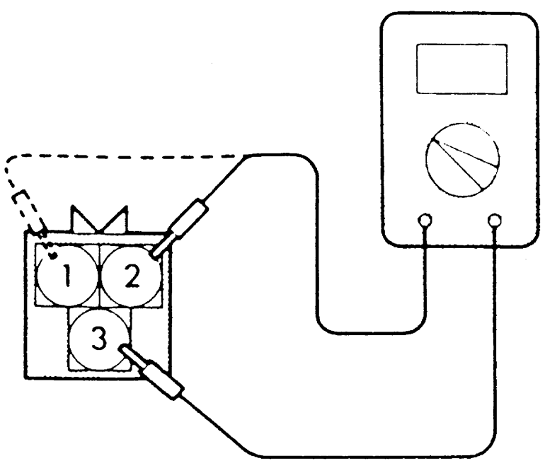
1991–93 2.0L DOHC Engines
  1. Disconnect the negative battery cable and ignition coil harness connector.
  2. Measure the primary coil resistance as follows:
    1. Measure the resistance between terminals 3 and 2 (coils at the No. 1 and No. 4 cylinder sides) of the ignition coil, and between terminals 3 and 1 (coils at the No. 2 and No. 3 cylinder sides).
    2. Compare reading to the desired primary coil resistance of 0.70–0.86 ohms.
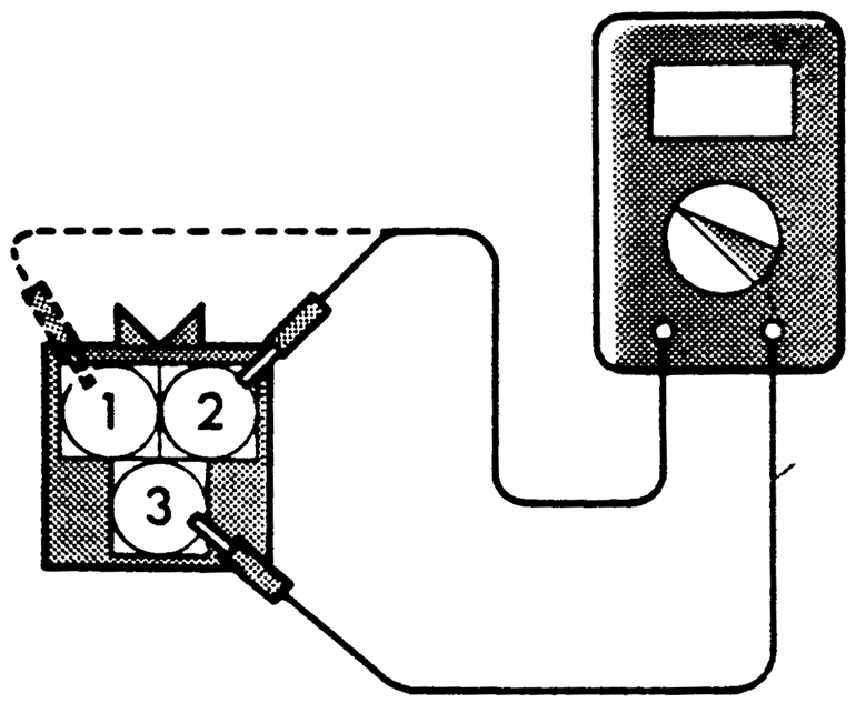
  3. Measure the coil secondary resistance as follows:
    1. Detach the connector from the ignition coil.
    2. Measure the resistance between the high-voltage terminals for the No. 1 and No. 4 cylinders, and between the high-voltage terminals for the No. 2 and No. 3 cylinders.
    3. The desired secondary coil resistance is 11.3–15.3 kilo-ohms.

      Fig. 3: Measuring the primary ignition coil resistance — 1991–93 2.0L DOHC engines

      Fig. 4: Measuring ignition coil secondary resistance — 1991–93 2.0L DOHC engines

  4. If the readings are not within the specified value, replace the ignition coil.
1997–00 1.8L and 1999–00 2.4L SOHC Engines

Fig. 5: Measuring ignition coil secondary resistance — 1997–00 1.8L and 1999–00 2.4L SOHC engines

  1. Measure the resistance of the secondary ignition coil as follows:
    1. Insert one of the test leads into the secondary ignition coil terminal of the coil.
    2. Touch the second test lead to terminal 1 or terminal 2 of the coil connector.
    3. Measure the resistance and compare to the desired specifications of 9.4–12.8 kilo-ohms.
    4. If the measured value is within standard allowance, there are no broken wires or short circuits.
    5. If the actual reading differs from the desired specification, replace the ignition coil.
2.4L DOHC Engines
  1. Disconnect the negative battery cable.
  2. To check the primary coil resistance, perform the following:
    1. Detach the electrical connector from the coil pack.
    2. Using an ohmmeter, measure the resistance between the two terminals of the coil, NOT THE WIRE HARNESS.
    3. If the resistance is not between 0.74–0.90 ohms, replace the ignition coil.

      Fig. 6: Measure the primary coil resistance between the connector terminals — 2.4L DOHC engine

  3. To check the secondary coil resistance, perform the following:
    1. Tag and disconnect the spark plug wires from the ignition coil.
    2. Measure the secondary resistance of the coil between the towers of each individual coil.
    3. If the resistance is not between 20.1–27.3 kilo-ohms, replace the ignition coil.

      Fig. 7: Measure the secondary resistance between the towers of the coil — 2.4L DOHC engine

3.0L DOHC Engine

Fig. 8: Measuring ignition coil primary resistance — 3.0L DOHC engine

Fig. 9: Measuring ignition coil secondary resistance — 3.0L DOHC engine

  1. Measure the resistance of the primary ignition coil as follows:
    1. Unplug the electrical connector at the coil pack. Using an ohmmeter, measure the resistance between the terminals of the coil pack, NOT THE WIRE HARNESS. Measure the resistance between terminals:
      • 2 – 3 for Coil A
      • 1 – 3 for Coil B
      • 4 – 3 for Coil C
    2. Measure the resistance and compare to the desired specifications of 0.67–0.81 ohms.
    3. If the actual reading differs from the desired specification, replace the ignition coil.
    4. If the measured value is within standard allowance, there are no broken wires or short circuits.
  2. Measure the resistance of the secondary ignition coil as follows:
  3. Insert the lead of the ohmmeter between coil pack cylinder terminals:
    1. Measure the resistance and compare to the desired specifications of 11.3–15.3 kilo-ohms.
    2. If the measured value is within standard allowance, there are no broken wires or short circuits.
    3. If the actual reading differs from the desired specification, replace the ignition coil pack.

Previous Next