Previous Next

Oil Pan

REMOVAL & INSTALLATION

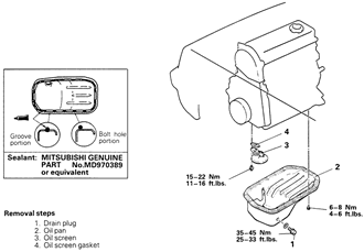
1.5L Engine

Fig. 1: Oil pan and related components — Mirage 1.5L (4G15) engine

  1. Disconnect the negative battery cable.
  2. Drain the engine oil.

    CAUTION
    The EPA warns that prolonged contact with used engine oil may cause a number of skin disorders, including cancer! You should make every effort to minimize your exposure to used engine oil. Protective gloves should be worn when changing the oil. Wash your hands and any other exposed skin areas as soon as possible after exposure to used engine oil. Soap and water, or waterless hand cleaner should be used.

  3. Remove the bell housing lower cover.
  4. Remove the oil pan retainer bolts. Tap the oil pan with a rubber mallet to break seal.

    NOTE: Do not use a prytool when removing the oil pan. If available, oil pan remover tool MD998727 or equivalent may be used to break the seal.

    To install:

  5. Clean all gasket surfaces of the cylinder block and the oil pan.
  6. Apply sealant to the gasket surfaces of the oil pan.
  7. Install the oil pan onto the cylinder block within 15 minutes after applying sealant. Install the fasteners and tighten to 60 inch lbs. (7 Nm).
  8. Install the bell housing cover.
  9. Install the oil drain plug with a new seal and tighten to 29 ft. lbs. (40 Nm).
  10. Lower the vehicle and fill the crankcase to the proper level with clean engine oil.

    WARNING
    Operating the engine without the proper amount and type of engine oil will result in severe engine damage.

  11. Connect the negative battery cable. Start the engine and check for leaks.
1.8L Engine

Fig. 2: Oil pan and related components — 1.8L engine

  1. Disconnect the negative battery cable.
  2. Raise the vehicle and support safely.
  3. Remove the oil pan drain plug and drain the engine oil.

    CAUTION
    The EPA warns that prolonged contact with used engine oil may cause a number of skin disorders, including cancer! You should make every effort to minimize your exposure to used engine oil. Protective gloves should be worn when changing the oil. Wash your hands and any other exposed skin areas as soon as possible after exposure to used engine oil. Soap and water, or waterless hand cleaner should be used.

  4. Disconnect and lower the exhaust pipe from the engine manifold.
  5. Remove the bell housing lower cover.
  6. Remove the oil pan retainer bolts and remove the oil pan.

    NOTE: Do not use a prytool when removing the oil pan. If available, oil pan remover tool MD998727 or equivalent may be used break the seal.

    To install:

  7. Clean all gasket surfaces of the cylinder block and the oil pan.
  8. Apply sealant around the gasket surfaces of the oil pan.
  9. Install the oil pan onto the cylinder block within 15 minutes after applying sealant. Install the fasteners and tighten to 60 inch lbs. (5 Nm).
  10. Install the bell housing cover.
  11. Connect the exhaust pipe to the engine manifold with new gasket in place. Tighten the exhaust pipe to manifold flange nuts to 33 ft. lbs. (45 Nm). Install and tighten the support bolt to 18 ft. lbs. (25 Nm).
  12. Install the oil drain plug and tighten to 29 ft. lbs. (40 Nm).
  13. Fill the crankcase to the proper level.

    WARNING
    Operating the engine without the proper amount and type of engine oil will result in severe engine damage.

  14. Connect the negative battery cable. Start the engine and check for leaks.
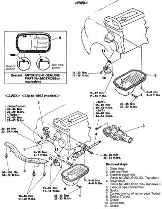
1.6L and 2.0L Engines
FRONT WHEEL DRIVE

Fig. 3: Oil pan and related components — 2.0L SOHC engine

Fig. 4: Oil pan and removal for FWD and AWD 1.6L and 2.0L DOHC engines

  1. Disconnect the negative battery cable.
  2. Raise the vehicle and support safely.
  3. Remove the oil pan drain plug and drain the engine oil.

    CAUTION
    The EPA warns that prolonged contact with used engine oil may cause a number of skin disorders, including cancer! You should make every effort to minimize your exposure to used engine oil. Protective gloves should be worn when changing the oil. Wash your hands and any other exposed skin areas as soon as possible after exposure to used engine oil. Soap and water, or waterless hand cleaner should be used.

  4. Disconnect and lower the exhaust pipe from the engine manifold.
  5. Using the appropriate equipment, support the weight of the engine.
  6. Remove the retainer bolts and the center crossmember.
  7. Remove the oil pan bolts. Using special tool MD998727, tap in between the engine block and the oil pan.

    NOTE: Do not use a chisel, screwdriver or similar tool when removing the oil pan. Damage to engine components may occur.

  8. Inspect the oil pan for damage and cracks. Replace if faulty. While the pan is removed, inspect the oil screen for clogging, damage and cracks. Replace if faulty.

    To install:

  9. Using a wire brush or other tool, scrape clean all gasket surfaces of the cylinder block and the oil pan so that all loose material is removed. Clean sealing surfaces of all dirt and oil.
  10. Apply sealant around the gasket surfaces of the oil pan in such a manner that all bolt holes are circled and there is a continuous bead of sealer around the entire perimeter of the oil pan.

    NOTE: The continuous bead of sealer should be applied in a bead approximately 0.16 in. (4mm) in diameter.

  11. Install the oil pan onto the cylinder block within 15 minutes after applying sealant. Install the fasteners and tighten to 4–6 ft. lbs. (6–8 Nm).
  12. Install the crossmember and tighten the mounting bolts to 72 ft. lbs. (100 Nm).
  13. Connect the exhaust pipe to the engine manifold with new gasket in place. Tighten the exhaust pipe to manifold flange nuts to 29 ft. lbs. (40 Nm).
  14. Install the oil drain plug and tighten to 33 ft. lbs.
  15. Lower the vehicle and fill the crankcase to the proper level with clean engine oil.

    WARNING
    Operating the engine without the proper amount and type of engine oil will result in severe engine damage.

  16. Connect the negative battery cable.
  17. Start the engine and check for leaks.
ALL WHEEL DRIVE
  1. Disconnect the negative battery cable.
  2. Raise the vehicle and support safely.
  3. Remove the oil pan drain plug and drain the engine oil.

    CAUTION
    The EPA warns that prolonged contact with used engine oil may cause a number of skin disorders, including cancer! You should make every effort to minimize your exposure to used engine oil. Protective gloves should be worn when changing the oil. Wash your hands and any other exposed skin areas as soon as possible after exposure to used engine oil. Soap and water, or waterless hand cleaner should be used.

  4. Disconnect and lower the exhaust pipe from the engine manifold.
  5. Remove the transfer assembly and right driveshaft.
  6. Using the appropriate equipment, support the weight of the engine and remove the center crossmember.
  7. Disconnect the return pipe for the turbocharger from the side of the oil pan.
  8. Remove the oil pan bolts. Using special tool MD998727, tap in between the engine block and the oil pan.

    NOTE: Do not use a chisel, screwdriver or similar tool when removing the oil pan. Damage to engine components may occur.

  9. Inspect the oil pan for damage and cracks. Replace if faulty. While the pan is removed, inspect the oil screen for clogging, damage and cracks. Replace if faulty.

    To install:

  10. Using a wire brush or other tool, scrape clean all gasket surfaces of the cylinder block and the oil pan so that all loose material is removed. Clean sealing surfaces of all dirt and oil.
  11. Apply sealant around the gasket surfaces of the oil pan in such a manner that all bolt holes are circled and there is a continuous bead of sealer around the entire perimeter of the oil pan.

    NOTE: The continuous bead of sealer should be applied in a bead approximately 0.16 in. (4mm) in diameter.

  12. Install the oil pan onto the cylinder block within 15 minutes after applying sealant. Install the fasteners and tighten to 4–6 ft. lbs. (6–8 Nm).
  13. Install the oil return pipe using a new gasket, if removed. Tighten retainers to 5–7 ft. lbs. (7–10 Nm).
  14. Install the left member and tighten the forward retainer bolts to 72 ft. lbs. (100 Nm). Tighten the rearward left member bolts to 58 ft. lbs. (80 Nm).
  15. Install the transfer assembly and right driveshaft.
  16. Connect the exhaust pipe from the engine manifold with new gasket in place. Tighten the exhaust pipe to manifold flange nuts to 29 ft. lbs. (40 Nm).
  17. Install the oil drain plug and tighten to 33 ft. lbs.
  18. Lower the vehicle and fill the crankcase to the proper level with clean engine oil.

    WARNING
    Operating the engine without the proper amount and type of engine oil will result in severe engine damage.

  19. Connect the negative battery cable. Start the engine and check for leaks.
2.4L Engine

Fig. 5: Oil pan and related components — 2.4L engine

  1. Disconnect the negative battery cable.
  2. Remove the oil pan drain plug and drain the engine oil.

    CAUTION
    The EPA warns that prolonged contact with used engine oil may cause a number of skin disorders, including cancer! You should make every effort to minimize your exposure to used engine oil. Protective gloves should be worn when changing the oil. Wash your hands and any other exposed skin areas as soon as possible after exposure to used engine oil. Soap and water, or waterless hand cleaner should be used.

  3. Remove the oil dipstick and tube assembly.
  4. Detach the Heated Oxygen (HO2S) sensor connector.
  5. Remove the front exhaust pipe from the vehicle.
  6. Remove the bell housing cover.
  7. Remove the oil pan retainer bolts. Using special tool MD998727 or equivalent, tap in between the engine block and the oil pan.

    NOTE: Do not use a prytool when removing the oil pan. Damage to engine components may occur.

    To install:

  8. Apply sealant around the gasket surfaces of the oil pan.
  9. Install the oil pan onto the cylinder block within 15 minutes after applying sealant. Install the fasteners and tighten to 6 ft. lbs. (8 Nm).
  10. Install the oil drain plug and tighten to 29 ft. lbs. (39 Nm).
  11. Install the bell housing cover, and tighten the mounting bolts to 7 ft. lbs. (9 Nm).
  12. Install the front exhaust pipe and tighten the bolts at the catalytic converter to 36 ft. lbs. (49 Nm). Tighten the nuts at the exhaust manifold to 32 ft. lbs. (44 Nm).
  13. Reconnect the HO2S sensor connector.
  14. Fill the crankcase to the proper level.

    WARNING
    Operating the engine without the proper amount and type of engine oil will result in severe engine damage.

  15. Connect the negative battery cable. Start the engine and check for leaks.
3.0L Engines
  1. Disconnect the negative battery cable.
  2. Remove the oil pan drain plug and drain the engine oil.

    CAUTION
    The EPA warns that prolonged contact with used engine oil may cause a number of skin disorders, including cancer! You should make every effort to minimize your exposure to used engine oil. Protective gloves should be worn when changing the oil. Wash your hands and any other exposed skin areas as soon as possible after exposure to used engine oil. Soap and water, or waterless hand cleaner should be used.

  3. Remove the left side crossmember. If equipped with 4WS, it will also be necessary to remove the right side crossmember.
  4. Remove the starter motor.
  5. Disconnect the roll stopper stay bracket, from the rear transaxle stay bracket. Remove the both transaxle stay brackets.
  6. Remove the bell housing lower cover.
  7. Remove the oil pan mounting bolts. Using special tool MD998727 or equivalent, separate and remove the engine oil pan.

    To install:

  8. Apply a 0.16 in. (4mm) continuous bead of sealer around the surface of the oil pan.

    NOTE: Assemble the oil pan to the cylinder block within 15 minutes after applying the sealant.

  9. Install the oil pan mounting bolts. Following proper sequence, tighten mounting bolts to 48 inch lbs. (6 Nm).

    Fig. 6: Oil pan bolt tightening sequence and application of sealant to the pan — Diamante 3.0L engines

  10. Install lower bell housing cover and the starter motor.
  11. Install the transaxle stay brackets and connect the roll stopper bracket.
  12. Install the crossmember(s) and tighten the mounting bolts to 43–51 ft. lbs. (60–70 Nm).
  13. Fill the engine with the proper amount of oil.

    WARNING
    Operating the engine without the proper amount and type of engine oil will result in severe engine damage.

  14. Connect the negative battery cable and check for leaks.
3.5L Engine
  1. Disconnect the negative battery cable.
  2. Drain the engine oil.

    CAUTION
    The EPA warns that prolonged contact with used engine oil may cause a number of skin disorders, including cancer! You should make every effort to minimize your exposure to used engine oil. Protective gloves should be worn when changing the oil. Wash your hands and any other exposed skin areas as soon as possible after exposure to used engine oil. Soap and water, or waterless hand cleaner should be used.

  3. Remove the mounting bolts from the lower oil pan.
  4. Place a block of wood against the side of the pan and tap the block with a hammer to break the seal and remove the lower pan.
  5. Remove the starter.
  6. Remove the dipstick tube.
  7. Unbolt the upper oil pan.

    WARNING
    Do not pry or use seal breaker tool to remove the oil pan. Damage to the aluminum surface can result.

  8. Screw a bolt into the threaded hole to force the oil pan from the engine block and remove the pan.
  9. Remove the bolt used to remove the pan.

    Fig. 7: Install a bolt in the threaded hole to force the oil pan from the engine block — 3.5L engine

    To install:

  10. Clean and degrease the sealing surfaces of the upper oil pan and engine block.
  11. Apply a bead of silicone sealant along the mounting surface of the upper oil pan.

    Fig. 8: Apply sealant and tighten the bolts in the order shown — 3.5L engine, upper oil pan shown

  12. Install the upper oil pan. Tighten the bolts in sequence to 4 ft. lbs. (6 Nm).
  13. Install the dipstick tube using a new O-ring.
  14. Install the starter assembly.
  15. Clean and degrease the sealing surface of the lower oil pan.
  16. Place a bead of sealant on the mounting surface of the lower oil pan. Install the lower pan. Tighten the bolts in sequence to 7–9 ft. lbs. (10–12 Nm).

    Fig. 9: Apply sealant and tighten the bolts in the order shown — 3.5L engine, lower oil pan shown

  17. Install the drain plug using a new washer. Tighten the drain plug to 29 ft. lbs. (39 Nm).
  18. Lower the vehicle and fill the crankcase to the correct level.

    WARNING
    Operating the engine without the proper amount and type of engine oil will result in severe engine damage.

  19. Connect the negative battery cable.
  20. Start the engine and check for leaks.

Previous Next