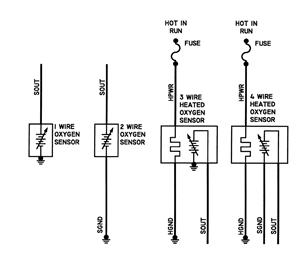
| Fig. 1: Wiring schematic of typical 1, 2, 3 and 4-wire
oxygen sensor circuits
|
When testing or servicing an O2sensor you will need to start and warm the engine
to operating temperature in order to either perform the necessary testing procedures
or to easily remove the sensor from its fitting. This will create a situation
in which you will be working around a HOT exhaust system. The
following is a list of precautions to consider during this service:
- Do not pierce any wires when testing an O2sensor, as this can lead to wiring
harness damage. Backprobe the connector, when necessary.
- While testing the sensor, be sure to keep out of the way of moving engine
components, such as the cooling fan. Refrain from wearing loose clothing which
may become tangled in moving engine components.
- Safety glasses must be worn at all times when working on or near the exhaust
system. Older exhaust systems may be covered with loose rust particles which
can shower you when disturbed. These particles are more than a nuisance and
can injure your eye.
- Be cautious when working on and around the hot exhaust system. Painful burns
will result if skin is exposed to the exhaust system pipes or manifolds.
- The O2sensor may be difficult to remove when the engine temperature is below
120°F (48°C). Excessive force may damage the threads in the exhaust
manifold or pipe, therefore always start the engine and allow it to reach
normal operating temperature prior to removal.
- Since O2sensors are usually designed with a permanently-attached wiring
pigtail (this allows the wiring harness and sensor connectors to be positioned
away from the hot exhaust system), it may be necessary to use a socket or
wrench that is designed specifically for this purpose.
