Previous Next

REMOVAL & INSTALLATION

  1. Raise the vehicle and support it safely on jackstands. Make sure the stands are placed on the frame rails.
  2. Remove the wheel from the side to be repaired.
  3. Support the lower control arm with a floor jack. Position the jack at a point away from where the torsion bar attaches to the arm.
  4. Fold the dust covers back and slide them away from the ends of the bar.
  5. If the bars are to be reused, matchmark the torsion bar at both ends to the anchor and identify left from right.
  6. Paint or measure the distance of the exposed threads of the rear mounting bolt down to the nut to aid in adjustment when installing. Remove the rear anchor arm mounting nut and bolt.
  7. Loosen the adjusting nut and pull the torsion bar from the lower arm assembly.
  8. Check the torsion bar for bends or damage. Inspect the dust covers for cracks. Check the anchor bolt for bending or distortion. If the torsion bar has received a heavy impact — such as during off-road use — it is recommended that the bar be professionally crack-checked using electric methods. The peace of mind is worth the cost.

    Fig. 1: Front torsion bar removal and installation components — 4-wheel drive Pick-ups and Monteros

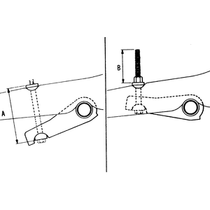
    Fig. 2: When installing the torsion bar, measure distances A and B — 4-wheel drive Pick-ups and Monteros

    Fig. 3: Measure the bump stopper distance from the bottom of the stopper to the bracket — 1983–91 Monteros and 1983–95 4-wheel drive Pick-ups

    Fig. 4: On 1992–95 Monteros, measure from the top tip of the stopper to the bracket

  9. If the bar is being reused, lubricate the ends and install the torsion bar aligning the matchmarks. If a new bar is being used, align the white stripe on the front splines with the mark on the anchor. There is a mark on the front of the torsion bar to differentiate between left and right. Do not install the bar with the mark facing the rear.
  10. Install the torsion bar to the rear anchor so that the length of the mounting bolt from the nut to the head of the bolt is the specified length with the rebound bumper in contact with the crossmember (distance A). Reposition the bar as required to meet the specifications. The specifications are:
  11. To initially set the ride height, tighten the rear anchor mounting nut to the same point at which it was removed, if the old bar is being reused. If a new bar has been installed, tighten the nut so that the exposed length of the bolt threads is to specification (distance B):
  12. Fill the dust covers with grease and fold them back into position.
  13. Adjust the torsion bar to the correct riding height.
  14. Install the wheel and lower the vehicle to the ground. With the vehicle on the ground but unladen, measure the distance from the bottom of the bump stopper to the contact face of the bump stop bracket. Correct distance is 2.79–3.11 in. (71–79mm). On the 1992–95 Monteros, measure the space from the top tip of the bump stopper to the bump stopper bracket, which should be 0.83–0.91 in. (21–23mm). Adjust this distance by turning the adjusting nut on the anchor bolt.

Previous Next