
- Inspect the floor area under the seat and remove stray or stored items.
If the seat has an under-seat storage tray, remove it.
- While not required on other these vehicles, removal of the sill plate or
scuff plate can be helpful to remove it.
| Fig. 1: Seat removal and installation components — Pick-ups
|
- Remove the end caps or rail covers from the seat adjusting rails. Each model
uses a different style. Covers are different front to rear and sometimes left
to right as well; pay attention to which cover goes on each rail. Each cover
attaches with a positive lock such as tabs, side arms, etc. This lock mechanism
must be released; the cover does not simply pull off the end of the rail.
Use care in removal as the covers must be reinstalled and snapped into position.
If the locking tabs are broken, the cover will constantly fall off the rail.
| Fig. 2: Front seat removal and installation components — 1992–95
Monteros, other years are similar
|
- Either disconnect the negative battery cable or at least turn the ignition
off and remove the key. Check under the seat and along the sides for any wiring
running from the seat to the body. This is particularly applicable to cars
with power or heated seats. Trace each wire to its in-line connector and disconnect
the harness.
WARNING
Many cars have electrical components mounted on the floor under the seat.
Various computers and relays may be mounted in this location; make very
certain you identify the wiring before disconnecting any.
- Identify the 4 retaining bolts holding the seat tracks to the floor. Slide
the seat all the way forward on its rails and remove the rear mounting hardware.
- Slide the seat to the rear and remove the front mounting nuts or bolts.
With the help of an assistant, lift the seat just enough to clear the mounts.
Inspect around and under the seat for any wiring still connected. Using two
people, remove the seat.
NOTE: This is a perfect time to clean and vacuum the carpet,
particularly if both seats have been removed. The amount of lost change
to be found will probably make it worthwhile.
- The seat may be disassembled as needed, but most operations are not recommended
for the owner/mechanic. Do not attempt to remove the seat covers unless equipped
with a selection of upholstery tools, including hog ring pliers.
To install:
- The seat must be reinstalled as a fully assembled unit. Make sure that both
seat tracks are full forward or full back on the seat. Any other position
risks a crooked installation and attendant binding.
- Lift the seat into the car and position it so that the mounts align. Install
the nuts and bolts finger-tight only.
- Move the seat through its full range of travel, checking that it will lock
securely in each position.
- Tighten the mounting hardware to the proper torque value. Correct tightening
order must be observed:
- Inner rear, outer rear, inner front and outer front. The bolts should
be tightened to 9 ft. lbs (12 Nm) for 1983–91 Pick-ups, to 12–19
ft. lbs. (17–26 Nm) for 1992–95 Pick-ups, and to 33 ft. lbs.
(44 Nm) for 1992–95 Monteros. Check the seat motion and locking
function after tightening the hardware.
- Connect any wiring which was disconnected.
- Install the end caps on each seat track. Make certain they are securely
in place.
- Install any trays or components removed from below the seat.
- Install the scuff plate if it was removed.
The Montero follows the steps above with one notable exception. Because of
the suspension unit between the seat and the floor, the seat should be unbolted
from the suspension frame. Attempting to remove both at once increases weight
and bulk which could lead to damage. In most cases, removing only the seat will
suffice to provide access to other areas or allow the seat to be replaced or
repaired.
If it is necessary to remove the seat suspension frame, it must be removed
from the floor as a unit (4 bolts). Do not attempt to disassemble or adjust
the suspension unit. Reinstall the frame first and then install the seat. All
mounting bolts for the seat and the suspension unit should be tightened to 34
ft. lbs. (45 Nm).
After reinstallation, check both the fore and aft locking of the seat and the
function of the suspension unit.
- Disconnect either the rear seat leg bracket (2 door) or the seat track (4
door) from the floor. This may require repositioning the seat for access.
| Fig. 3: Second seat removal and installation components — 1992–95
Monteros, other years similar
|
- Remove the plastic cover from the recliner mechanism. Remove the two bolts
holding the seatback to the seat bottom. Make certain you are not disconnecting
the adjuster; the spring is under tension.
- Remove the rear seat back from the cushion.
- Remove the seat cushion.
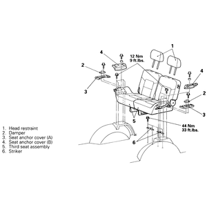
| Fig. 4: Third seat removal and installation components — 1992–95
Monteros
|
- Reassemble in reverse order. Install all the retaining bolts just snug.
Check the operation of the seat and seatback through all functions and positions.
Tighten the seatback to seat retaining bolts to 39 ft. lbs. (52 Nm). On 2-door
vehicles, tighten the seat bracket floor bolts to 9 ft. lbs. (12 Nm); on 4
door vehicles, tighten the rear seat track retaining bolt to 39 ft. lbs (52
Nm) and the front retaining bolt to 9 ft. lbs. (12 Nm).
