|
|
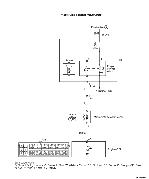
- Item No. 12: Waste gate solenoid valve
|
|
|
OK: Operating sound can be heard and the valve vibrates.
|
|
|
Q.
Is the check result normal?
|
|
|
Intermittent malfunction (Refer to GROUP 00 - How to Use Troubleshooting/Inspection
Service Points - How to Cope with Intermittent Malfunctions ).
|
|
|
|

|
Q.
Is the check result normal?
Go to Step 3 .
Repair or replace.
|

|
- Disconnect connector, and measure at solenoid valve side.
- Resistance between terminal No. 1 and No. 2.
OK: 29 - 35 Ω (at 20°C)
Q.
Is the check result normal?
Go to Step 4 .
Replace waste gate solenoid valve.
|

|
- Disconnect connector, and measure at harness side.
- Ignition switch: "ON"
- Voltage between terminal No. 1 and earth.
OK: System voltage
Q.
Is the check result normal?
Go to Step 6 .
Go to Step 5 .
|


|
Q.
Is the check result normal?

Check intermediate connectors A-36 and B-212,
and repair if necessary. If intermediate connectors are normal, check and repair harness between
A-134 (terminal No. 1) waste gate solenoid valve connector and B-206 (terminal No. 4) engine control
relay connector.
- Check power supply line for open/short circuit.
Repair or replace.
|

|
- Disconnect connector, and measure at harness side.
- Ignition switch: "ON"
- Voltage between terminal No. 65 and earth.
OK: System voltage
Q.
Is the check result normal?
Go to Step 8 .
Go to Step 7 .
|


|
Q.
Is the check result normal?

Check and repair harness between A-134 (terminal No.
2) waste gate solenoid valve connector and A-34 (terminal No. 65) engine-ECU connector.
- Check output line for open/short circuit.
Repair or replace.
|

|
Q.
Is the check result normal?
Go to Step 9 .
Repair or replace.
|


|
- Check output line for damage.
Q.
Is the check result normal?
Go to Step 10 .
Repair.
|


|
| note |
Before checking harness, check intermediate connector A-36 and B-212, and repair if necessary.
|
- Check power supply line for damage.
Q.
Is the check result normal?
Go to Step 11 .
Repair.
|
|
|
- Item No. 12: Waste gate solenoid valve
|
|
|
OK: Operating sound can be heard and the valve vibrates.
|
|
|
Q.
Is the check result normal?
|
|
|
Intermittent malfunction (Refer to GROUP 00 - How to Use Troubleshooting/Inspection
Service Points - How to Cope with Intermittent Malfunctions ).
|
|
|
|
|
|
Replace the engine-ECU then perform the variant coding (Refer to GROUP 00 - Precautions
Before Service - How to Perform Variant Coding ).
|
|
|
|