FRONT BODY



FENDER SHIELD



note *: Steel plates with different thickness welded together to make one steel plate.

1.
Engine mount reinforcement
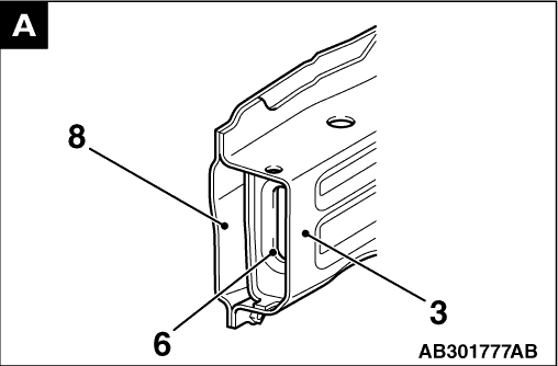
2.
Gusset
3.
Fender shield upper frame bulkhead front
4.
Spring house plate <T/C>
5.
Spring house bracket
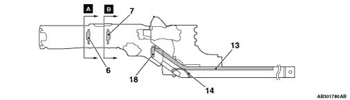
6.
Spring house panel
7.
Front sidemember
8.
Hose bracket











FRONT SIDEMEMBER REINFORCEMENT



note *: Steel plates with different thickness welded together to make one steel plate.


1.
Headlamp support centre carrier B bracket
2.
Headlamp support centre carrier A bracket
3.
Front sidemember inner
4.
Front sidemember bulkhead front
5.
Front sidemember bulkhead front reinforcement
6.
Engine mount reinforcement inner front
7.
Engine mount reinforcement inner rear
8.
Front sidemember outer
9.
Sidemember to side sill brace
10.
Dash side extension
11.
Front pillar extension inner
12.
Dash brace side A
13.
Front sidemember reinforcement rear
14.
Front sidemember bulkhead rear lower
15.
Front sidemember rear
16.
Suspension crossmember rear reinforcement
17.
Suspension crossmember rear bracket
18.
Front sidemember bulkhead rear
19.
Dash crossmember extension
20.
Front suspension crossmember bracket upper
21.
Pipe nut
22.
Suspension crossmember reinforcement front
23.
Suspension crossmember bracket front






1.
Battery bracket front
2.
Battery bracket rear
3.
Dash crossmember extension
4.
Suspension crossmember rear bracket
5.
Suspension crossmember rear reinforcement
6.
Front sidemember rear
7.
Front sidemember bulkhead rear lower
8.
Front sidemember bulkhead rear
9.
Front sidemember reinforcement rear
10.
Dash brace side A
11.
Front pillar extension inner
12.
Dash side extension
13.
Sidemember to side sill brace
14.
Front sidemember outer
15.
Transmission mount reinforcement
16.
Front sidemember bulkhead front reinforcement
17.
Front sidemember bulkhead front
18.
Front sidemember inner
19.
Headlamp support centre carrier A bracket
20.
Headlamp support centre carrier B bracket
21.
Front suspension crossmember bracket upper
22.
Pipe nut
23.
Suspension crossmember reinforcement front
24.
Suspension crossmember bracket front





FRONT DECK



1.
Carrier bracket rear
2.
Wiper bracket centre
3.
Cowl top outer panel
4.
Cowl top lower panel
5.
Dash upper extension
6.
Cowl top inner panel
7.
Front deck frame upper outer
8.
Front deck frame upper inner
9.
Dash side extension upper

DASH PANEL



1.
Dash panel crossmember
2.
Dash panel
3.
Backbone reinforcement front
4.
Dash extension centre
5.
Steering bracket