|
|
Check closely the entire timing belt.
|
|
|
Replace it if any of the following conditions is found.
|

|
1.Hardened back side rubber. Back side surface is glossy, lacking in elasticity, and so hard that no impression is
left when pressed with fingernail.
|

|
2.Cracks in back rubber surface. 3.Cracks in canvas. 4.Cracks in tooth roots. 5.Cracks in belt sides.
|

|
6.Abnormally worn belt sides.
| note |
belt sides are normal if they have "knife-cut" surfaces.
|
|

|
7.Badly worn teeth.
Initial stage: Canvas is worn (canvas fiber is fluffy;
teeth look whitish due to worn-out rubber; canvas texture is unclear) Second stage: Canvas is lost and rubber is exposed (tooth width narrows down)
8.Missing tooth.
|
|
|
1.Check the auto-tensioner for leaks from the sealed sections. Replace it if leaky.
|
|
|
2.Check the rod end for wear and other damage. Replace the auto-tensioner if the rod is badly worn or damaged.
|

|
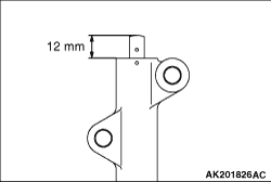
3.Measure the extension length of the rod. If it is not within the standard value range, replace the auto-tensioner. Standard value: 12 mm
|

|
4.Press the rod with a force of 98 - 196 N and measure the amount of retraction.
If the measurement exceeds the standard value, replace the auto-tensioner. Standard value: 1 mm maximum
|