Pre-removal Operation
- Strut Tower Bar Removal (Refer to GROUP 42, Strut Tower Bar
).
- Engine Cover Removal (Refer to GROUP 11E, Camshaft and Valve Stem Seal
).
- Engine Coolant Draining (Refer to GROUP 14, On-vehicle Service - Engine
Coolant Replacement
).
- Air Cleaner Intake Duct, Air Cleaner Assembly and Air Cleaner Duct Assembly Removal (Refer
to GROUP 15, Air Cleaner
).
- Air Hose D and Air Pipe B Removal (Refer to GROUP 15, Intercooler
).
|
Post-installation Operation
- Air Pipe B and Air Hose D Installation (Refer to GROUP
15, Intercooler
).
- Air Cleaner Intake Duct, Air Cleaner Assembly and Air Cleaner Duct Assembly Installation (Refer
to GROUP 15, Air Cleaner
).
- Engine Coolant Supplying (Refer to GROUP 14, On-vehicle Service - Engine
Coolant Replacement
).
- Engine Cover Installation (Refer to GROUP 11E, Camshaft and Valve Stem Seal
).
- Strut Tower Bar Installation (Refer to GROUP 42, Strut Tower Bar
).
|

|
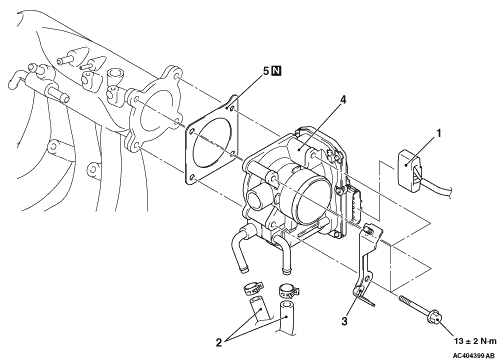
Install the throttle body gasket as its protrusion is in the direction shown.
|
|
|
When the throttle body is installed, removed or replaced, initialise the electronic-controlled
throttle valve system according to the procedure below beforehand.
|
|
|
1.Turn the ignition switch from "ON" position to "LOCK" (OFF) position,
and then hold "LOCK" (OFF) position for approximately 10 seconds or more.
|