
|
Q.
Is the check result normal?
Go to Step 2 .
Repair or replace the connector.
|
|
|
- Check AS&G OFF switch (Refer to
).
|
|
|
Q.
Is the check result normal?
|
|
|
Replace the AS&G OFF switch.
|
|
|
|

|
- Disconnect connector, and measure at the harness side.
- Ignition switch: ON
- Voltage between terminal No. 1 and earth.
OK: System voltage
Q.
Is the check result normal?
Go to Step 5 .
Go to Step 4 .
|


|
Q.
Is the check result normal?

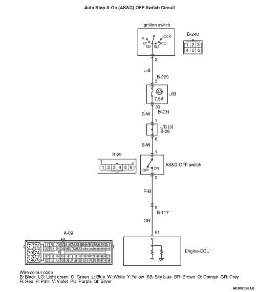
Check intermediate connectors B-26, B-231,
and B-229, and repair if necessary. If intermediate connectors are normal, check and repair
harness between B-240 (terminal No. 2) ignition switch connector and B-29 (terminal No. 1) AS&G
OFF switch connector.
- Check power supply line for open/short circuit.
Repair or replace the connector.
|

|
Q.
Is the check result normal?
Go to Step 6 .
Repair or replace the connector.
|


|
- Disconnect connector, and measure at harness side.
- Ignition switch: ON
- Voltage between terminal No. 91 and earth.
OK:
System voltage (AS&G OFF switch: ON) 1 V or less (AS&G OFF switch: OFF)
Q.
Is the check result normal?
Go to Step 7 .

Check intermediate connector B-117, and repair
if necessary. If intermediate connector is normal, check and repair harness between A-09 (terminal
No. 91) engine-ECU connector and B-29 (terminal No. 2) AS&G OFF switch connector.
- Check output line for open/short circuit.
|

|
Q.
Is the check result normal?
Go to Step 8 .
Repair or replace the connector.
|


|
| note |
Before checking harness, check intermediate connectors B-229, B-231 and B-26, and repair
if necessary.
|
- Check power supply line for damage.
Q.
Is the check result normal?
Go to Step 9 .
Repair the damaged harness wire.
|

|
Q.
Is the check result normal?
Go to Step 10 .
Repair or replace the connector.
|


|
| note |
Before checking harness, check intermediate connector B-117 and repair if necessary.
|
- Check output line for short circuit.
Q.
Is the check result normal?
Go to Step 11 .
Repair the damaged harness wire.
|
|
|
Q.
Does trouble symptom persist?
|
|
|
Replace the engine-ECU then perform the variant coding (Refer to GROUP 00 - Precautions
Before Service - How to Perform Variant Coding ).
|
|
|
|
|
|
Intermittent malfunction (Refer to GROUP 00 - How to Use Troubleshooting/Inspection
Service Points - How to Cope with Intermittent Malfunctions ).
|
|
|
|