THROTTLE VALVE OPENING
ANGLE CONTROL
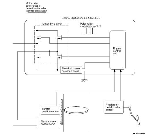
- The electronic-controlled throttle valve system electronically regulates
the throttle valve opening. The engine-ECU or engine-A-M/T-ECU monitors the amount of the accelerator
pedal travel through the accelerator pedal position sensor and determines premapped target throttle
valve opening values in accordance with operating conditions. Thus, the engine-ECU or engine-A-M/T-ECU
achieves the target throttle valve opening by controlling the current supplied to the throttle valve
control servo, which is attached to the throttle body.
- This system also controls the idle speed in addition to controlling the throttle
valve opening. Thus, the previously used idle speed control servo motor has been discontinued.
System Configuration Diagram

ENGINE CONTROL SYSTEM
Driving Control
The operation of the throttle valve is controlled to the target throttle opening, which
is determined by the amount of the accelerator pedal travel and driving conditions.
To prevent the shifting shock during the automated manual transmission shifting, the throttle
valve is controlled to optimize the engine torque and the engine speed.
Idle Speed Control
The engine-ECU or engine-A-M/T-ECU continuously calculates the actual idle speed in order
to effect idle speed control. If there is a difference from the target idle speed, two types
of controls are effected: the engine speed feedback control that actuates the throttle valve
in order to correct the actual idle speed to the target idle speed; and the throttle position control
that actuates the throttle valve in order to accommodate the load fluctuations that are caused by
the A/C or other loads.
Engine Speed Feedback Control
This control regulates the volume of air that flows through the throttle valve by actuating
the throttle valve, in order to maintain the engine at a prescribed target idle speed. An optimal
target idle speed is set to suit every operating condition (such as whether the A/C switch is
ON or OFF). The engine speed feedback control is effected only when the prescribed operating
conditions are met, and the throttle valve position control is effected at all other times.
Throttle Valve Position Control
While the engine is operating at idle, the idle speed could change suddenly when the load
that is applied to the engine changes, such as when the steering wheel is turned, the A/C switch
is turned ON/OFF, or the shift lever is operated. Immediately after any of these signals are
detected, this control actuates the throttle valve until the target position is attained, in order
to regulate the volume of air that flows through the throttle valve. Thus, the fluctuation of
the engine speed is restrained.
Failsafe Control
- If the engine-ECU or engine-A-M/T-ECU detects a malfunction in the system, it illuminates
the engine warning lamp. At the same time, the engine-ECU or engine-A-M/T-ECU reduces the engine
output by restricting the throttle valve opening or by cutting off the fuel supply, or, it disables
the throttle valve control servo by cutting off the power to the throttle valve control servo relay.
- When the power to the throttle valve control servo relay is cut off, the throttle
valve assumes a prescribed opening (to supply a volume of air that enables a minimum operation
of the vehicle). Thus, this control enables the vehicle to be driven at a minimum level even
if a malfunction occurs in the throttle control system.