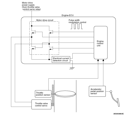
THROTTLE VALVE OPENING ANGLE CONTROL
The throttle valve opening angle control system is basically the same as the 135 engine used in COLT.
System Configuration Diagram