BLEEDING



caution Use only brake fluid DOT 4+. Never mix the specified brake fluid with other fluid as it will influence the braking performance significantly.

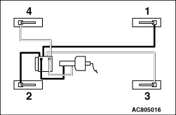
BRAKE LINE BLEEDING



Start the engine and bleed the air in the sequence shown in the figure.