REMOVAL AND INSTALLATION <COLT CZ3>



Pre-removal and Post-installation Operation
  • Quarter Trim Upper Removal and Installation (Refer to GROUP 52A, Interior Trim ).






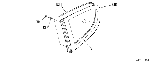
Removal steps
<<A>>
>>B<<
1.
Quarter window glass assembly


2.
Clip


3.
Gasket

>>A<<
4.
Quarter window dam

>>A<<
5.
Fastener

REMOVAL SERVICE POINT



<<A>> QUARTER WINDOW GLASS ASSEMBLY REMOVAL


1.In order to protect the body (paint surface), apply adhesive tape to all body areas around the installed quarter window glass.

2.Apply adhesive tape to protect the quarter window glass.


3.Use piano wire to cut away adhesive.
(1) Using a sharp-point drill, make a hole in the quarter window glass adhesive.
(2)
caution Do not let the piano wire touch the edge of the quarter window glass.
Pass the piano wire from the inside of the vehicle through the hole, and cut off the adhesive of the quarter window glass with the following procedures:
.....1. To remove the adhesive from the rear of the quarter window glass, cut off the adhesive seal line by pulling the piano wire alternately from the inside and outside of the vehicle.
.....2. To remove the adhesive from the front of the quarter window glass, cut off the adhesive seal line by passing the piano wire from the inside of the vehicle and pulling it alternately.


4.Use glass adhesive knife to cut away adhesive.
(1)
caution Inserting the adhesive knife too deeply into windshield adhesive may damage quarter window glass.
Working inside the vehicle, insert the tip of a windshield knife into the sealed part of the quarter window glass.
(2) Keep the glass adhesive knife at right angles with body flange (from inside the vehicle), and put the blade at body flange. Then cut away adhesive seal line along the body flange.

5.Separate the clips by using a piano wire.

6.Make the mating marks on the quarter window glass and body.
7.Use special tool window glass holder (MB990480) to remove the quarter window glass.

8.
caution
  • Be careful not to remove more adhesive than is necessary.
  • Be careful also not to damage the paintwork on the body surface with the knife. If the paintwork is damaged, repair the damaged area with repair paint or anti-rust agent.
Use a knife to cut away the remaining adhesive so that the thickness is within 2 mm around the entire circumference of the body flange.
9.Finish the flange surfaces so that they are smooth.
10.When reusing the quarter window glass, remove the adhesive still adhering to the quarter window glass, and clean with Parts Cleaner (MZ100387 or equivalent).
11.Clean the body side in the same way.

INSTALLATION SERVICE POINTS



>>A<< FASTENER AND QUARTER WINDOW DAM INSTALLATION


1.
caution Leave the degreased parts for 3 or more minutes to dry well, before starting on the next step. Do not touch the degreased parts.
Use Parts Cleaner (MZ100387 or equivalent) to degrease the inside and outside of the quarter window glass and the body flanges.

2.Install the fasteners to the specified positions on the body flange.
3.Install the fasteners to the quarter window glass at the positions which correspond to the fasteners on the body flange.
4.Install the quarter window dam to the quarter window glass.

>>B<< QUARTER WINDOW GLASS ASSEMBLY INSTALLATION


1.Apply the primer and adhesive.
2.Install the glass by the same procedure as for the windshield (Refer to ).