REMOVAL AND INSTALLATION <COLT CZ3>



Pre-removal and Post-installation Operation
  • Rear Wiper Blade and Arm Assembly Removal and Installation (Refer to GROUP 51, Rear Wiper and Washer ).
  • Tailgate Spoiler Removal and Installation <1500 MPI-T/C> (Refer to GROUP 51, Tailgate Spoiler ).
  • High-mounted Stop Lamp Assembly Removal and Installation (Refer to GROUP 54A, High-mounted Stop Lamp ).
  • Tailgate Trim Removal and Installation (Refer to GROUP 52A, Tailgate Trim ).






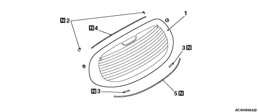
Removal steps


·
Harness connector
<<A>>
>>B<<
1.
Tailgate window glass

>>A<<
2.
Fastener

>>A<<
3.
Glass stopper

>>A<<
4.
Tailgate dam upper

>>A<<
5.
Tailgate dam lower

REMOVAL SERVICE POINT



<<A>> TAILGATE WINDOW GLASS REMOVAL


Remove the tailgate window glass using the same procedure as for the windshield (Refer to ).
note Use a piano wire to remove the tailgate window glass.

INSTALLATION SERVICE POINTS



>>A<< TAILGATE DAM LOWER/TAILGATE DAM UPPER/GLASS STOPPER/FASTENER INSTALLATION


1.
caution Leave the degreased parts for 3 or more minutes to dry well, before starting on the next step. Do not touch the degreased parts.
Use Parts Cleaner (MZ100387 or equivalent) to clean the inside edge of the tailgate window glass and the tailgate flange.
2.

Install the tailgate dam lower, the tailgate dam upper, the glass stopper and the fasteners as shown in the illustration.

3.Install the fasteners to the specified positions on the tailgate flange.

>>B<< TAILGATE WINDOW GLASS INSTALLATION


1.Apply the primer and adhesive.
2.Install the tailgate window glass in the same way as for the windshield installation (Refer to ).