FRONT SEAT





The front seat offers the following advantages.


EASY ENTRY SYSTEM <COLT CZ3/CZT>




The easy entry system has been adopted for the front seats. This system has the following features.


SPECIFICATIONS FOR HEATED SEAT


Item
Specification
Energy Consumption W
HIGH
Approximately 89
LOW
Approximately 22
Thermostat °C
from ON to OFF
42 ± 3
from OFF to ON
39 ± 3

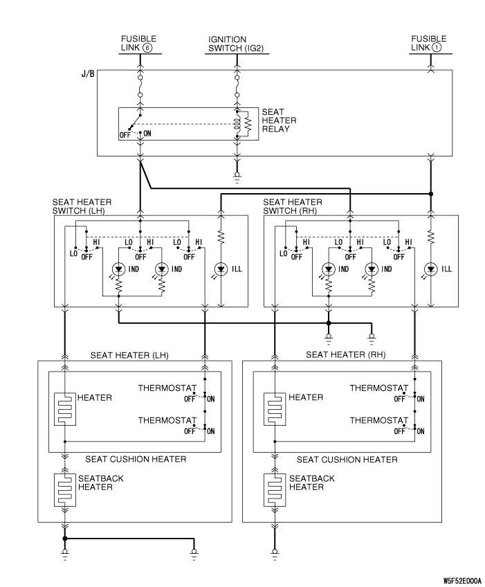
HEATED SEAT SYSTEM CIRCUIT DIAGRAM