LIGHTING



EXTERIOR LAMPS



Construction diagram








Specifications


Item
Specification
Headlamp assembly
High-beam / low-beam W / W
(Halogen bulb)
60 / 55 (H4)
Position lamp W
5 (W5W)
Front turn-signal lamp W
21 (P21W)
Front fog lamp W
55 (H11)
Side turn-signal lamp W
5 (WY5W)
Rear combination lamp assembly <COLT>
Tail lamp W
5 (R5W)
Stop lamp W
16 (W16W)
Rear turn-signal lamp W
21 (PY21W)
Back-up lamp or rear fog lamp* W
21 (P21W)
Rear combination lamp assembly <COLT CZ3/CZT>
Tail / stop lamp W / W
21 / 5 (P21 / 5W)
Rear turn-signal lamp W
21 (P21W)
Tail lamp assembly <COLT CZ3/CZT>
Back-up lamp or rear fog lamp* W
21 (P21W)
High-mounted stop lamp W × number
5 (W5W) × 4
Licence plate lamp W
5 (W5W)
note
  1. The brackets ( ) show the bulb type.
  2. *: The back-up lamp is installed in opposite driver’s side only. And the rear fog lamp is installed in the driver’s side only.

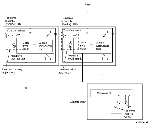
Headlamp levelling system



The beam direction of the headlamps changes according to the number of passengers and the amount of load. The headlamp levelling function is a system that allows the driver to change the direction of headlamp beam so that the drivers of oncoming cars are not dazzled by the headlamps. The headlamp levelling switch allows changing the direction in five steps: 0 to 4.

Relationship between the switch positions and the number of passengers/loads


Passenger and load








Switch position <Non-turbo>
0
2
3
3
Switch position <Turbo>
0
1
2
2
caution Each switch position is for reference. In each switch position, when the headlamp beam is too high, turn the switch to one-level higher position.

Operation




1.The headlamp levelling switch increases the resistance as it is turned from 0 to 4. Turning the headlamp levelling switch changes the voltage at point A. When the headlamp levelling switch is turned from 0 to 4, the voltage at point A decreases. Upon detection of this voltage change, the headlamp levelling unit turns the motor to lower the beam direction. At this time, the resistance of the variable resistor in the headlamp assembly changes, and the voltage at point B decreases gradually. When the voltages at points A and B become equal, the headlamp levelling unit stops the motor.
2.Turning the headlamp levelling switch from 4 to 0 increases the voltage at point A, and then the headlamp levelling unit turns the motor in the direction opposite to that mentioned in Item 1, increasing the voltage at point B. When the voltages at points A and B become equal, the headlamp levelling unit stops the motor.
3.The headlamp levelling unit detects voltage changes caused by headlamp levelling switch operation, and turns the motor to change the directions of the headlamp deflectors for the adjustment of the headlamp beam direction.

Auto lamp control <Vehicles with auto lamp>



The auto lamp control is a function that the rain light sensor* detects the brightness in front of the vehicle and illuminates the low-beam headlamps or the tail lamps. For details on operation, refer to GROUP 54B, Function and Control by ECUs of LIN .
note *: The rain light sensor is the sensor that detects light and rain.

INTERIOR LAMPS



Construction diagram







Specifications


Item
Specification
Room lamp W × number
5 × 2
Luggage compartment lamp W
10