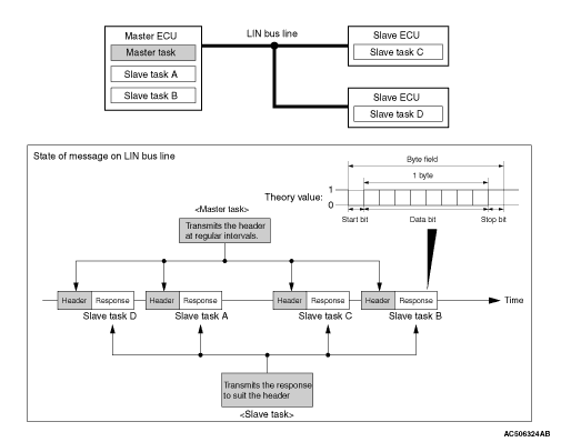
SYSTEM OPERATION






LIN communication system is described below:


VOLTAGE VARIATION OF LIN BUS LINE




When ECU sends or receives signals, LIN bus line voltage varies as follows.


MESSAGE FRAME




A message frame consists of fields that include a synchronisation start field, identifier field, data field, and checksum field. A few bits of recessive data is used to separate the frame from each field.
Frame
Field name
Description
Header
Synch Break
A field for informing the slave ECU of the starting of header transmission by sending the dominant signal for a given period of time
Synch Field
A field for synchronising transmission cycle of each ECU connected to the LIN bus line (The transmission speed of the slave ECU is synchronised with that of the master ECU.)
Identifier Field
A field stores an ID to call the slave ECU. The number of bytes for the data field is also defined in this field.
Response
Data Field
A field to store the control data used by ECU that is called by the header
Checksum Field
A field for checking errors in data content. The sending-end ECU calculates data field value according to the specified computing equation, and the result is stored in this filed. The receiving-end ECU detects the transmission error based on the checksum filed value.

ERROR DETECTION


By introducing checksum field into the message frame and integrating various kinds of error detection functions into the master and slave ECUs, the LIN protocol has assured higher communication reliability.