Inspection Procedure D-4: Passenger’s and/or rear power window(s) do not work by means of the power window main switch.









COMMENTS ON TROUBLE SYMPTOM


If the passenger’s and/or rear power window does not work by means of the power window main switch, the power window main switch or the respective power window sub switch(es) may be defective.

POSSIBLE CAUSES <LH DRIVE VEHICLES>



  • Malfunction of the power window main switch
  • Malfunction of the power window sub switch (front: RH), power window sub switch (rear: RH) or power window sub switch (rear: LH)
  • Damaged harness wires and connectors

POSSIBLE CAUSES <RH DRIVE VEHICLES>



  • Malfunction of the power window main switch
  • Malfunction of the power window sub switch (front: LH), power window sub switch (rear: RH) or power window sub switch (rear: LH)
  • Damaged harness wires and connectors

DIAGNOSIS PROCEDURE


Step 1. ECU check by using the SWS monitor.


Check that the power supply and earth lines to the power window main switch (power window module) and the SWS communication lines are normal.

  • Turn the ignition switch to the ON position.
ECUS TO BE CHECKED
  • P/W MODULE
OK: "OK" is displayed on the "P/W MODULE" menu.

Q. Is the check result normal?

Go to Step 2.
Refer to Inspection Procedure A-5 "Communication with the power window main switch (power window module) is not possible ."

Step 2. Check the power window sub switch.


Check that each power window works by means of the respective power window sub switch when the power window lock switch is turned off.

Q. Is the check result normal?

Go to Step 3.
Refer to inspection procedure D-3 "Relevant power window(s) do not work by means of the front and rear power window sub switches ."

Step 3. Confirm communication data by using the SWS monitor.


Check the SWS communication signal from the power window lock switch to the ETACS-ECU.
<Selected item> DOOR CNT. COM.
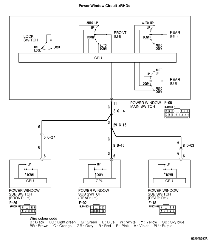
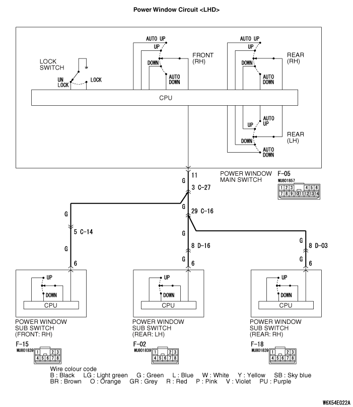
  • Insert a probe between a power window sub switch of a door of which power window does not work and the power window main switch (For the insertion point, refer to ).
  • Turn the ignition switch to the ON position.
  • Power window lock switch: OFF
Item No.
Item name
Normal condition
Item CB
P/W LOCK SW
OFF
OK: Normal condition is displayed.

Q. Is the check result normal?

Go to Step 4.
Replace the power window main switch.

Step 4. Confirm communication data by using the SWS monitor.


Check the SWS communication signals, which are used when the front and/or rear passenger’s door power windows are operated by the power window main switch.
<Selected item> DOOR CNT. COM.
  • Insert a probe between a power window sub switch of a door of which power window does not work and the power window main switch (For the insertion point, refer to ).
  • Turn the ignition switch to the ON position.
  • Are normal conditions displayed when each switch of the power window main switch is operated?
Item No.
Item name
Normal condition
Item C0
Pass door UP SW
ON
Item C1
Pas door DOWN SW
ON
Item C2
Pas door AUTO SW
ON
Item C4
Rear RH UP SW
ON
Item C5
Rear RH DOWN SW
ON
Item C6
Rear RH AUTO SW
ON
Item C8
Rear LH UP SW
ON
Item C9
Rear LH DOWN SW
ON
Item CA
Rear LH AUTO SW
ON
OK: Normal conditions are displayed for all the items.

Q. Are the check result normal?

Normal conditions are displayed for all of items C0, C1 and C2 when the front passenger’s power window does not work. : Go to Step 7.
Normal conditions are displayed for none of items C0, C1 and C2 when the front passenger’s power window does not work. : Go to Step 5.
Normal conditions are displayed for all of items C4, C5 and C6 when the rear right power window does not work. : Go to Step 13.
Normal conditions are displayed for none of items C4, C5 and C6 when the rear right power window does not work. : Go to Step 11.
Normal conditions are displayed for all of items C8, C9 and CA when the rear left power window does not work. : Go to Step 19.
Normal conditions are displayed for none of items C8, C9 and CA when the rear left power window does not work. : Go to Step 17.
Normal condition is displayed for any of the items. : Replace the power window main switch.

Step 5. Connector check: F-05 power window main switch connector.




Q. Is the check result normal?

Go to Step 6.

Repair the connector.

Step 6. Check the wiring harness from F-05 power window main switch connector terminal No.11 to the inserted probe.








note Prior to the wiring harness inspection, check intermediate connectors C-14, C-27, and repair if necessary.

  • Check the communication lines for open circuit.

Q. Is the check result normal?

Go to Step 9.

Repair the wiring harness.

Step 7. Connector check: F-15 power window sub switch (front: RH) connector <LH drive vehicles> or F-26 power window sub switch (front: LH) connector <RH drive vehicles>.




Q. Is the check result normal?

Go to Step 8.

Repair the connector.

Step 8. Check the wiring harness from F-15 power window sub switch (front: RH) connector <LH drive vehicles> or F-26 power window sub switch (front: LH) connector <RH drive vehicles> terminal No.6 to the inserted probe.








note Prior to the wiring harness inspection, check intermediate connectors C-14, C-27, and repair if necessary.

  • Check the communication lines for open circuit.

Q. Is the check result normal?

Go to Step 9.

Repair the wiring harness.

Step 9. Check the power window sub switch.


Check that the front passenger’s power window works by means of the power window sub switch (front: LH) when the power window lock switch is turned off.

Q. Is the check result normal?

Go to Step 10.
Refer to inspection procedure D-3 "Relevant power window(s) do not work by means of the front and rear power window sub switches ."

Step 10. Retest the system.


After the power window sub switch (front: LH) is replaced, check that the front passenger’s door power window can be operated by the power window sub switch.
(1)Replace the power window sub switch (front: LH).
(2)Check that the front passenger’s power window works by means of the power window main switch.

Q. Is the check result normal?

The trouble can be an intermittent malfunction (Refer to GROUP 00 - How to Cope with Intermittent Malfunction ).
Replace the power window main switch.

Step 11. Connector check: F-05 power window main switch connector.




Q. Is the check result normal?

Go to Step 12.

Repair the connector.

Step 12. Check the wiring harness from F-05 power window main switch connector terminal No.11 to the inserted probe.









note Prior to the wiring harness inspection, check intermediate connectors C-16, C-14 <RH drive vehicles>, C-27 <LH drive vehicles>, D-03, and repair if necessary.

  • Check the communication lines for open circuit.

Q. Is the check result normal?

Go to Step 15.

Repair the wiring harness.

Step 13. Connector check: F-18 power window sub switch (rear RH) connector.



Q. Is the check result normal?

Go to Step 14.

Repair the connector.

Step 14. Check the wiring harness from F-18 power window sub switch (rear: RH) connector terminal No.6 to the inserted probe.








note Prior to the wiring harness inspection, check intermediate connectors C-16, C-14 <RH drive vehicles>, C-27 <LH drive vehicles>, D-03, and repair if necessary.

  • Check the communication lines for open circuit.

Q. Is the check result normal?

Go to Step 15.

Repair the wiring harness.

Step 15. Check the power window sub switch.


Check that the rear right power window works by means of the power window sub switch (rear: RH) when the power window lock switch is turned off.

Q. Is the check result normal?

Go to Step 16.
Refer to inspection procedure D-3 "Relevant power window(s) do not work by means of the front and rear passenger’s power window sub switches ."

Step 16. Retest the system.


After the power window sub switch (rear: RH) is replaced, check that the rear right door power window can be operated by the power window sub switch.
(1)Replace the power window sub switch (rear: RH).
(2)Check that the rear right power window works by means of the power window main switch.

Q. Is the check result normal?

The trouble can be an intermittent malfunction (Refer to GROUP 00 - How to Cope with Intermittent Malfunction ).
Replace the power window main switch.

Step 17. Connector check: F-05 power window main switch connector.




Q. Is the check result normal?

Go to Step 18.

Repair the connector.

Step 18. Check the wiring harness from F-05 power window main switch connector terminal No.11 to the inserted probe.








note Prior to the wiring harness inspection, check intermediate connectors C-16, C-14 <RH drive vehicles>, C-27 <LH drive vehicles>, D-16, and repair if necessary.

  • Check the communication lines for open circuit.

Q. Is the check result normal?

Go to Step 21.

Repair the wiring harness.

Step 19. Connector check: F-02 power window sub switch (rear: LH) connector.



Q. Is the check result normal?

Go to Step 20.

Repair the connector.

Step 20. Check the wiring harness from F-02 power window sub switch (rear: LH) connector terminal No.6 to the inserted probe.







note Prior to the wiring harness inspection, check intermediate connectors C-16, C-14 <RH drive vehicles>, C-27 <LH drive vehicles>, D-16, and repair if necessary.

  • Check the communication lines for open circuit.

Q. Is the check result normal?

Go to Step 21.

Repair the wiring harness.

Step 21. Check the power window sub switch.


Check that the rear left power window works by means of the power window sub switch (rear: LH) when the power window lock switch is turned off.

Q. Is the check result normal?

Go to Step 22.
Refer to inspection procedure D-3 "Relevant power window(s) do not work by means of the front and rear power window sub switches ."

Step 22. Retest the system.


After the power window sub switch (rear: LH) is replaced, check that the rear left door power window can be operated by the power window sub switch.
(1)Replace the power window sub switch (rear: LH).
(2)Check that the rear left power window works by means of the power window main switch.

Q. Is the check result normal?

The trouble can be an intermittent malfunction (Refer to GROUP 00 - How to Cope with Intermittent Malfunction ).
Replace the power window main switch.