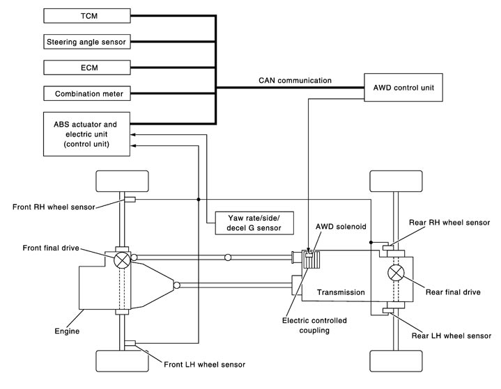
CONTROL DIAGRAM