MAIN PROPELLER SHAFT RUNOUT

Check propeller shaft runout at measuring points with a dial indicator. If runout exceeds specifications, replace propeller shaft assembly. For measuring point, refer to Inspection (NHPC).

NNDID0015ZZ.JPG

Limit
Main propeller shaft runout
: Refer to Propeller Shaft Runout (NHPC).

 
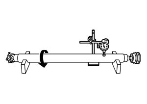
 JOURNAL AXIAL PLAY

  • Check the play by moving the joint of the main propeller shaft in the direction shown by the arrow in the figure. Replace the main propeller shaft assembly if necessary.
    PDA0005D.JPG

    Standard
    Journal axial play
    : Refer to Journal Axial Play (NHPC).

  • Check the main propeller shaft for bend and damage. Replace the main propeller shaft assembly if necessary.
    ■ CAUTION ■
    Never disassemble the joint.