 REMOVAL
1.Set the vehicle to the straight-ahead position.
2.Fix the steering wheel.
3.Remove the heat insulator. Refer to Exploded View.
4.Remove lower joint fixing bolt (steering gear side).
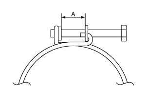
5.Separate the lower shaft from the steering gear assembly by sliding the slide shaft (A: sliding range).

■ CAUTION ■ Spiral cable may be cut if steering wheel turns while separating steering column assembly and steering gear assembly. Always fix the steering wheel using string to avoid turning.
6.Remove the hole cover mounting nuts.
7.Remove the upper joint fixing bolt and nut (lower shaft side).
8.Remove the lower shaft and hole cover.
9.Remove collar, hole cover seal, clamp and hole cover.
 INSTALLATION
Note the following, and install in the reverse order of removal. ■ CAUTION ■ Spiral cable may be cut if steering wheel rotates while separating steering column assembly and steering gear assembly. Always fix the steering wheel using string to avoid turning.
|