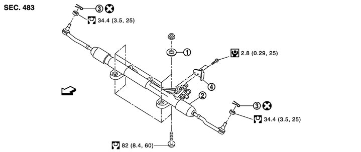
REMOVAL


JSGIA0419GB.JPG

1.
Spacer
2.
Steering gear assembly
3.
Cotter pin
4.
Heat insulator




: Vehicle front
Refer to Components for symbols in the figure.

 
 DISASSEMBLY


JSGIA0420GB.JPG

1.
Rear cover cap
2.
Power steering solenoid valve
3.
Gear-sub assembly
4.
O-ring
5.
Low pressure piping
6.
Adjusting screw
7.
Spring
8.
Retainer
9.
Gear housing assembly
10.
Boot clamp (stainless wire)
11.
Spacer
12.
Inner socket
13.
Boot
14.
Boot clamp
15.
Outer socket lock nut
16.
Outer socket
17.
Cylinder tubes
18.
Copper washer
: Apply power steering fluid.
1: Apply Genuine High Performance Thread Sealant or equivalent. Refer to Recommended Chemical Products and Sealants.
2:Apply Genuine Medium Strength Thread Locking Sealant or equivalent. Refer to Recommended Chemical Products and Sealants
: Apply multi-purpose grease.
Refer to Components for symbols not described on the above.